LEMON Manuals: Even more car manuals for everyone: 1960-2025
Home >> Ford >> 2003 >> ZX2 Standard >> Repair and Diagnosis >> External Pages >> Different car >> Section 342 (Automatic Transmission - LS) >> Diagnosis And Testing >> Transmission Connector Layouts >> Connector Reference and Terminal Readings >> Powertrain Control Module (PCM) C175b
April 5, 2026: LEMON Manuals is launched! Read the announcement.

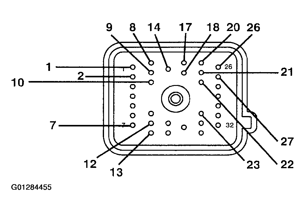
Powertrain Control Module (PCM) C175b

WARNING: This page is about a different car, the 2003 Lincoln LS. However, it is still accessible from the selected car via links, so may be relevant.
Fig 1: Identifying Powertrain Control Module (PCM) C175b Connector
G01284455Courtesy of FORD MOTOR CO.
Fig 2: Connector Pins Description Chart
G01284456Courtesy of FORD MOTOR CO.