LEMON Manuals: Even more car manuals for everyone: 1960-2025
Home >> Ford >> 2003 >> ZX2 Standard >> Repair and Diagnosis >> External Pages >> Different variant/trim >> Section 2 (Automatic Transaxle/Transmission) >> Assembly >> Transmission >> Procedure
April 5, 2026: LEMON Manuals is launched! Read the announcement.

Section 2 (Automatic Transaxle/Transmission): Assembly: Transmission: Procedure

WARNING: This page is about a different variant/trim than selected.
CAUTION: If the clutch plates or the intermediate band are replaced, soak the new parts in the specified automatic transmission fluid (ATF) for at least two hours before assembly. Apply the specified ATF to all seal rings, rotating parts, O-rings and sliding parts.
NOTE: Clean all bearings thoroughly in solvent and blow dry with compressed air. Inspect the bearings for pitting and rough operation. Replace as necessary.
NOTE: All O-rings, seals, and gaskets must be replaced with new ones.
  1. Prior to installation, inspect the transmission case for damage, cracks, or wear. Replace as necessary.
  2. Use (A) Valve Body Guide Pins to align the torque converter stator support. Use (B) Step Plate to press the (C) torque converter stator support into the converter housing.
    Fig 1: Aligning Torque Converter Stator Support
    G01372108Courtesy of FORD MOTOR CO.
  3. Use (A) Driver Handle and (B) Bearing Cup Replacer to install the bearing cup into the converter housing.
    Fig 2: Installing Bearing Cup Into Converter Housing
    G01372109Courtesy of FORD MOTOR CO.
  4. NOTE: Tighten the torque converter stator support bolts evenly and gradually.
    Fig 3: Installing Bearing Cover Bolts
    G01372110Courtesy of FORD MOTOR CO.
  5. Install the eight bearing cover bolts.
  6. Install the (A) idler gear (7F475) and (B) output shaft (7060) as an assembly.
    • Install the idler gear and output shaft by tapping them in with a plastic hammer.
    Fig 4: Installing Idler Gear And Output Shaft
    G01372111Courtesy of FORD MOTOR CO.
  7. NOTE: Tighten the bearing housing bolts evenly and gradually.
    Fig 5: Installing Bearing Housing Onto Converter Housing
    G01372112Courtesy of FORD MOTOR CO.
  8. Install the bearing housing onto the converter housing.
    1. Install the bearing housing onto the converter housing.
    2. Install the bolts.
  9. Install a new bearing housing roll pin.
    • Align the holes on the idler gear shaft with the mark on the bearing housing. Tap the roll pin in using a 5/32 inch pin punch and hammer.
    Fig 6: Installing Bearing Housing Roll Pin
    G01372113Courtesy of FORD MOTOR CO.
  10. Install the differential (4026).
    Fig 7: Installing Differential
    G01372114Courtesy of FORD MOTOR CO.
  11. NOTE: Move the manual shaft and verify that the parking pawl operates.
    Fig 8: Installing Parking Pawl Assembly
    G01372115Courtesy of FORD MOTOR CO.
    • Install the parking pawl (7A441) assembly.
    1. Install the parking pawl.
    2. Install the parking pawl shaft (7D071).
    3. Install the parking pawl return spring (7D070).
    4. Install the parking pawl shaft E-clip.
  12. NOTE: Do not compress the orifice check spring when measuring it with vernier calipers.
    NOTE: The orifice check spring has 10.1 coils.
    Fig 9: Measuring Free Length Of Orifice Check Spring
    G01372116Courtesy of FORD MOTOR CO.
  13. Measure the free length of the orifice check spring and check for deformation.
    • If not within specification, replace the orifice check spring.
  14. Assemble the orifice valve.
    1. Slide the washer onto the orifice holder.
    2. Slide on the orifice check spring.
    3. Slide on the orifice valve.
    Fig 10: Assembling Orifice Valve
    G01372117Courtesy of FORD MOTOR CO.
  15. Install the orifice valve in the transmission case.
    Fig 11: Installing Orifice Valve In Transmission Case
    G01372118Courtesy of FORD MOTOR CO.
  16. Install the detent lever spring and actuator support.
    1. Install the actuator support.
    2. Install new actuator support bolts.
    3. Install the detent lever spring.
    Fig 12: Installing Detent Lever Spring And Actuator Support
    G01372119Courtesy of FORD MOTOR CO.
  17. Install the detent lever. Attach the detent lever spring to the detent lever.
    Fig 13: Attaching Detent Lever Spring To Detent Lever
    G01372120Courtesy of FORD MOTOR CO.
  18. Install the manual shaft plate and the lever holder.
    1. Install the lever holder.
    2. Install the manual shaft plate.
    3. Install the lever holder nut.
    Fig 14: Installing Manual Shaft Plate And Lever Holder
    G01372121Courtesy of FORD MOTOR CO.
  19. Install the manual shaft.
    • Push the manual shaft into the manual shaft plate.
    Fig 15: Installing Manual Shaft
    G01372122Courtesy of FORD MOTOR CO.
  20. Install the manual shaft washer and nut.
    Fig 16: Installing Manual Shaft Washer And Nut
    G01372123Courtesy of FORD MOTOR CO.
  21. Install the output shell. Set the thrust bearing onto the output shell.
    • The output shell thrust washer outer diameter is 72.1 mm (2.84 in).
    Fig 17: Installing Output Shell
    G01372124Courtesy of FORD MOTOR CO.
  22. Apply a small bead of Silicone Gasket and Sealant to the surfaces of the (A) converter housing and transmission case. Carefully install new (B) O-rings.
    Fig 18: Applying Silicone Gasket And Sealant
    G01372125Courtesy of FORD MOTOR CO.
  23. NOTE: Tighten the transmission bolts evenly and gradually.
    Fig 19: Tightening Transmission Bolts
    G01372126Courtesy of FORD MOTOR CO.
  24. Attach the transmission case to the converter housing and install the transmission case bolts.
  25. Install Turbine Shaft Holder.
    Fig 20: Installing Turbine Shaft Holder
    G01372127Courtesy of FORD MOTOR CO.
  26. Install the (A) turbine shaft and direct clutch assembly with the (B) thrust bearing between the direct clutch and output shell.
    • Assemble the turbine shaft and direct clutch assembly.
    • Install the turbine shaft and direct clutch assembly into the transmission case.
    Fig 21: Assembling Turbine Shaft And Direct Clutch Assembly
    G01372128Courtesy of FORD MOTOR CO.
  27. Install the ring gear to the output shell.
    • Install the ring gear with the external gear side down.
    Fig 22: Installing Ring Gear To Output Shell
    G01372129Courtesy of FORD MOTOR CO.
  28. Install the ring gear retainer snap ring.
    Fig 23: Installing Ring Gear Retainer Snap Ring
    G01372130Courtesy of FORD MOTOR CO.
  29. NOTE: Install the carrier hub into the 3-4 clutch cylinder by rotating it to align the carrier hub with the 3-4 clutch pack.
    NOTE: Hold the turbine shaft with one hand to keep it from rotating while installing the carrier hub.
    Fig 24: Installing Carrier Hub Assembly
    G01372131Courtesy of FORD MOTOR CO.
  30. Install the carrier hub assembly.
    1. Use petroleum jelly to install the thrust washer to the carrier hub assembly.
    2. Install the thrust bearing between the carrier hub assembly and the direct clutch assembly.
    3. Install the carrier hub assembly.
  31. Install the (A) low/reverse clutch pressure plate and the (B) low/reverse clutch disc pack.
    Fig 25: Installing Clutch Pressure Plate And Clutch Disc Pack
    G01372132Courtesy of FORD MOTOR CO.
  32. Install the low/reverse clutch pressure plate snap ring.
    Fig 26: Installing Low/Reverse Clutch Pressure Plate Snap Ring
    G01372133Courtesy of FORD MOTOR CO.
  33. Install the wave washer.
    Fig 27: Installing Wave Washer
    G01372134Courtesy of FORD MOTOR CO.
  34. CAUTION: The one-way clutch can be installed improperly. Be certain that after installing the one-way clutch, you can rotate the carrier by hand in a counterclockwise direction while working from the rear side of the transmission. If the one-way clutch is installed improperly, gear ranges may not function or the gear train may lock up. This may cause overheating of the transmission and unnecessary overhauling of the unit.
    Fig 28: Installing One-Way Clutch
    G01372135Courtesy of FORD MOTOR CO.
  35. Install the one-way clutch horizontally. Use the rear sun gear to rotate the carrier counterclockwise while installing the one-way clutch.
  36. Install the one-way clutch and one-way clutch retaining snap ring.
    Fig 29: Install one-way clutch and one-way clutch retaining snap ring
    G01372136Courtesy of FORD MOTOR CO.
  37. Install the servo assembly and the servo piston snap ring.
    Fig 30: Installing Servo Assembly And Servo Piston Snap Ring
    G01372137Courtesy of FORD MOTOR CO.
  38. Adjust the servo piston stem.
    1. Mark the servo piston stem at the point that it exits the transmission case.
    2. Apply compressed air through the fluid passage. If the stroke exceeds 1.0-1.7 mm (0.0394-0.0669 in) replace it with the appropriate length servo piston stem. Refer to the figure below.

    Servo Piston Stem Lengths 

    Fig 31: Servo Piston Stem Length Specifications (1 Of 2)
    G01372138Courtesy of FORD MOTOR CO.
    Fig 32: Servo Piston Stem Length Specifications (2 Of 2)
    G01372139Courtesy of FORD MOTOR CO.
    Fig 33: Adjusting Servo Piston Stem
    G01372140Courtesy of FORD MOTOR CO.
  39. Install the (A) anchor strut and the (B) anchor strut shaft into the transmission case.
    Fig 34: Installing Anchor Strut And Anchor Strut Shaft Into Transmission Case
    G01372141Courtesy of FORD MOTOR CO.
  40. Install the 2-4 band into the transmission.
    • Interlock one end of the 2-4 band and the anchor strut.
    • Interlock the other end of the 2-4 band to the servo apply pin.
    Fig 35: Installing 2-4 Band Into Transmission
    G01372142Courtesy of FORD MOTOR CO.
  41. NOTE: Use petroleum jelly to hold the thrust bearing and thrust washer in position.
    Fig 36: Installing Primary Sun Gear And One-Way Clutch Assembly
    G01372143Courtesy of FORD MOTOR CO.
  42. Install the (A) primary sun gear and one-way clutch assembly.
    • Verify that the (B) thrust bearing and the (C) thrust washer are installed in the correct positions.
    • Install the primary sun gear and one-way clutch assembly while rotating it.
  43. Install the (A) forward/coast/reverse clutch assembly.
    • Verify that the (B) thrust bearing is installed in the correct position.
    • Install the forward and reverse clutch drum assembly while rotating it.
    Fig 37: Installing Forward/Coast/Reverse Clutch Assembly
    G01372144Courtesy of FORD MOTOR CO.
  44. Rotate the rear sun gear, the one-way clutch, and the reverse clutch drum assembly to line up to the clutch pack and gears.
  45. Carefully install the turbine shaft snap ring into the bottom ring groove of the turbine shaft.
    Fig 38: Installing Turbine Shaft Snap Ring Into Bottom Ring Groove Of Turbine Shaft
    G01372145Courtesy of FORD MOTOR CO.
  46. Remove Turbine Shaft Holder.
    Fig 39: Removing Turbine Shaft Holder
    G01372146Courtesy of FORD MOTOR CO.
  47. NOTE: If the clearance is greater than the specification, recheck/reassemble the clutch pack(s) as needed.
    Fig 40: Measuring Height Difference
    G01372147Courtesy of FORD MOTOR CO.
  48. Measure the height difference between the reverse clutch drum and the transmission case.
  49. NOTE: Use petroleum jelly to hold the thrust bearing in position.
    Fig 41: Installing Reverse Clutch Drum Thrust Bearing
    G01372148Courtesy of FORD MOTOR CO.
  50. Install the reverse clutch drum thrust bearing.
  51. Set the thickest thrust washer, 2.2 mm (0.087 in) onto the oil pump. Set the oil pump onto the forward/coast/reverse clutch drum assembly.
    Fig 42: Assembling Oil Pump Onto Forward/Coast/Reverse Clutch Drum Assembly
    G01372149Courtesy of FORD MOTOR CO.
  52. NOTE: Take several measurements and calculate the average value.
    Fig 43: Thrust Washer Chart (1 Of 2)
    G01372150Courtesy of FORD MOTOR CO.
    Fig 44: Thrust Washer Chart (2 Of 2)
    G01372151Courtesy of FORD MOTOR CO.
    Fig 45: Measuring Clearance Between Transmission Case And Oil Pump (1 Of 2)
    G01372152Courtesy of FORD MOTOR CO.
    Fig 46: Measuring Clearance Between Transmission Case And Oil Pump (2 Of 2)
    G01372153Courtesy of FORD MOTOR CO.
  53. Use the following procedure to adjust the total end play and select a suitable bearing race.
    • Measure the clearance between the transmission case and the oil pump. Select a suitable thrust washer from the following chart:

    Thrust Washer Chart 

  54. Remove the oil pump.
  55. NOTE: Use petroleum jelly to hold the thrust washer in position.
    Fig 47: Placing Thrust Washer And Oil Pump Gasket Onto Oil Pump
    G01372154Courtesy of FORD MOTOR CO.
  56. Place the selected (A) thrust washer and a new (B) oil pump gasket onto the oil pump.
  57. NOTE: Tighten the oil pump bolts evenly and gradually in a crosshatch pattern.
    Fig 48: Installing Oil Pump Onto Forward And Reverse Clutch Drum Assembly
    G01372155Courtesy of FORD MOTOR CO.
  58. Install the oil pump onto the forward and reverse clutch drum assembly.
  59. Install the (A) solenoid connector with a new O-ring in the transmission case, then connect the (B) solenoid electrical connector.
    Fig 49: Installing Solenoid Connector With O-Ring In Transmission Case
    G01372156Courtesy of FORD MOTOR CO.
  60. Position the main valve body to the transmission case. Align the (A) manual valve with the (B) pin on the manual valve detent lever.
    Fig 50: Aligning Manual Valve With Pin On Manual Valve Detent Lever
    G01372157Courtesy of FORD MOTOR CO.
  61. NOTE: Tighten the main control valve body bolts evenly and gradually.
    Fig 51: Tightening Main Control Valve Body Bolts
    G01372158Courtesy of FORD MOTOR CO.
  62. Install the main control valve body bolts and a new filter. Connect the solenoid electrical connectors.
    • Bolt length (measured from below the head)
    • A: 30 mm (1.18 in).
    • C: 50 mm (1.97 in).
  63. Install the EPC solenoid.
    1. Install the EPC solenoid.
    2. Install the bolt.
    Fig 52: Installing EPC Solenoid
    G01372159Courtesy of FORD MOTOR CO.
  64. NOTE: Tighten the transmission oil pan bolts evenly and gradually.
    NOTE: Apply a thin coat of Silicone Gasket and Sealant F6AZ-19562-AA or equivalent meeting Ford specification WSE-M4G323-A6 to each side of the new gasket.
    Fig 53: Installing Oil Pan And New Oil Pan Gasket
    G01372160Courtesy of FORD MOTOR CO.
  65. Install the oil pan and new oil pan gasket.
  66. Install the turbine shaft speed (TSS) sensor.
    1. Install the sensor.
    2. Install the bolt.
    Fig 54: Installing Turbine Shaft Speed Sensor
    G01372161Courtesy of FORD MOTOR CO.
  67. Install the vehicle speed sensor (VSS).
    Fig 55: Installing Vehicle Speed Sensor
    G01372162Courtesy of FORD MOTOR CO.
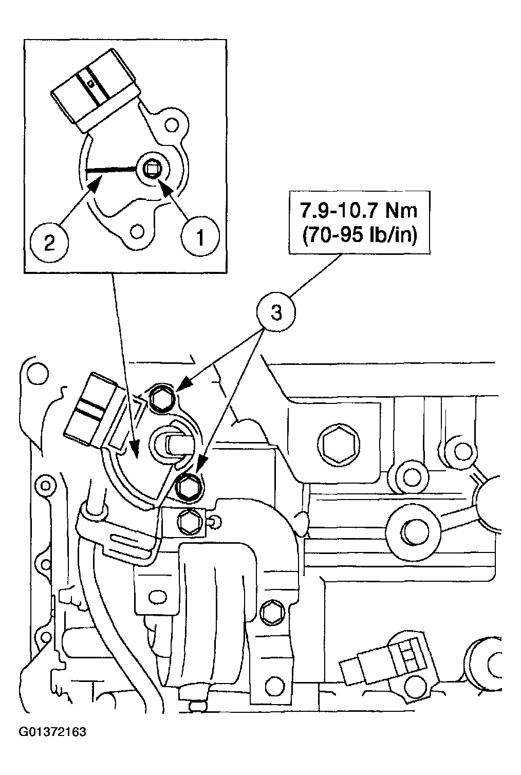
  68. Install the transmission range (TR) sensor.
    1. Rotate the manual shaft to the N position.
    2. Turn the TR sensor so that the Neutral mark is in line with the flat, straight surfaces on either side of the manual shaft.
    3. Hand-tighten the TR sensor, then tighten the TR sensor mounting bolts.
    Fig 56: Installing Transmission Range Sensor
    G01372163Courtesy of FORD MOTOR CO.
  69. Install the manual shaft lever.
    1. Position the manual shaft lever.
    2. Install the spring washer and manual control lever nut.
    Fig 57: Installing Manual Shaft Lever
    G01372164Courtesy of FORD MOTOR CO.
  70. Install a new O-ring on the fluid filler tube, then install the fluid filler tube and dipstick assembly.
    Fig 58: Installing Fluid Filler Tube And Dipstick Assembly
    G01372165Courtesy of FORD MOTOR CO.
  71. Install the fluid cooler line.
    1. Install the check ball.
    2. Install the drain back valve spring.
    3. Install the fluid cooler line washers.
    4. Install the fluid cooler line bolt.
    5. Install the fluid cooler line nut.
    Fig 59: Installing Fluid Cooler Line
    G01372166Courtesy of FORD MOTOR CO.
  72. Install the oil pump shaft.
    Fig 60: Installing Oil Pump Shaft
    G01372167Courtesy of FORD MOTOR CO.
  73. Install a new converter turbine shaft seal on the turbine shaft.
    • The converter turbine shaft seal inner diameter is 20 mm (0.787 in).
    Fig 61: Installing Converter Turbine Shaft Seal On Turbine Shaft
    G01372168Courtesy of FORD MOTOR CO.
  74. CAUTION: If a new torque converter is being installed or the torque converter has been drained and washed, pour 0.5L (0.53 qt) of Motorcraft MERCON® Multi-Purpose Automatic Transmission Fluid XT-2-QDX or equivalent meeting Ford specification MERCON into the torque converter before installation. Hold the torque converter in an erect position when filling it with Motorcraft MERCON® Multi-Purpose Automatic Transmission Fluid XT-2-QDX or equivalent meeting Ford specification MERCON.
    NOTE: The torque converter should slide into the transmission easily. Do not force the torque converter into the transmission.
    Fig 62: Installing Torque Converter Into Converter Housing
    G01372169Courtesy of FORD MOTOR CO.
  75. Install the torque converter into the converter housing while rotating it to align the splines.
  76. To ensure that the torque converter is installed properly, measure the distance between the torque converter and the edge of the converter housing.
    Fig 63: Measuring Distance Between Torque Converter And Edge Of Converter Housing
    G01372170Courtesy of FORD MOTOR CO.
  77. Remove the transmission from Bench Mounted Holding Fixture.
    Fig 64: Removing Transmission From Bench Mounted Holding Fixture
    G01372171Courtesy of FORD MOTOR CO.