LEMON Manuals: Even more car manuals for everyone: 1960-2025
Home >> Ford >> 2004 >> Crown Victoria Base, 4.6 9 >> Repair and Diagnosis >> Transmission >> Automatic Trans >> Automatic Transmission >> In-Vehicle Repair >> Main Control Valve Body >> Installation
April 5, 2026: LEMON Manuals is launched! Read the announcement.

Main Control Valve Body: Installation

    NOTE: Make sure that the drive pin of the manual valve detent lever assembly engages the manual valve in the correct location prior to installing the bolts.
    Fig 1: Positioning Main Control Valve Body Gasket And Main Control Valve Body
    G02757595Courtesy of FORD MOTOR CO.
  1. Position the main control valve body gasket and main control valve body using the two alignment bolts as a guide.
  2. NOTE: The main control valve body bolts will be tightened in later steps.
    Fig 2: Installing Bolts (Loosely)
    G02757596Courtesy of FORD MOTOR CO.
  3. Loosely install the bolts.
  4. NOTE: The main control valve body bolts will be tightened in later steps.
    Fig 3: Installing Bolts
    G02757597Courtesy of FORD MOTOR CO.
  5. Loosely install the bolts.
  6. Install the manual control valve detent lever spring.
    1. Position the manual control valve detent lever spring.
    2. Install the bolt.
    Fig 4: Installing Manual Control Valve Detent Lever Spring
    G02757598Courtesy of FORD MOTOR CO.
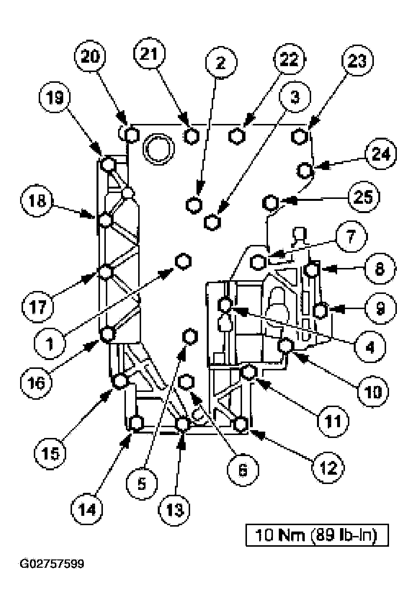
  7. Tighten the main control valve body bolts in the sequence shown.
    Fig 5: Tightening Main Control Valve Body Bolts
    G02757599Courtesy of FORD MOTOR CO.
  8. Inspect the lead frame for damage.
    • Using the special tool, check all the lead frame solenoid connections. The gauge should fit tightly and not fall out after being inserted.
    • If the special tool passes through any lead frame connector pins or does not feel like it makes a good contact, install a new lead frame.
    Fig 6: Checking Lead Frame Solenoid Connections
    G02757600Courtesy of FORD MOTOR CO.
  9. Connect the molded lead frame to the solenoids.
    • Connect the bulkhead inter-connector by pressing it in place by hand and fully seating the connector in place.
    • Connect the EPC solenoid by pressing it in place by hand and fully seating the connector in place. Make sure that the terminals pass fully through the connector slots.
    • Connect the TCC by pressing it in place by hand and fully seating the connector in place. Make sure that the terminals pass fully through the connector slots.
    • Connect the shift solenoid SSA and SSB by pressing it in place by hand and fully seating the connector in place. Make sure that the terminals pass fully through the connector slots.
    Fig 7: Connecting Molded Lead Frame To Solenoids
    G02757601Courtesy of FORD MOTOR CO.
  10. Install the transmission fluid pan and filter. For additional information, REFER to FLUID PAN, GASKET AND FILTER .