LEMON Manuals: Even more car manuals for everyone: 1960-2025
Home >> Ford >> 2004 >> Crown Victoria V8-4.6L VIN W >> Repair and Diagnosis >> Heating and Air Conditioning >> Control Assembly >> Service and Repair >> Climate Control Assembly >> Manual A/C
April 5, 2026: LEMON Manuals is launched! Read the announcement.

Manual A/C

CLIMATE CONTROL ASSEMBLY - MANUAL A/C

REMOVAL







1. Remove the finish panel.







2. Disconnect the connector.







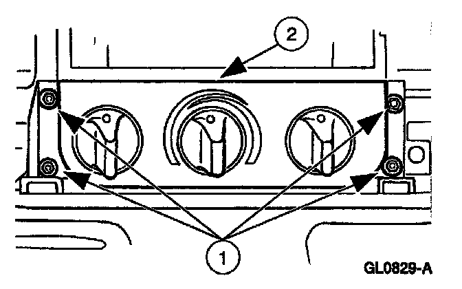
3. Remove the climate control head.
1 Remove the screws.
2 Remove the climate control head.







4. Disconnect the climate control assembly.
1 Disconnect the electrical connectors.
2 Disconnect the vacuum line connector.

INSTALLATION
1. To install, reverse the removal procedure.