LEMON Manuals: Even more car manuals for everyone: 1960-2025
Home >> Ford >> 2004 >> Crown Victoria V8-4.6L VIN W >> Repair and Diagnosis >> Relays and Modules >> Relays and Modules - Powertrain Management >> Relays and Modules - Computers and Control Systems >> Body Control Module >> Service and Repair >> Driver Door (DDM) Module
April 5, 2026: LEMON Manuals is launched! Read the announcement.

Driver Door (DDM) Module

MODULE - DRIVER DOOR (DDM)

REMOVAL

1. CAUTION: Prior to removal of the driver door module (DDM), it is necessary to upload module configuration information to a diagnostic tool. This information needs to be downloaded into the new module once installed.

Disconnect the battery ground cable.

2. Remove the driver door trim panel.







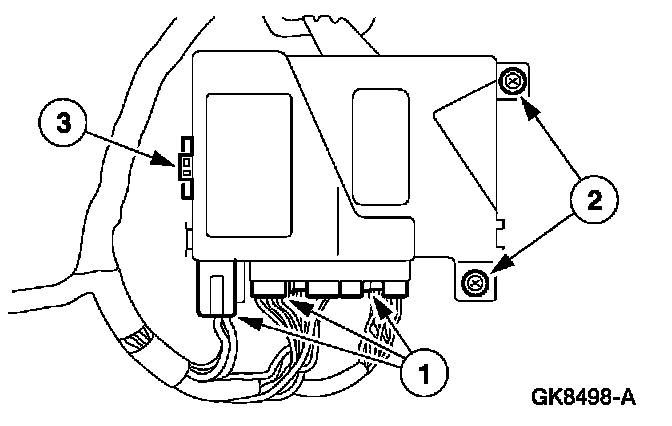
3. Remove the driver door module (DDM).
1 Disconnect the electrical connector.
2 Remove the screws.
3 Release the locking tab.

INSTALLATION

1. CAUTION: Once the new DDM is installed, it is necessary to download the module configuration information from the diagnostic tool into the new module.

To install, reverse the removal procedure.
- Check for correct operation.