LEMON Manuals: Even more car manuals for everyone: 1960-2025
Home >> Ford >> 2004 >> E 450 V10-6.8L VIN S >> Repair and Diagnosis >> Relays and Modules >> Relays and Modules - Powertrain Management >> Relays and Modules - Computers and Control Systems >> Engine Control Module >> Service and Repair
April 5, 2026: LEMON Manuals is launched! Read the announcement.

Engine Control Module: Service and Repair

POWERTRAIN CONTROL MODULE (PCM)

REMOVAL
1. Disconnect the battery ground cable.
2. Remove the air cleaner assembly.







3. Disconnect the powertrain control module (PCM) electrical connector.







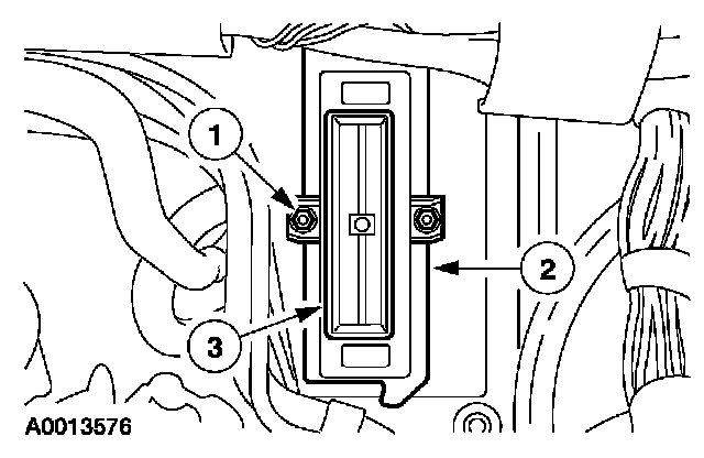
4. Remove the PCM.
1 Remove the nuts.
2 Remove the cover.
3 Remove the PCM.

INSTALLATION
1. To install, reverse the removal procedure.