LEMON Manuals: Even more car manuals for everyone: 1960-2025
Home >> Ford >> 2004 >> Escape 2.0 B >> Repair and Diagnosis >> Engine Mechanical >> Mechanical >> Engine-2.0L ZETEC >> Assembly >> Engine
April 5, 2026: LEMON Manuals is launched! Read the announcement.

Engine-2.0L ZETEC: Assembly: Engine

Fig 1: Identifying Special Tools (1 Of 2)
G02739030Courtesy of FORD MOTOR CO.
Fig 2: Identifying Special Tools (2 Of 2)
G02739031Courtesy of FORD MOTOR CO.
WARNING: Eye protection is required to be worn during use of compressed air. Failure to follow these instructions could result in possible personal injury.
CAUTION: The engine sealing surfaces are soft metals. Do not use abrasive grinding discs to remove gasket material, only use manual scrapers. Do not scratch or gouge sealing surfaces or oil leaks may occur.
  1. Carefully clean and dry the cylinder block.
    • Clean gasket material, dirt and foreign material from the cylinder block.
    • Wash the cylinder block with a suitable soap and water solution.
    • Dry the cylinder block completely using compressed air.
  2. Install the Woodruff key.
    Fig 3: Installing Woodruff Key
    G02739032Courtesy of FORD MOTOR CO.
  3. Install the upper crankshaft main bearings, the upper crankshaft thrust main bearing and the lower crankshaft main bearings.
    Fig 4: Installing Upper Crankshaft Main Bearings, Thrust Main Bearing And Lower Crankshaft Main Bearings
    G02739033Courtesy of FORD MOTOR CO.
  4. NOTE: Apply a light coat of Super Premium SAE 5W-20 Motor Oil or equivalent meeting Ford specification WSS-M2C153-H to the crankshaft bearings and journals.
    Fig 5: Installing Crankshaft
    G02739034Courtesy of FORD MOTOR CO.
  5. Position the crankshaft.
  6. Determine crankshaft main bearing clearance. For additional information, refer to Select Fit Method in ENGINE SYSTEM-GENERAL INFORMATION .
  7. CAUTION: Make sure the main bearing caps are installed in their original position or engine damage may occur.
    NOTE: Apply a light coat of Super Premium SAE 5W-20 Motor Oil or equivalent meeting Ford specification WSS-M2C153-H to the crankshaft bearings and journals.
    Fig 6: Installing Main Bearing Caps
    G02739035Courtesy of FORD MOTOR CO.
  8. Install the main bearing caps.
  9. Tighten the bolts using the sequence shown in two stages.
    • Stage 1: Tighten the bolts to 25 Nm (18 lb-ft).
    • Stage 2: Tighten the bolts an additional 60 degrees.
    Fig 7: Identifying Tightening Sequence Of Crankshaft Main Bearing Cap Bolts
    G02739036Courtesy of FORD MOTOR CO.
  10. Rotate the crankshaft and inspect for excessive drag or binding.
    Fig 8: Rotating Crankshaft
    G02739037Courtesy of FORD MOTOR CO.
  11. Inspect the crankshaft end play. For additional information, refer to ENGINE SYSTEM-GENERAL INFORMATION .
  12. CAUTION: PIP mark on pistons and squirt groove on connecting rods must be located on the intake side of the engine or possible engine damage may occur.
    CAUTION: Use care when installing piston and connecting rod assemblies. Do not scratch the cylinder walls or the crankshaft journals or engine damage may occur.
    CAUTION: The arrow on the piston must point toward the front of the engine or engine damage may occur.
    NOTE: Lubricate the cylinder block, piston rings and connecting rod prior to installation with Super Premium SAE 5W-20 Motor Oil or equivalent meeting Ford Specification WSS-M2C153-H.
    Fig 9: Installing Piston And Connecting Rod Assemblies
    G02739038Courtesy of FORD MOTOR CO.
  13. Using the special tools, install the four piston and connecting rod assemblies.
  14. CAUTION: Connecting rods and connecting rod caps must be correctly oriented, the interlocking tangs on the same side of the connecting rod or possible engine damage may occur.
    NOTE: Turn the crankshaft each time to install the connecting rod caps.
    Fig 10: Fitting Connecting Rod Bearing
    G02739039Courtesy of FORD MOTOR CO.
  15. Fit the connecting rod bearing.
    • Install the four upper and the four lower connecting rod bearings.
    • Inspect the connecting rod bearing to the crankshaft clearance. For additional information, refer to ENGINE SYSTEM-GENERAL INFORMATION .
  16. CAUTION: Connecting rods and connecting rod caps must be correctly oriented, and the interlocking tangs on the same side of the connecting rod or possible engine damage may occur.
    NOTE: Lubricate the connecting rod bearings and the crankshaft journals prior to installation with Super Premium SAE 5W-20 Motor Oil or equivalent meeting Ford specification WSS-M2C153-H.
    NOTE: Rotate the crankshaft after installing each connecting rod cap and inspect for excess drag or binding.
    Fig 11: Installing Connecting Rod Caps
    G02739040Courtesy of FORD MOTOR CO.
  17. Install the connecting rod caps.
    • Install new bolts and tighten in two stages:
    • Stage 1: Tighten to 35 Nm (26 lb-ft).
    • Stage 2: Tighten an additional 90 degrees.
  18. NOTE: The clearance between the lower cylinder block sealing surfaces on the crankshaft rear oil seal retainer and the crankshaft cannot exceed 0.5 mm (0.02 in).
    Fig 12: Installing Crankshaft Rear Oil Seal Retainer Bolts
    G02739041Courtesy of FORD MOTOR CO.
  19. Install a new gasket, the crankshaft rear oil seal retainer and tighten the bolts in two stages:
    • Stage 1: Tighten to 12 Nm (9 lb-ft)
    • Stage 2: Tighten an additional 45 degrees.
  20. NOTE: The clearance between the lower cylinder block sealing surfaces on the oil pump and the cylinder block cannot exceed 0.8 mm (0.031 in).
    Fig 13: Tightening Oil Pump Bolts
    G02739042Courtesy of FORD MOTOR CO.
  21. Install a new gasket, the oil pump and tighten the bolts in two stages:
    • Stage 1: Tighten to 6 Nm (53 lb-in).
    • Stage 2: Tighten an additional 45 degrees.
  22. NOTE: Lubricate the crankcase flange and the crankshaft front oil seal bore with Super Premium SAE 5W-20 Motor Oil or equivalent meeting Ford specification WSS-M2C153-H prior to installing the crankshaft front seal or damage to the crankshaft front seal may occur.
    Fig 14: Installing New Crankshaft Front Seal
    G02739043Courtesy of FORD MOTOR CO.
  23. Using the special tool, install a new crankshaft front seal.
  24. CAUTION: The lower engine block must be installed and the bolts tightened to specification within four minutes of sealant application or possible leakage may occur.
    NOTE: Apply a 3 mm (0.1 inch) bead of Silicone Gasket and Sealant F7AZ-19554-EA or equivalent meeting Ford specification WSE-M4G323-A4 sealer in four places where the oil seal retainers meet the cylinder block.
    Fig 15: Tightening Sequence & Torque Specification Of Lower Cylinder Block Bolts
    G02739044Courtesy of FORD MOTOR CO.
  25. Install a gasket and the lower cylinder lock. Tighten the bolts using the sequence shown.
  26. Install the oil pump cover and screen.
    • Install new oil pump inlet tube gasket.
    Fig 16: Installing Oil Pump Cover And Screen Bolts Torque Specification
    G02739045Courtesy of FORD MOTOR CO.
  27. NOTE: The oil pan must be installed and the bolts tightened to specification within seven minutes of sealer application or oil leaks may occur.
    NOTE: Apply a 3 mm (0.1 inch) continuous bead of Silicone Gasket and Sealant F7AZ-19554-EA or equivalent meeting Ford specification WSE-M4G323-A4 to the oil pan.
    Fig 17: Identifying Tightening Sequence Of Oil Pan Bolts
    G02739046Courtesy of FORD MOTOR CO.
  28. Install the oil pan. Tighten the bolts in two stages using the sequence shown.
    • Stage 1: Tighten to 6 Nm (53 lb-in).
    • Stage 2: Tighten to 12 Nm (9 lb-ft).
  29. Install a new head gasket on the cylinder block.
  30. CAUTION: The bolts are torque-to-yield and new bolts must be installed or engine damage may occur.
    Fig 18: Identifying Tightening Sequence Of Cylinder Head Bolts
    G02739047Courtesy of FORD MOTOR CO.
  31. Install the cylinder head and tighten the bolts in three stages using the sequence shown.
    • Stage 1: Tighten the bolts to 20 Nm (15 lb-ft).
    • Stage 2: Tighten the bolts to 40 Nm (30 lb-ft).
    • Stage 3: Tighten the bolts an additional 90 degrees.
  32. Install the timing belt guide and crankshaft sprocket.
    Fig 19: Installing Timing Belt Guide And Crankshaft Sprocket
    G02739048Courtesy of FORD MOTOR CO.
  33. Install the oil cooler.
    • Install a new oil cooler gasket.
    Fig 20: Oil Cooler Bolt Torque Specification
    G02739049Courtesy of FORD MOTOR CO.
  34. Install the knock sensor.
    Fig 21: Knock Sensor Bolt Torque Specification
    G02739050Courtesy of FORD MOTOR CO.
  35. Install the block heater if equipped.
    Fig 22: Block Heater Bolt Torque Specification
    G02739051Courtesy of FORD MOTOR CO.
  36. Install the oil pressure sensor.
    Fig 23: Installing Oil Pressure Sensor Torque Specification
    G02739052Courtesy of FORD MOTOR CO.
  37. NOTE: Illustration shown with throttle body and fuel supply manifold removed for clarity.
    NOTE: Install new intake manifold gaskets if damaged.
    Fig 24: Tightening Sequence & Torque Specification Of Intake Manifold Bolts
    G02739053Courtesy of FORD MOTOR CO.
  38. Install the intake manifold and tighten using the sequence shown.
  39. Install the positive crankcase ventilation (PCV) tube.
    Fig 25: Positive Crankcase Ventilation (PCV) Tube Torque Specification
    G02739054Courtesy of FORD MOTOR CO.
  40. Install the thermostat housing.
    • Install a new O-ring seal if damaged.
    Fig 26: Installing Thermostat Housing Bolts Torque Specification
    G02739055Courtesy of FORD MOTOR CO.
  41. NOTE: The coil is shown removed for clarity.
    Fig 27: Coil And Coil Bracket Assembly Bolts Torque Specification
    G02739056Courtesy of FORD MOTOR CO.
  42. Install the coil and coil bracket assembly.
  43. Install the exhaust gas recirculation (EGR) tube.
    Fig 28: Installing Exhaust Gas Recirculation (EGR) Tube Bolts Torque Specification
    G02739057Courtesy of FORD MOTOR CO.
  44. Connect the EGR tube fitting.
    Fig 29: Connecting EGR Tube Fitting
    G02739058Courtesy of FORD MOTOR CO.
  45. Install the fuel charging wiring harness and connect the following electrical connectors:
    1. cylinder temperature sensor
    2. throttle position sensor
    3. wiring harness to vehicle
    4. idle air control valve
    5. camshaft position sensor
    6. fuel injectors
    Fig 30: Connecting Fuel Charging Wiring Harness And Electrical Connectors
    G02739059Courtesy of FORD MOTOR CO.
  46. Install the generator bracket.
    Fig 31: Generator Bracket Bolts Torque Specifications
    G02739060Courtesy of FORD MOTOR CO.
  47. Install the generator.
    Fig 32: Generator Bolts Torque Specification
    G02739061Courtesy of FORD MOTOR CO.
  48. Install the inner timing belt cover.
    Fig 33: Inner Timing Belt Cover Bolts Torque Specification
    G02739062Courtesy of FORD MOTOR CO.
  49. Loosely install the crankshaft pulley and rotate the crankshaft to just before top dead center (TDC) (No. 1 cylinder).
    Fig 34: Rotating Crankshaft To Just Before Top Dead Center (TDC) (No 1 Cylinder
    G02739063Courtesy of FORD MOTOR CO.
  50. Remove the stud.
    Fig 35: Removing Stud
    G02739064Courtesy of FORD MOTOR CO.
  51. Install the special tool.
    Fig 36: Installing Special Tool
    G02739065Courtesy of FORD MOTOR CO.
  52. NOTE: Make sure the correct (second) notch in the pulley is indexed to the lower cylinder block.
    Fig 37: Rotating Crankshaft Clockwise For Bringing No 1 Cylinder To TDC
    G02739066Courtesy of FORD MOTOR CO.
  53. Rotate the crankshaft clockwise against the peg to bring it to TDC (No. 1 cylinder).
    • Remove the crankshaft pulley.
  54. CAUTION: If valve tappets are being reused, the valve tappet must be installed in its original position or engine damage may occur.
    NOTE: Lubricate the valve tappets prior to installation with Super Premium SAE 5W-20 Motor Oil or equivalent meeting Ford specification WSS-M2C153-H.
    Fig 38: Installing Valve Tappets
    G02739067Courtesy of FORD MOTOR CO.
  55. Install the valve tappets.
  56. NOTE: Lubricate the camshaft bearing surfaces with Super Premium SAE 5W-20 Motor Oil or equivalent meeting Ford specification WSS-M2C153-H.
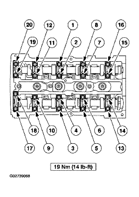
    Fig 39: Tightening Sequence & Torque Specification Of Camshaft Journal Caps Bolts
    G02739068Courtesy of FORD MOTOR CO.
  57. Install the camshafts.
    • Position the camshafts and camshaft journal caps.
    • Install the bolts and tighten the bolts in several two-turn passes using the sequence shown.
  58. NOTE: The front camshaft journal cap must be installed and the bolts tightened to specification within four minutes of sealer application or oil leaks may occur.
    Fig 40: Coating Sealing Surface Of Front Camshaft Journal Cap With Gasket Maker F8AZ-19B508-AB
    G02739069Courtesy of FORD MOTOR CO.
  59. Coat the sealing surface of the front camshaft journal cap with Gasket Maker F8AZ-19B508-AB or equivalent meeting Ford specification WSK-M2G348-A5.
  60. NOTE: The exhaust camshaft oil seal is shown, the intake seal is similar.
    Fig 41: Installing New Camshaft Front Oil Seals
    G02739070Courtesy of FORD MOTOR CO.
  61. Using the special tool, install new camshaft front oil seals.
  62. Install the camshaft sprockets and hand tighten the bolts.
    • Rotate the camshafts one full turn and inspect them for binding.
    Fig 42: Installing Camshaft Sprockets
    G02739071Courtesy of FORD MOTOR CO.
  63. Verify the valve clearance. For additional information, refer to VALVE - VALVE CLEARANCE, ADJUST .
  64. CAUTION: The camshaft alignment tool is not recommended to hold the camshafts in place when removing or tightening the sprocket bolts. Damage to camshaft may result.
    NOTE: Installation of the alignment tool into the exhaust camshaft may require the camshaft to be rotated slightly.
    Fig 43: Installing Special Tool Onto Back Of Camshafts
    G02739072Courtesy of FORD MOTOR CO.
  65. Install the special tool onto the back of the camshafts.
  66. Loosen the timing sprocket bolts and allow the camshaft sprockets to move freely.
    Fig 44: Loosening Timing Sprocket Bolts
    G02739073Courtesy of FORD MOTOR CO.
  67. Install the timing belt idler pulley.
    Fig 45: Timing Belt Idler Pulley Bolt Torque Specification
    G02739074Courtesy of FORD MOTOR CO.
  68. Install the coolant pump adapter.
    • Install a new gasket.
    Fig 46: Coolant Pump Adapter Bolts Torque Specification
    G02739075Courtesy of FORD MOTOR CO.
  69. NOTE: Make sure the correct (second) notch in the pulley is indexed to the lower cylinder block.
    Fig 47: Sliding Crankshaft Pulley Onto Crankshaft And Confirming Crankshaft Position At TDC (No. 1 Cylinder)
    G02739076Courtesy of FORD MOTOR CO.
  70. Slide the crankshaft pulley onto the crankshaft and confirm the crankshaft position is at TDC (No. 1 cylinder) by rotating it clockwise against the alignment peg.
    • Remove the crankshaft pulley.
  71. CAUTION: Do not rotate the crankshaft; as necessary check that it is still resting against the timing pin.
    NOTE: The lug of the belt tensioner should not be hooked in the sheet metal cover during timing belt installation.
    Fig 48: Installing New Timing Belt
    G02739077Courtesy of FORD MOTOR CO.
  72. Position a new timing belt in place.
    • Starting from the crankshaft timing belt pulley and working counterclockwise, position the timing belt in place while keeping it under tension.
  73. NOTE: Incorrect timing belt tension will cause incorrect valve timing.
    Fig 49: Pre-Tensioning Timing Belt
    G02739078Courtesy of FORD MOTOR CO.
  74. Pre-tension the timing belt.
    1. Rotate the tensioner locating tab counterclockwise and insert the locating tab into the slot in the rear timing cover.
    2. Position the hex key slot in the tensioner adjusting washer to the 4 o'clock position.
    3. Tighten the attaching bolt enough to seat the tensioner firmly against the rear timing cover, but still allow the tensioner adjusting washer to be rotated using a 6 mm hex key.
  75. CAUTION: Tension the timing belt, working counterclockwise.
    Fig 50: Rotating Adjusting Washer Counterclockwise
    G02739079Courtesy of FORD MOTOR CO.
  76. Using the hex key, rotate the adjusting washer counterclockwise until the notch in the pointer is centered over the index line on the locating tab (the pointer will move clockwise during adjustment).
  77. While holding the adjusting washer in position, tighten the bolt.
    Fig 51: Tightening Bolt
    G02739080Courtesy of FORD MOTOR CO.
  78. CAUTION: The camshaft must be held stationary at the hexagons with locking pliers. Do not use the alignment tool to hold the camshaft in position or damage to the camshaft may occur.
    Fig 52: Intake Camshaft Sprocket Bolt Torque Specification
    G02739081Courtesy of FORD MOTOR CO.
  79. Tighten the bolt on the intake camshaft sprocket.
  80. CAUTION: The camshaft must be held stationary at the hexagons with locking pliers. Do not use the alignment tool to hold the camshaft in position or damage to the camshaft may occur.
    Fig 53: Tightening Exhaust Camshaft Sprocket Bolt
    G02739082Courtesy of FORD MOTOR CO.
  81. Tighten the bolt on the exhaust camshaft sprocket in three stages.
    • Stage 1: Tighten the bolt to 50 Nm (36 lb-ft).
    • Stage 2: Remove the TDC peg and the camshaft alignment timing tool.
    • Stage 3: Tighten the bolt to 115-125 Nm (85-92 lb-ft).
  82. NOTE: Install a new oil plug seal.
    Fig 54: Installing New Oil Plug On Variable Camshaft Timing Assembly
    G02739083Courtesy of FORD MOTOR CO.
  83. Screw in the new oil plug on the variable camshaft timing assembly.
  84. NOTE: Turn the engine two turns in the normal direction of rotation by the crankshaft.
  85. Check the valve timing by inserting the special tools and correct the alignment as necessary.
    • Screw in special tool 303-574 and make sure that the crankshaft is resting against the special tool.
    • Insert special tool 303-465 into the camshafts. If necessary loosen the timing pulleys and correct the camshaft alignment.
    • Remove the special tools.
  86. Install the bolts and the valve cover.
    • Install the valve cover gasket.
    Fig 55: Installing Valve Cover Bolts
    G02739084Courtesy of FORD MOTOR CO.
  87. Position and connect the wiring harness.
    Fig 56: Connecting Wiring Harness
    G02739085Courtesy of FORD MOTOR CO.
  88. Connect the ignition wires to the correct spark plugs.
    Fig 57: Connecting Ignition Wires To Correct Spark Plugs
    G02739086Courtesy of FORD MOTOR CO.
  89. Install the timing belt upper cover.
    Fig 58: Timing Belt Upper Cover Bolts Torque Specification
    G02739087Courtesy of FORD MOTOR CO.
  90. Position the wire harness.
    Fig 59: Installing Wire Harness
    G02739088Courtesy of FORD MOTOR CO.
  91. Install the lower engine mount bracket.
    Fig 60: Lower Engine Mount Bracket Bolts Torque Specification
    G02739089Courtesy of FORD MOTOR CO.
  92. Install the coolant pump pulley.
    Fig 61: Coolant Pump Pulley Bolts Torque Specification
    G02739090Courtesy of FORD MOTOR CO.
  93. Install the lower timing belt cover.
    Fig 62: Lower Timing Belt Cover Bolts Torque Specification
    G02739091Courtesy of FORD MOTOR CO.
  94. Install the accessory drive belt idler pulley.
    Fig 63: Accessory Drive Belt Idler Pulley Bolt Torque Specification
    G02739092Courtesy of FORD MOTOR CO.
  95. NOTE: Apply Silicone Gasket and Sealant F7AZ-19554-EA or equivalent meeting Ford specification WSE-M4G323-A4 to the crankshaft pulley keyway prior to installing the crankshaft pulley.
    Fig 64: Crankshaft Pulley Bolt Torque Specification
    G02739093Courtesy of FORD MOTOR CO.
  96. Install the crankshaft pulley.
  97. Install the coolant tube.
    • Install the bolt.
    • Connect the hose.
    Fig 65: Coolant Tube Bolt Torque Specification
    G02739094Courtesy of FORD MOTOR CO.
  98. Install the crankcase vent oil separator.
    1. Install the bolts.
      • Install a new gasket.
    2. Connect the PCV valve.
    Fig 66: Installing Crankcase Vent Oil Separator
    G02739095Courtesy of FORD MOTOR CO.
  99. Install the crankshaft position sensor and bushing.
    Fig 67: Installing Crankshaft Position Sensor And Bushing
    G02739096Courtesy of FORD MOTOR CO.
  100. Install the stud.
    Fig 68: Stud Torque Specification
    G02739097Courtesy of FORD MOTOR CO.
  101. Install the coolant tube.
    • Install the bolt and nut.
    • Connect the hose.
    Fig 69: Installing Coolant Tube
    G02739098Courtesy of FORD MOTOR CO.
  102. Install the A/C compressor bracket.
    Fig 70: A/C Compressor Bracket Bolts Torque Specifications
    G02739099Courtesy of FORD MOTOR CO.
  103. Install the power steering pump bracket.
    Fig 71: Power Steering Pump Bracket Bolts Torque Specification
    G02739100Courtesy of FORD MOTOR CO.
  104. Install the exhaust manifold and tighten using the sequence shown.
    • Install a new gasket.
    Fig 72: Tightening Sequence & Torque Specification Of Exhaust Manifold Bolts
    G02739101Courtesy of FORD MOTOR CO.
  105. Install the oil level indicator and tube.
    • Install a new O-ring seal if damaged.
    Fig 73: Oil Level Indicator And Tube Bolt Torque Specification
    G02739102Courtesy of FORD MOTOR CO.
  106. Support the engine with a suitable lifting device and remove the engine from the engine stand.
    Fig 74: Removing Engine From Engine Stand
    G02739103Courtesy of FORD MOTOR CO.
  107. Install the rear cover plate and dowels.
    Fig 75: Installing Rear Cover Plate And Dowels
    G02739104Courtesy of FORD MOTOR CO.
  108. NOTE: Lubricate the crankcase flange and the crankshaft rear oil seal bore with Super Premium SAE 5W-20 Motor Oil or equivalent meeting Ford specification WSS-M2C153-H prior to installing the crankshaft rear seal or damage to the crankshaft rear seal may occur.
    Fig 76: Installing New Crankshaft Rear Seal
    G02739105Courtesy of FORD MOTOR CO.
  109. Using the special tools, install a new crankshaft rear seal.
  110. NOTE: Install a new pilot bearing on vehicles equipped with a manual transaxle only if it is damaged.
  111. Using the special tools, install the pilot bearing.
  112. Install the flywheel.
    Fig 77: Installing Flywheel
    G02739106Courtesy of FORD MOTOR CO.
    Fig 78: Installing Flywheel Holding Tool
    G02739107Courtesy of FORD MOTOR CO.
  113. Install flywheel holding tool.
    Fig 79: Installing Clutch Disc Onto Flywheel
    G02739108Courtesy of FORD MOTOR CO.
  114. Using the special tool, position the clutch disc onto the flywheel.
    Fig 80: Identifying Pressure Plate Bolts Tightening Sequence
    G02739109Courtesy of FORD MOTOR CO.
  115. Position the clutch pressure plate onto the flywheel, install the pressure plate bolts and tighten them using the sequence shown.