LEMON Manuals: Even more car manuals for everyone: 1960-2025
Home >> Ford >> 2004 >> Escape 3.0 1, 4WD >> Repair and Diagnosis >> External Pages >> Different car >> Section 1035 (Anti-Lock Brake System Control) >> Diagnosis And Testing >> Principles of Operation >> Pinpoint Test A: No Communication With the Anti-lock Brake System (ABS) Module >> Pinpoint Test A: No Communication With The Anti-Lock Brake System (Abs) Module
April 5, 2026: LEMON Manuals is launched! Read the announcement.

Pinpoint Test A: No Communication With The Anti-Lock Brake System (Abs) Module

WARNING: This page is about a different car, the 2005 Mercury Mountaineer and 2005 Ford Explorer. However, it is still accessible from the selected car via links, so may be relevant.
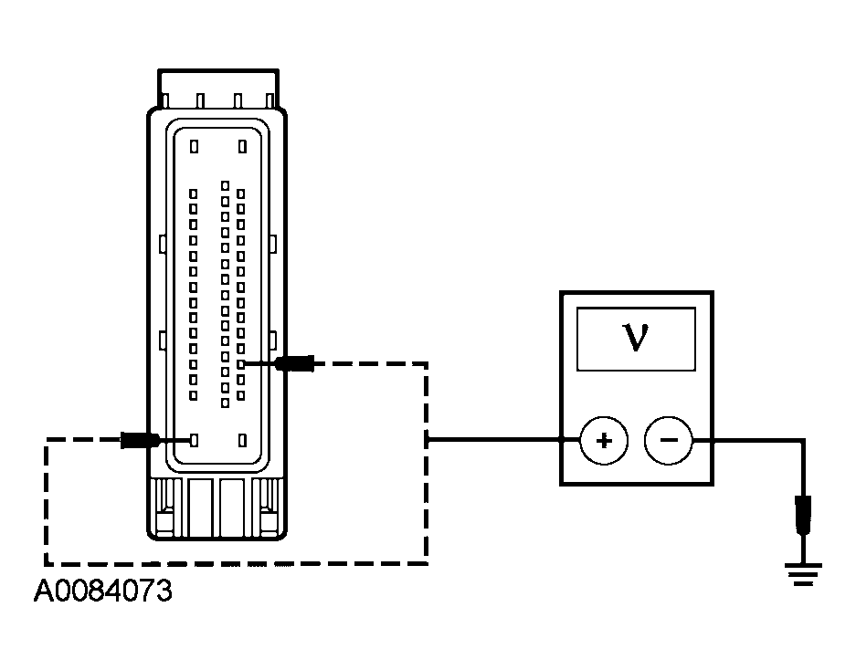
CAUTION: Use the flex probe kit for all test connections to prevent damage to the wiring terminals. Do not use standard multimeter probes.
  1. A1 CHECK CIRCUITS 601 (LB/PK) AND 493 (BK/PK) FOR AN OPEN 
    • Key in OFF position.
    • Disconnect: ABS Module C155.
    • Key in ON position.
    • Measure the voltage between the ABS module C155-4, circuit 601 (LB/PK), harness side and ground; and between the ABS module C155-32, circuit 493 (BK/PK), harness side and ground.
      Fig 1: Checking Circuits 601 (LB/PK) And 493 (BK/PK) For An Open
      G03944816Courtesy of FORD MOTOR CO.
    • Are the voltages greater than 10 volts? 
    • Yes  : GO to A2.
    • No  : REPAIR the circuit(s) in question. REPEAT the self-test.
  2. A2 CHECK CIRCUIT 274 (BK/WH) FOR AN OPEN 
    • Key in OFF position.
    • Measure the resistance between the ABS module C155-16, circuit 274 (BK/WH), harness side and ground.
      Fig 2: Measuring Resistance Between ABS Module And Ground
      G03944817Courtesy of FORD MOTOR CO.
    • Is the resistance less than 5 ohms?