LEMON Manuals: Even more car manuals for everyone: 1960-2025
Home >> Ford >> 2004 >> Escape 3.0 1, FWD >> Repair and Diagnosis >> Transmission >> Automatic Trans >> Automatic Transmission >> Assembly >> Transaxle >> Assembly
April 5, 2026: LEMON Manuals is launched! Read the announcement.

Automatic Transmission: Assembly: Transaxle: Assembly

    All applications 

  1. Prepare the transaxle for assembly by proceeding with the following steps:
    • Clean all parts (except the friction plates, seals, and intermediate/overdrive band) in solvent.
    • Dry all parts with moisture-free regulated compressed air (do not use shop towels).
    • Lubricate all internal parts (including friction plates) with clean automatic transmission fluid.
    • Make sure the complete assortment of selective thickness parts are on hand for adjustments during assembly:
      • Drive sprocket thrust washers.
      • Driven sprocket thrust bearing shims.
      • Differential case thrust bearing shims.
      • Low/reverse clutch pressure plates.
    • During assembly, use petroleum jelly to hold the parts in place (do not use grease).
    • Lightly coat bolt and nut threads with automatic transmission fluid for correct installation torque specifications.
  2. Install intermediate and overdrive band assembly into the transaxle case.
    Fig 1: Installing Intermediate And Overdrive Band Assembly Into Transaxle Case
    G02741072Courtesy of FORD MOTOR CO.
  3. Install the No.1 pump support thrust bearing.
    • Lubricate the seal rings with clean automatic transmission fluid.
    Fig 2: Installing No.1 Pump Support Thrust Bearing
    G02741073Courtesy of FORD MOTOR CO.
  4. NOTE: Apply a thin coat of petroleum jelly to the pump support seals and to the pump bore in the transaxle.
    Fig 3: Installing Pump Assembly Into Case
    G02741074Courtesy of FORD MOTOR CO.
  5. Install pump assembly into the case.
  6. NOTE: Tighten the bolts in the indicated sequence.
    Fig 4: Tightening Sequence & Torque Specification Of Pump Assembly Bolts
    G02741075Courtesy of FORD MOTOR CO.
  7. Install the pump assembly bolts.
  8. Using the special tools, install the low/reverse clutch piston.
    • Lubricate seals and piston bore with clean automatic transmission fluid.
    Fig 5: Installing Low/Reverse Clutch Piston
    G02741076Courtesy of FORD MOTOR CO.
  9. Install the low/reverse clutch return spring assembly.
    Fig 6: Installing Low/Reverse Clutch Return Spring Assembly
    G02741077Courtesy of FORD MOTOR CO.
  10. Install the low/reverse clutch return spring retaining ring.
    Fig 7: Installing Low/Reverse Clutch Return Spring Retaining Ring
    G02741078Courtesy of FORD MOTOR CO.
  11. CAUTION: The low/reverse clutch wave spring is fitted in this position for measurement purposes only.
    Fig 8: Installing Low/Reverse Clutch Wave Spring
    G02741079Courtesy of FORD MOTOR CO.
  12. Install the low/reverse clutch wave spring.
  13. Install the low/reverse clutch plates.
    1. Install the low/reverse clutch external spline (steel) clutch plates.
    2. Install the low/reverse clutch internal spline (friction) clutch plates.
    3. Install the thin eight wave low/reverse clutch cushion spring.
    4. Install the low/reverse clutch pressure plate.
    Fig 9: Installing Low/Reverse Clutch Plates
    G02741080Courtesy of FORD MOTOR CO.
  14. CAUTION: The low one-way clutch thrust plate is fitted in the position for measurement purposes only.
    Fig 10: Installing Low One-Way Clutch Thrust Plate
    G02741081Courtesy of FORD MOTOR CO.
  15. Install the low one-way clutch thrust plate.
  16. Measure the clearance between the low/reverse clutch pressure plate and the low one-way clutch thrust plate.
    • Take a second measurement on the opposite side.
    • Average the two measurements to get the clearance.
    • If the clearance is not within specification, select and fit the correct thickness pressure plate to obtain the specified clearance.
    • Pressure plate sizes:
      • 2.57-2.46 mm (0.101 -0.097 in)
      • 2.36-2.26 mm (0.092-0.089 in)
      • 2.16-2.06 mm (0.085-0.081 in)
    Fig 11: Measuring Clearance Between Low/Reverse Clutch Pressure Plate And Low One-Way Clutch Thrust Plate
    G02741082Courtesy of FORD MOTOR CO.
  17. NOTE: One tooth of the low/reverse clutch pressure plate is notched for identification.
    Fig 12: Removing Clutch Plates
    G02741083Courtesy of FORD MOTOR CO.
  18. Remove the low one-way clutch thrust plate, the low/reverse clutch pressure plate, the low/reverse clutch external spline clutch plates (steel), the low/reverse clutch wave spring, and the low/reverse clutch internal spline clutch plates (friction).
    1. Low one-way clutch thrust plate.
    2. Low/reverse clutch pressure plate.
    3. Low/reverse clutch external spline clutch plates (steel).
    4. Low/reverse clutch wave spring.
    5. Low/reverse clutch internal spline clutch plates (friction).
  19. Install the No. 1 pump support thrust bearing assembly.
    Fig 13: Installing No. 1 Pump Support Thrust Bearing Assembly
    G02741084Courtesy of FORD MOTOR CO.
  20. NOTE: Remove the seal sizer from forward/coast/direct clutch cylinder.
    Fig 14: Installing Forward/Coast/Direct Clutch Cylinder Assembly And Reverse Clutch Drum Assembly
    G02741085Courtesy of FORD MOTOR CO.
  21. Install the forward/coast/direct clutch cylinder assembly and reverse clutch drum assembly.
  22. Install the turbine shaft.
    Fig 15: Installing Turbine Shaft
    G02741086Courtesy of FORD MOTOR CO.
  23. Install the No. 4 turbine shaft thrust bearing.
    Fig 16: Installing No. 4 Turbine Shaft Thrust Bearing
    G02741087Courtesy of FORD MOTOR CO.
  24. Install the forward one-way clutch and low/intermediate sun gear assembly.
    Fig 17: Installing Forward One-Way Clutch And Low/Intermediate Sun Gear Assembly
    G02741088Courtesy of FORD MOTOR CO.
  25. Install the No. 5 low/intermediate sun gear thrust bearing.
    Fig 18: Installing No. 5 Low/Intermediate Sun Gear Thrust Bearing
    G02741089Courtesy of FORD MOTOR CO.
  26. Install the low/intermediate carrier assembly.
    Fig 19: Installing Low/Intermediate Carrier Assembly
    G02741090Courtesy of FORD MOTOR CO.
  27. Install the No. 6 low/intermediate carrier thrust bearing.
    Fig 20: Installing No. 6 Low/Intermediate Carrier Thrust Bearing
    G02741091Courtesy of FORD MOTOR CO.
  28. Install the low/intermediate ring gear assembly.
    Fig 21: Installing Low/Intermediate Ring Gear Assembly
    G02741092Courtesy of FORD MOTOR CO.
  29. Install the No. 7 reverse/overdrive sun gear thrust bearing.
    Fig 22: Installing No. 7 Reverse/Overdrive Sun Gear Thrust Bearing
    G02741093Courtesy of FORD MOTOR CO.
  30. Install the reverse/overdrive sun gear and shell assembly.
    Fig 23: Installing Reverse/Overdrive Sun Gear And Shell Assembly
    G02741094Courtesy of FORD MOTOR CO.
  31. Install the reverse/overdrive carrier assembly with the captured No. 8 thrust bearing.
    Fig 24: Installing Reverse/Overdrive Carrier Assembly With Captured No. 8 Thrust Bearing
    G02741095Courtesy of FORD MOTOR CO.
  32. Install the thick, ten-wave low/reverse clutch wave spring.
    Fig 25: Installing Thick, Ten-Wave Low/Reverse Clutch Wave Spring
    G02741096Courtesy of FORD MOTOR CO.
  33. Install the low/reverse clutch plates (model dependent).
    1. Install the low/reverse clutch external spline (steel) clutch plates.
    2. Install the low/reverse clutch internal spline (friction) clutch plates.
    3. Install the low/reverse clutch pressure plate previously selected.
    Fig 26: Installing Low/Reverse Clutch Plates (Model Dependent)
    G02741097Courtesy of FORD MOTOR CO.
  34. NOTE: Early production vehicles may not have a wave spring.
    Fig 27: Installing Thin, Eight-Wave Low/Reverse Clutch Wave Spring
    G02741098Courtesy of FORD MOTOR CO.
  35. If equipped, install the thin, eight-wave low/reverse clutch wave spring.
  36. Install the low one-way clutch assembly with the identification ring on the inner ring facing upward.
    Fig 28: Installing Low One-Way Clutch Assembly With Identification Ring On Inner Ring Facing Upward
    G02741099Courtesy of FORD MOTOR CO.
  37. Install the low one-way clutch thrust plate.
    Fig 29: Installing Low One-Way Clutch Thrust Plate
    G02741100Courtesy of FORD MOTOR CO.
  38. NOTE: Make sure to position the low one-way clutch retaining ring as shown.
    Fig 30: Installing Low One-Way Clutch Retaining Ring
    G02741101Courtesy of FORD MOTOR CO.
  39. Install the low one-way clutch retaining ring.
  40. Install the manual valve detent lever actuating rod assembly.
    • Install the parking cam actuator lever.
    Fig 31: Installing Manual Valve Detent Lever Actuating Rod Assembly
    G02741102Courtesy of FORD MOTOR CO.
  41. Install the manual valve detent lever.
    Fig 32: Installing Manual Valve Detent Lever
    G02741103Courtesy of FORD MOTOR CO.
  42. Install the special tools.
    Fig 33: Installing Special Tools
    G02741104Courtesy of FORD MOTOR CO.
  43. Install the special tool with short spacers.
    Fig 34: Installing Special Tool With Short Spacers
    G02741105Courtesy of FORD MOTOR CO.
  44. Using the special tools, measure the distance from the top of special tool to the No. 12 driven sprocket bearing surface area.
    • Record this dimension.
    • This dimension is designated with A.
    Fig 35: Measuring Distance From Top Of Special Tool To No. 12 Driven Sprocket Bearing Surface Area
    G02741106Courtesy of FORD MOTOR CO.
  45. Using the special tools, measure the distance from the top of special tool to the bearing surface on the reverse/overdrive carrier assembly on one side of the turbine shaft.
    • Repeat this measurement on the other side of the turbine shaft 180 degrees from the first measurement.
    • The average of these two dimensions is dimension B.
    • Remove the special tools.
    Fig 36: Measuring Distance From Top Of Special Tool To Bearing Surface On Reverse/Overdrive Carrier Assembly
    G02741107Courtesy of FORD MOTOR CO.
  46. Subtract dimension B from dimension A to get dimension C.
  47. Use the third dimension to select the correct No. 11 driven sprocket shim.
    • Select a shim from the driven sprocket shim chart.
    DRIVEN SPROCKET ALIGNMENT SHIM NO.11 CHART

    Shim Size mm inch
    Transaxle case to driven sprocket/final drive sun gear thrust bearing shim AB: 2.20-2.10 0.086-0.082
    Transaxle case to driven sprocket/final drive sun gear thrust bearing shim BB: 2.02-1.92 0.079 0.075
    Transaxle case to driven sprocket/final drive sun gear thrust bearing shim CB: 1.85-1.75 0.072 0.068
    Transaxle case to driven sprocket/final drive sun gear thrust bearing shim DB: 1.67-1.57 0.065 0.061
    Transaxle case to driven sprocket/final drive sun gear thrust bearing shim EB: 1.50-1.40 0.059 0.052
    Transaxle case to driven sprocket/final drive sun gear thrust bearing shim FB: 1.32-1.22 0.051 0.048
    Distance measured during gauging procedure and appropriate thrust bearing shim AB: 14.34-14.1 0.564-0.557
    Distance measured during gauging procedure and appropriate thrust bearing shim BB: 14.16-14.00 0.557-0.551
    Distance measured during gauging procedure and appropriate thrust bearing shim CB: 13.99-13.83 0.551-0.544
    Distance measured during gauging procedure and appropriate thrust bearing shim DB: 13.82-13.66 0.544-0.537
    Distance measured during gauging procedure and appropriate thrust bearing shim EB: 13.65-13.49 0.537-0.531
    Distance measured during gauging procedure and appropriate thrust bearing shim AB: 13.48-13.32 0.531-0.524
  48. Install and lubricate the following:
    1. Lubricate the needles and seals in the No. 18 driven sprocket bearing.
    2. Install the selected No. 11 driven sprocket shim.
    3. Install the No. 12 driven sprocket bearing.
    Fig 37: Installing No. 18 Driven Sprocket Bearing, No. 11 Driven Sprocket Shim, & No. 12 Driven Sprocket Bearing
    G02741108Courtesy of FORD MOTOR CO.
  49. Install the No. 9 reverse/overdrive ring gear thrust bearing.
    Fig 38: Installing No. 9 Reverse/Overdrive Ring Gear Thrust Bearing
    G02741109Courtesy of FORD MOTOR CO.
  50. NOTE: Installation of the reverse/overdrive ring gear assembly at this time is for measurement purposes only.
    Fig 39: Installing Reverse/Overdrive Ring Gear Assembly
    G02741110Courtesy of FORD MOTOR CO.
  51. Install the reverse/overdrive ring gear assembly.
  52. Install the special tools.
    Fig 40: Installing Special Tools
    G02741111Courtesy of FORD MOTOR CO.
  53. Install the special tool with short spacers.
    Fig 41: Installing Special Tool With Short Spacers
    G02741112Courtesy of FORD MOTOR CO.
  54. Using the special tools, measure the distance from the top of special tool to the face of the reverse/overdrive ring gear assembly surface area.
    • Repeat this measurement 180 degrees from the first measurement.
    • The average of these two dimensions is dimension A.
    • Remove the special tools.
    Fig 42: Measuring Distance From Top Of Special Tool To Face Of Reverse/Overdrive Ring Gear Assembly Surface Area
    G02741113Courtesy of FORD MOTOR CO.
  55. Add 25.4 mm (1.00 in) thickness of special tool and the thickness of short spacers.
    • This is the dimension B.
  56. Subtract dimension A from dimension B.
    • This is dimension C.
  57. Select No. 10 thrust washer from the drive sprocket thrust washer chart.
    • Use the third dimension to select the No. 10 drive sprocket thrust washer.
    DRIVE SPROCKET ALIGNMENT NO. 10 THRUST WASHER CHART

    No.10 Thrust Washer mm inch
    Drive sprocket to converter housing thrust washer AA: 1.51-1.41 0.059-0.052
    Drive sprocket to converter housing thrust washer BA: 1.77-1.67 0.069-0.065
    Drive sprocket to converter housing thrust washer CA: 2.03-1.93 0.079-0.075
    Drive sprocket to converter housing thrust washer DA: 2.29-2.19 0.090-0.086
    Distance measured during gauging procedure and appropriate thrust washer AA: 1.12-0.86 0.044-0.033
    Distance measured during gauging procedure and appropriate thrust washer BA: 0.85-0.60 0.033-0.023
    Distance measured during gauging procedure and appropriate thrust washer CA: 0.59-0.34 0.023-0.013
    Distance measured during gauging procedure and appropriate thrust washer DA: 0.33-0.08 0.012-0.003
  58. Use petroleum jelly and install the selected No. 10 drive sprocket thrust washer on the torque converter housing.
    Fig 43: Installing Selected No. 10 Drive Sprocket Thrust Washer On Torque Converter Housing
    G02741114Courtesy of FORD MOTOR CO.
  59. Remove the reverse/overdrive ring gear assembly.
    Fig 44: Removing Reverse/Overdrive Ring Gear Assembly
    G02741115Courtesy of FORD MOTOR CO.
  60. Install the filter and seal assembly.
    Fig 45: Installing Filter And Seal Assembly
    G02741116Courtesy of FORD MOTOR CO.
  61. NOTE: Refer to the following illustration for correct tool usage.
    Fig 46: Installing Special Tool In Filter Eyelet And Transaxle Hole (1 Of 2)
    G02741117Courtesy of FORD MOTOR CO.
    Fig 47: Installing Special Tool In Filter Eyelet And Transaxle Hole (2 Of 2)
    G02741118Courtesy of FORD MOTOR CO.
  62. Install the special tool in the filter eyelet and transaxle hole.
  63. NOTE: Lubricate the filter recirculating regulator exhaust seal before installation.
    Fig 48: Installing Filter Recirculating Regulator Exhaust Seal
    G02741119Courtesy of FORD MOTOR CO.
  64. Using the special tool, install the filter recirculating regulator exhaust seal.
  65. Install the chain pan in the transaxle case.
    Fig 49: Installing Chain Pan In Transaxle Case
    G02741120Courtesy of FORD MOTOR CO.
  66. Assemble and install the drive chain assembly.
    1. Drive chain (copper colored link facing upward).
    2. Driven sprocket assembly.
    3. Reverse/overdrive ring gear assembly.
      • Verify that the driven sprocket assembly and reverse/overdrive ring gear assembly are seated.
    Fig 50: Assembling And Installing Drive Chain Assembly
    G02741121Courtesy of FORD MOTOR CO.
  67. Install the chain pan cover by snapping it into place.
    Fig 51: Installing Chain Pan Cover
    G02741122Courtesy of FORD MOTOR CO.
  68. Install the No. 13 driven sprocket thrust bearing.
    Fig 52: Installing No. 13 Driven Sprocket Thrust Bearing
    G02741123Courtesy of FORD MOTOR CO.
  69. Install the final drive carrier and differential assembly.
    Fig 53: Installing Final Drive Carrier And Differential Assembly
    G02741124Courtesy of FORD MOTOR CO.
  70. NOTE: Plastic washers should be placed between bolt heads and special tool.
    Fig 54: Installing Special Tools
    G02741125Courtesy of FORD MOTOR CO.
  71. Install the special tools.
    1. Install the special tool.
    2. Install the special tool and bolts.
  72. Using the special tools, measure the distance from the top of special tool to the shim surface area of the final drive carrier and the differential assembly on one side of the hub.
    • The special tools will need to be relocated to carry out the second measurement.
    • Repeat this measurement 180 degrees from the first measurement.
    • The average of these two dimensions is dimension B.
    Fig 55: Measuring Distance From Top Of Special Tool To Shim Surface Area
    G02741126Courtesy of FORD MOTOR CO.
  73. Use combined thickness of the special tool with long spacers 177.8 mm (7.0 in) as dimension A.
  74. Subtract dimension B from dimension A. This is dimension C.
  75. Use dimension C to select the correct No. 14 differential bearing shim from the differential bearing shim chart.
    DIFFERENTIAL END PLAY NO. 14 SHIM CHART

    IF DIMENSION "C" IS: USE NO. 14 DIFFERENTIAL SHIM:
    130.76 to 130.46 mm (5.148 to 5.136 in.) 1.08 to 0.98 mm (0.042 to 0.038 in.)
    130.45 to 130.16 mm (5.136 to 5.124 in.) 1.38 to 1.28 mm (0.054 to 0.050 in.)
    130.15to 129.87 mm (5.124 to 5.113 in.) 1.67 to 1.57 mm (0.065 to 0.061 in.)
    129.86 to 129.57 mm (5.113 to 5.101 in.) 1.97 to 1.87 mm (0.077 to 0.073 in.)
    129.56 to 129.27 mm (5.101 to 5.089 in.) 2.27 to 2.17 mm (0.089 to 0.085 in.)
  76. Install the differential bearing assembly
    1. Install the No. 14 differential bearing shim (selective fit).
    2. Install the No. 15 differential bearing.
    Fig 56: Installing Differential Bearing Assembly
    G02741127Courtesy of FORD MOTOR CO.
  77. NOTE: Check for correct alignment of the lube tube on the converter housing.
    Fig 57: Installing Torque Converter Housing Onto Transaxle Case
    G02741128Courtesy of FORD MOTOR CO.
  78. Install the torque converter housing onto the transaxle case. Position and install the split flange gasket.
  79. NOTE: Tighten the bolts in the indicated sequence.
    Fig 58: Tightening Sequence With Torque Specifications Of Torque Converter Housing-To-Transaxle Case Bolts
    G02741129Courtesy of FORD MOTOR CO.
  80. Install the torque converter housing-to-transaxle case bolts.
  81. NOTE: Note the number of grooves on the intermediate and overdrive servo apply rod.
    Fig 59: Installing Overdrive Servo Return Spring Assembly, Apply Rod & Piston Assembly & Apply Rod Spring
    G02741130Courtesy of FORD MOTOR CO.
  82. Lubricate the assembly with clean transmission fluid.
    1. Install the intermediate and overdrive servo return spring assembly onto the servo piston assembly.
    2. Install the intermediate and overdrive servo apply rod and piston assembly.
    3. Install the overdrive servo apply rod spring.
  83. Install the special tool.
    Fig 60: Installing Special Tool
    G02741131Courtesy of FORD MOTOR CO.
  84. NOTE: Struts on the special tool fit into the servo cover retaining ring groove.
    Fig 61: Assembling Special Tool
    G02741132Courtesy of FORD MOTOR CO.
  85. Assemble the special tool.
    1. Install struts.
    2. Install bar.
    3. Install bolts.
    4. Install the center bolt.
  86. Using the special tool, measure the distance to the bar of special tool. Record this as dimension A.
    Fig 62: Measuring Distance To Bar Of Special Tool
    G02741133Courtesy of FORD MOTOR CO.
  87. Back off the center bolt of special tool until the piston movement stops.
    Fig 63: Backing Off Center Bolt Of Special Tool
    G02741134Courtesy of FORD MOTOR CO.
  88. Vehicles with narrow groove case 

  89. Using the special tool, measure the dimension to the bar of special tool record as dimension B.
    • Subtract dimension A from B to find the travel.
    • If the travel is not within the specification, select a new intermediate and overdrive servo apply rod assembly.
    INTERMEDIATE/OVERDRIVE SERVO APPLY ROD CHART

    Part Number Number of Rings Rod Length
    F3RP-7H188-CB 0 108.1 mm (4.25 in)
    F3RP-7H188-BB 1 107.1 mm (4.21 in)
    F3RP-7H188-AB 2 105.7 mm (4.16 in)
    Fig 64: Measuring Dimension To Bar Of Special Tool (Vehicles With Narrow Groove Case)
    G02741135Courtesy of FORD MOTOR CO.
  90. Vehicles with wide groove case 

  91. Using the special tool, measure the dimension to the bar of special tool record as dimension B.
    • Subtract dimension A from B to find the travel.
    • If the travel is not within the specification, select a new intermediate and overdrive servo apply rod assembly.

    Intermediate/Overdrive Servo Apply Rod 

    INTERMEDIATE/OVERDRIVE SERVO APPLY ROD CHART

    Part Number Number of Rings Rod Length
    F3RP-7H188-CB 0 108.1 mm (4.25 in)
    F3RP-7H188-BB 1 107.1 mm (4.21 in)
    F3RP-7H188-AB 2 105.7 mm (4.16 in)
    Fig 65: Measuring Dimension To Bar Of Special Tool (Vehicles With Wide Groove Case)
    G02741136Courtesy of FORD MOTOR CO.
  92. All applications 

  93. Wipe the servo piston and the servo cover cap with a lint-free cloth.
  94. CAUTION: Do not clean the rubber sealing surfaces of the servo piston and servo cover cap with cleaning solvent, or damage to the sealing surface may result.
  95. Inspect the servo piston for cracks on its pressure surfaces and in the sealing area. Look for damage near the point where the servo piston attached to the servo rod.
  96. Squeeze the servo piston lip for flexibility. If the lip feels brittle, install a new piston.
  97. Inspect the servo retainer spring for cracks, breaks or deformation.
  98. WARNING: Servo return spring force is very high. Failure to follow these instructions can result in personal injury.
    Fig 66: Assembling Special Tool
    G02741137Courtesy of FORD MOTOR CO.
  99. Assemble the special tool.
  100. Install the special tool.
    Fig 67: Installing Special Tool
    G02741138Courtesy of FORD MOTOR CO.
  101. CAUTION: If the case is stamped "WG", install a wide-groove snap ring, or damage to the servo will result.
    CAUTION: Do not use a screwdriver to install the retaining ring or damage to the case may occur. Use only snap ring pliers to install the retaining ring.
    NOTE: If the servo cover will not seat deep enough in the bore to install the servo cover retaining ring, use a blunt punch or small hammer and gently tap the cover around the outer edge until the servo cover retaining ring can be installed.
    Fig 68: Tightening Special Tool Bolt
    G02741139Courtesy of FORD MOTOR CO.
  102. Tighten the special tool bolt.
    • Install the servo cover retaining ring, using retaining ring pliers.
  103. Loosen the special tool bolt.
    • When spring tension is released, remove the special tool.
    Fig 69: Loosening Special Tool Bolt
    G02741140Courtesy of FORD MOTOR CO.
  104. CAUTION: Do not check the coast clutch since the piston may be forced out of the forward clutch piston.
    NOTE: If any leaks occur, make sure the special tool is correctly seated.
    Fig 70: Inspecting Hydraulic Circuits
    G02741141Courtesy of FORD MOTOR CO.
  105. Using the special tool, inspect the hydraulic circuits. Use a rubber-tipped blow gun and 276 kPa (40 psi) of moisture-free regulated compressed air.
    1. Reverse clutch test port.
    2. Forward clutch test port.
    3. Direct clutch test port.
    4. Low/reverse clutch test port.
    5. Servo release test port.
    6. Servo apply test port.
    7. Transmission air test plate.
      • If air leakage is detected, disassemble the transaxle and locate source of leakage.
  106. Install the thermostatic fluid level control valve.
    1. Position the thermostatic fluid level control valve.
    2. Install the bracket.
    3. Install the thermostatic fluid level control valve bracket bolt.
    Fig 71: Installing Thermostatic Fluid Level Control Valve
    G02741142Courtesy of FORD MOTOR CO.
  107. CAUTION: Do not pull wires or damage the solenoid body electrical connector. Damage to the connector and terminals can result.
    Fig 72: Installing Solenoid Body Electrical Connector O-Ring Seal
    G02741143Courtesy of FORD MOTOR CO.
  108. Install the solenoid body electrical connector O-ring seal and install the electrical connector into its bore in the transaxle case.
  109. CAUTION: Handle main control valve body with care to prevent manual valve damage.
    Fig 73: Connecting Manual Valve
    G02741144Courtesy of FORD MOTOR CO.
  110. Connect the manual valve.
    1. Lift the main control away from the case.
    2. Connect the Z-link to the manual valve.
  111. NOTE: Tighten bolts in sequence shown. Bolts 1, 7 and 9 are longer than the others.
    Fig 74: Tightening Sequence & Torque Specification Of Main Control Valve Body Mounting Bolts
    G02741145Courtesy of FORD MOTOR CO.
  112. Install the main control valve body mounting bolts.
  113. Install the manual control lever.
    Fig 75: Installing Manual Control Lever
    G02741146Courtesy of FORD MOTOR CO.
  114. Rotate the manual valve detent lever assembly to the NEUTRAL position.
    1. Low 1
    2. Low 2
    3. Drive
    4. Neutral
    5. Reverse
    6. Park
    Fig 76: Rotating Manual Valve Detent Lever Assembly To Neutral Position
    G02741147Courtesy of FORD MOTOR CO.
  115. Position the transmission range (TR) sensor.
    Fig 77: Positioning Transmission Range (TR) Sensor
    G02741148Courtesy of FORD MOTOR CO.
  116. Using the special tool, align the TR sensor and tighten the bolts.
    Fig 78: Aligning TR Sensor And Tightening Bolts
    G02741149Courtesy of FORD MOTOR CO.
  117. Install the main control cover gasket.
  118. NOTE: Tighten the bolts in the indicated sequence.
    Fig 79: Tightening Sequence & Torque Specification Of Main Control Cover Bolts
    G02741150Courtesy of FORD MOTOR CO.
  119. Install the main control cover.
  120. Install the vent tube.
    Fig 80: Installing Vent Tube
    G02741151Courtesy of FORD MOTOR CO.
  121. Install a new transmission filler tube grommet.
    Fig 81: Installing Transmission Filler Tube Grommet
    G02741152Courtesy of FORD MOTOR CO.
  122. Install the transmission filler tube assembly.
    1. Install the tube.
    2. Install the transmission filler tube bolt.
      • Install the fluid level indicator.
    Fig 82: Installing Transmission Filler Tube Assembly
    G02741153Courtesy of FORD MOTOR CO.
  123. Install the turbine shaft speed (TSS) sensor.
    1. Use petroleum jelly on the O-ring seal and position the TSS sensor.
      • Install a new O-ring seal.
    2. Install the TSS sensor bolt.
    Fig 83: Installing TSS Sensor
    G02741154Courtesy of FORD MOTOR CO.
  124. Using the special tool, install the LH differential seal.
    Fig 84: Installing LH Differential Seal
    G02741155Courtesy of FORD MOTOR CO.
  125. Using the special tool, install the RH differential seal.
    Fig 85: Installing RH Differential Seal
    G02741156Courtesy of FORD MOTOR CO.
  126. NOTE: Make sure the torque converter seal garter spring does not become dislodged during fitting. If the garter spring does become dislodged, install a new torque converter seal.
    Fig 86: Installing Torque Converter Fluid Seal
    G02741157Courtesy of FORD MOTOR CO.
  127. Using the special tool, install the torque converter fluid seal.
    • Coat the torque converter seal garter spring with petroleum jelly.
  128. Install the drain plug.
    Fig 87: Installing Drain Plug
    G02741158Courtesy of FORD MOTOR CO.
  129. Install the output shaft speed (OSS) sensor.
    Fig 88: Installing Output Shaft Speed (OSS) Sensor
    G02741159Courtesy of FORD MOTOR CO.
  130. NOTE: Check for correct rotation of the pump drive shaft.
    Fig 89: Installing Pump Drive Shaft
    G02741160Courtesy of FORD MOTOR CO.
  131. Install the pump drive shaft.
  132. Using the special tool, install the torque converter.
    Fig 90: Installing Torque Converter
    G02741161Courtesy of FORD MOTOR CO.
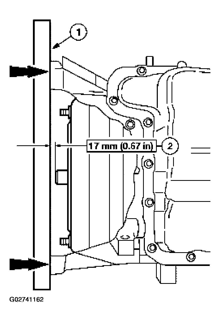
  133. NOTE: The torque converter hub must be fully seated into the transaxle pump drive gear.
    Fig 91: Checking Installation Depth Of Torque Converter
    G02741162Courtesy of FORD MOTOR CO.
  134. Check the installation depth of the torque converter.
    1. Lay a straightedge on the transaxle converter housing.
    2. Check the clearance between the straight edge and the pilot hub.
  135. Lubricate the torque converter pilot hub with grease.
    Fig 92: Lubricating Torque Converter Pilot Hub With Grease
    G02741163Courtesy of FORD MOTOR CO.
  136. Remove the transaxle from the special tool.
    Fig 93: Removing Transaxle From Special Tool
    G02741164Courtesy of FORD MOTOR CO.