LEMON Manuals: Even more car manuals for everyone: 1960-2025
Home >> Ford >> 2004 >> Escape 3.0 1, FWD >> Repair and Diagnosis >> Transmission >> Automatic Trans >> Automatic Transmission >> Disassembly And Assembly Of Subassemblies >> Forward/Coast/Direct Clutches >> Assembly
April 5, 2026: LEMON Manuals is launched! Read the announcement.

Forward/Coast/Direct Clutches: Assembly

  1. Soak the internal spline clutch plates in clean automatic transmission fluid.
  2. Install the forward clutch piston inner seal on the forward/coast/direct clutch cylinder assembly.
    Fig 1: Installing Forward Clutch Piston Inner Seal
    G02740918Courtesy of FORD MOTOR CO.
  3. Install the forward clutch piston outer lip seal on the forward clutch piston assembly.
    Fig 2: Installing Forward Clutch Piston Outer Lip Seal
    G02740919Courtesy of FORD MOTOR CO.
  4. Install the forward clutch piston assembly in the forward/coast/direct clutch cylinder assembly.
    Fig 3: Installing Forward Clutch Piston Assembly
    G02740920Courtesy of FORD MOTOR CO.
  5. Mark the center of two adjacent legs on the top of the cylinder.
    Fig 4: Marking Center Of Adjacent Legs
    G02740921Courtesy of FORD MOTOR CO.
  6. Find the center between the marks (45 degrees from either leg) and mark the cylinder.
    Fig 5: Marking Cylinder
    G02740922Courtesy of FORD MOTOR CO.
  7. Install the coast clutch piston assembly onto the special tool.
    Fig 6: Installing Coast Clutch Piston Assembly Onto Special Tool
    G02740923Courtesy of FORD MOTOR CO.
  8. Using the special tool, install the coast clutch piston into the forward clutch piston assembly.
    Fig 7: Installing Coast Clutch Piston Into Forward Clutch Piston Assembly
    G02740924Courtesy of FORD MOTOR CO.
  9. Install the forward/coast clutch return spring assembly.
    Fig 8: Installing Forward/Coast Clutch Return Spring Assembly
    G02740925Courtesy of FORD MOTOR CO.
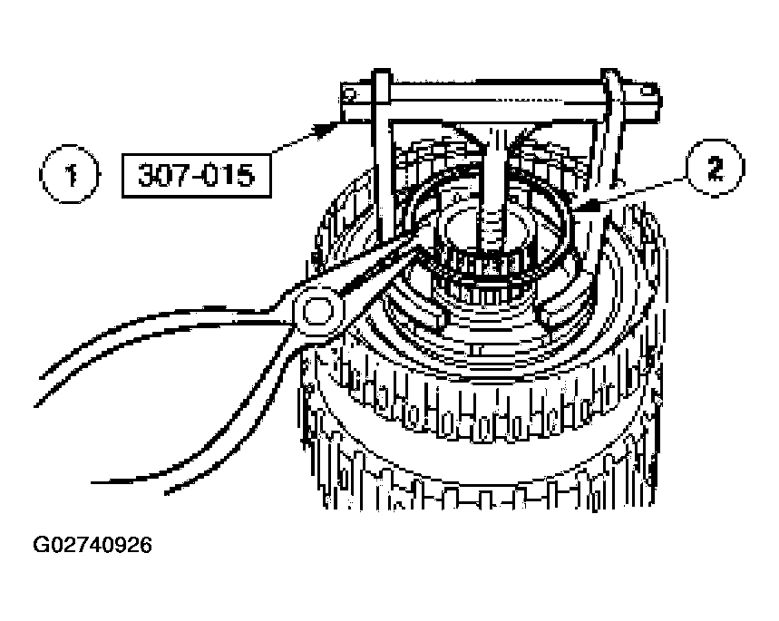
  10. WARNING: Use caution when releasing tool pressure on the clutch piston springs. Failure to follow these instructions can result in personal injury.
    Fig 9: Installing Forward/Coast Clutch Return Spring Retaining Ring
    G02740926Courtesy of FORD MOTOR CO.
  11. Install the forward/coast clutch return spring retaining ring.
    1. Using the special tool, compress the return spring.
    2. Install the forward/coast clutch retaining ring.
      • Orient the gap between the piston legs.
  12. Install the forward and coast clutch plates in the sequence shown.
    1. Coast clutch external spline clutch plates (steel).
    2. Coast clutch internal spline clutch plates (friction).
    3. Coast clutch pressure plate.
    4. Forward clutch wave spring.
    5. Forward clutch internal spline clutch plates (friction).
    6. Forward clutch external spline clutch plates (steel).
    7. Forward clutch pressure plate.
    Fig 10: Install Forward And Coast Clutch Plates In Sequence Shown
    G02740927Courtesy of FORD MOTOR CO.
  13. Install the forward clutch pressure plate retaining ring.
    • Center the select fit retaining ring on the 45-degree mark between the two adjacent legs.
    Fig 11: Installing Forward Clutch Pressure Plate Retaining Ring
    G02740928Courtesy of FORD MOTOR CO.
  14. Using a feeler gauge, measure the clearance between the forward clutch pressure plate and the forward clutch pressure plate retaining ring.
    • Take a second measurement on the opposite side.
    • Average the two measurements to get the clearance.
    • If the clearance is not within specification, select and install the correct thickness retaining ring to obtain the standard clearance.
    • Retaining ring sizes:
      • 1.43-1.53 mm (0.056-0.060 in)
      • 1.59-1.69 mm (0.062-0.066 in)
      • 1.75-1.85 mm (0.069-0.073 in)
      • 1.92-2.02 mm (0.075 -0.079 in)
    Fig 12: Measuring Clearance Between Forward Clutch Pressure Plate And Forward Clutch Pressure Plate Retaining Ring
    G02740929Courtesy of FORD MOTOR CO.
  15. Install the direct clutch piston inner lip seal on the direct clutch cylinder assembly.
    Fig 13: Installing Direct Clutch Piston Inner Lip Seal
    G02740930Courtesy of FORD MOTOR CO.
  16. Install the direct clutch piston outer seal on the direct clutch piston assembly.
    Fig 14: Installing Direct Clutch Piston Outer Seal
    G02740931Courtesy of FORD MOTOR CO.
  17. NOTE: Position the lip seal facing down.
    Fig 15: Installing Direct Clutch Piston Assembly
    G02740932Courtesy of FORD MOTOR CO.
  18. Install the direct clutch piston assembly in the forward/coast/direct clutch cylinder assembly.
  19. Install the direct clutch return spring assembly.
    Fig 16: Installing Direct Clutch Return Spring Assembly
    G02740933Courtesy of FORD MOTOR CO.
  20. WARNING: Use caution when releasing tool pressure on the clutch piston springs. Failure to follow these instructions can result in personal injury.
    CAUTION: Do not compress the direct clutch return springs completely.
    Fig 17: Installing Direct Clutch Return Spring Retaining Ring
    G02740934Courtesy of FORD MOTOR CO.
  21. Install the direct clutch return spring retaining ring.
    1. Using the special tool, compress the direct clutch return springs.
    2. Install the direct clutch return spring retaining ring.
  22. NOTE: Quantity of plates are model dependent.
    Fig 18: Installing Direct Clutch Plates
    G02740935Courtesy of FORD MOTOR CO.
  23. Install the direct clutch plates.
    1. Install the direct clutch external spline (steel) clutch plates.
    2. Install the direct clutch internal spline (friction) clutch plates.
    3. Install the direct clutch pressure plate.
  24. Install the direct clutch pressure plate retaining ring.
    Fig 19: Installing Direct Clutch Pressure Plate Retaining Ring
    G02740936Courtesy of FORD MOTOR CO.
  25. Measure the direct clutch clearance as follows:
    • Install the special tool.
    • Zero the dial on the direct clutch pressure plate.
    • Pull the direct clutch pressure plate upward, and record the reading.
    Fig 20: Measuring Direct Clutch Clearance (1 Of 2)
    G02740937Courtesy of FORD MOTOR CO.
  26. Make a second measurement on the opposite side. Average the two measurements to get the clearance. If the clearance is not within the specification, select and install, using the special tool, the correct thickness direct clutch pressure plate retainer snap ring to obtain the standard clearance.
    • Retaining ring sizes:
      • 1.28-1.38 mm (0.050 -0.054 in)
      • 1.39-1.49 mm (0.054 -0.058 in)
      • 1.52-1.62 mm (0.059-0.063 in)
      • 1.65-1.75 mm (0.064-0.069 in)
    Fig 21: Measuring Direct Clutch Clearance (2 Of 2)
    G02740938Courtesy of FORD MOTOR CO.