LEMON Manuals: Even more car manuals for everyone: 1960-2025
Home >> Ford >> 2004 >> Escape AWD V6-3.0L VIN 1 >> Repair and Diagnosis >> Specifications >> Mechanical Specifications >> Engine >> Intake Manifold
April 5, 2026: LEMON Manuals is launched! Read the announcement.

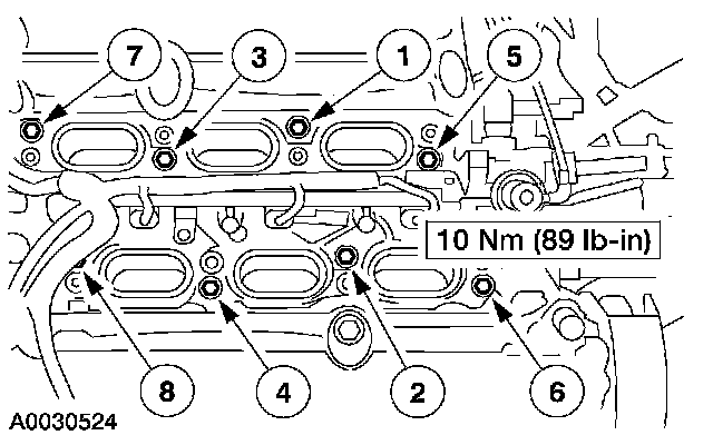
Intake Manifold





Upper intake manifold bolts 10 Nm (89 inch lbs.)





Lower intake manifold bolts 10 Nm (89 inch lbs.)