LEMON Manuals: Even more car manuals for everyone: 1960-2025
Home >> Ford >> 2004 >> Excursion 2WD V10-6.8L VIN S >> Repair and Diagnosis >> Brakes and Traction Control >> Antilock Brakes / Traction Control Systems >> Electronic Brake Control Module >> Service and Repair
April 5, 2026: LEMON Manuals is launched! Read the announcement.

Electronic Brake Control Module: Service and Repair

Anti-Lock Brake System (ABS) Module-Anti-Lock Brake Control

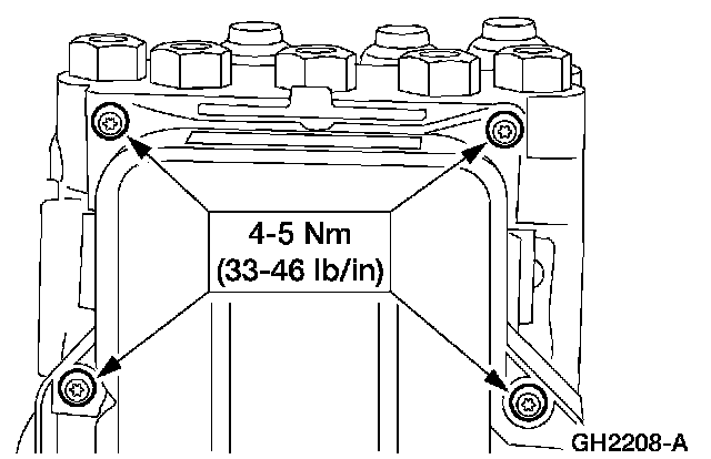
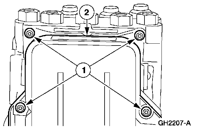
Removal and Installation
1. Remove the Hydraulic Control Unit (HCU).





2. Disconnect the pump motor electrical connector from the anti-lock brake control module.





3. Remove the anti-lock brake control module.
1 Remove the screws.
2 Remove the anti-lock brake control module.





4. To install, reverse the removal procedure.