LEMON Manuals: Even more car manuals for everyone: 1960-2025
Home >> Ford >> 2004 >> Excursion 2WD V10-6.8L VIN S >> Repair and Diagnosis >> Cruise Control >> Cruise Control Servo Cable >> Service and Repair
April 5, 2026: LEMON Manuals is launched! Read the announcement.

Cruise Control Servo Cable: Service and Repair

SPEED CONTROL CABLE

REMOVAL
1. Remove the air cleaner outlet tube.







2. Remove the accelerator control splash shield.
1 Release the tab.
2 Remove the splash shield.







3. Disconnect the speed control cable.
1 Disconnect the speed control cable from the throttle body cam and position aside.
2 Depress the retaining clips to remove the cable from the bracket.







4. Remove the speed control cable cap from the speed control servo.
- Push in the locking arm on the speed control cable cap then rotate the cap counterclockwise.







5. Remove the bolts and position the speed control actuator and bracket aside.







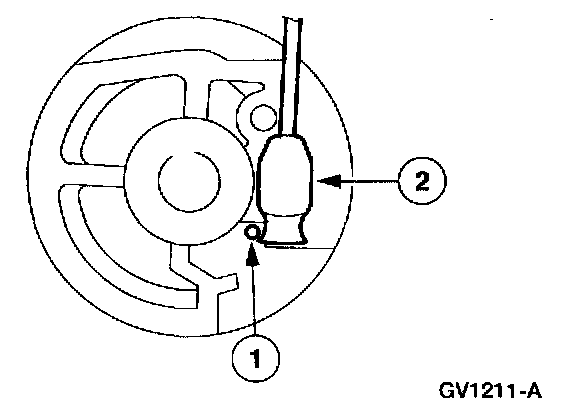
6. Disconnect the speed control core wire end from the speed control servo pulley.
1 Depress the spring retainer.
2 Slide the core wire end out of the speed control servo pulley.

INSTALLATION







1. Insert the speed control cable slug into the speed control servo pulley slot until the spring snaps into the groove of the slug.







2. CAUTION: Make sure the rubber seal is fully seated onto the speed control cable cap.

NOTE: Incorrect wrapping of the speed control cable around the speed control servo pulley may result in a high idle condition.

Align the tabs and rotate the speed control cable cap until the locking arm engages.







3. NOTE: Make sure both tabs on the speed control cable have engaged the bracket.

Connect the speed control cable to the throttle body cam and accelerator cable bracket.
1 Connect the speed control cable to the throttle body cam by snapping it in place.
2 Position the speed control cable in the accelerator cable bracket.

4. Position the speed control actuator and bracket and install the bolts.







5. Install the accelerator control splash shield.
6. Install the air cleaner outlet tube.