LEMON Manuals: Even more car manuals for everyone: 1960-2025
Home >> Ford >> 2004 >> Excursion 2WD V8-5.4L SOHC VIN L >> Repair and Diagnosis >> Specifications >> Mechanical Specifications >> Engine >> Oil Pan, Engine
April 5, 2026: LEMON Manuals is launched! Read the announcement.

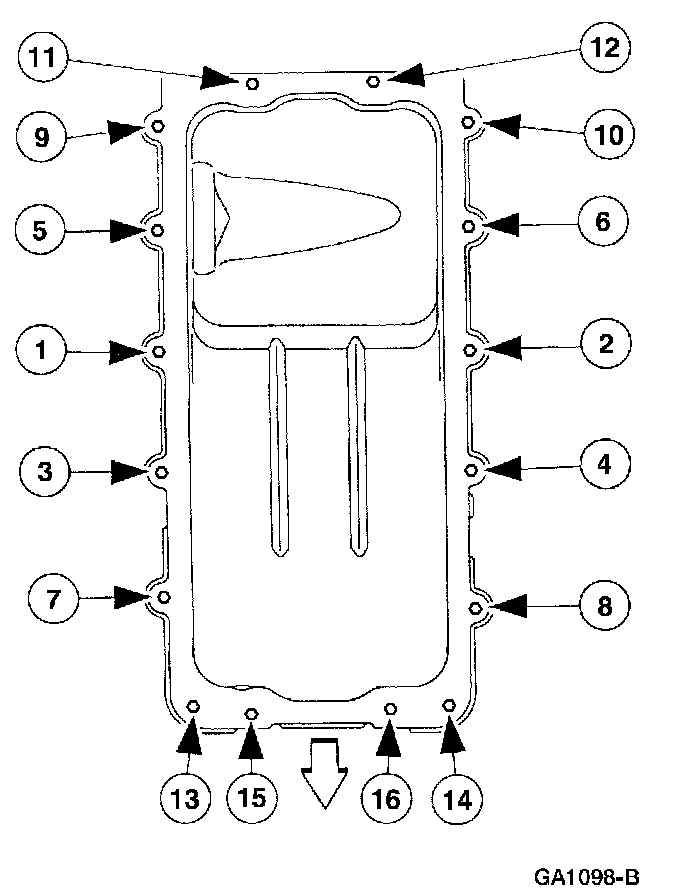
Oil Pan, Engine





NOTE: Be sure to tighten the bolts in two stages.

Oil pan bolts
Tighten the bolts in the sequence shown.
^ Stage 1: Tighten to 20 Nm (15 ft. lbs.).
^ Stage 2: Tighten an additional 90°.