LEMON Manuals: Even more car manuals for everyone: 1960-2025
Home >> Ford >> 2004 >> Excursion 5.4 L, RWD >> Repair and Diagnosis >> External Pages >> Different car >> Section 1848 (Engine - 4.6L And 5.4L) >> Assembly >> Engine - 5.4L
April 5, 2026: LEMON Manuals is launched! Read the announcement.

Engine - 5.4L

WARNING: This page is about a different car, the 2008 Ford RV Cutaway, 2008 Ford Econoline, 2008 Ford E450 Super Duty, and 2008 Ford Cutaway. However, it is still accessible from the selected car via links, so may be relevant.
Special Tools

Illustration Tool Name Tool Number
GF0000362
Alignment Pins, Cylinder Head 303-1040 (SR-015486)
GF0000361
Compressor, Piston Ring 303-D032 (D81L-6002-C) or equivalent
GF0000262
Compressor, Valve Spring 303-567 (T97P-6565-AH)
GF0000434
Compressor Spacer, Valve Spring 303-382 (T91P-6565-AH)
GF0000400
Holding Tool, Crankshaft 303-448 (T93P-6303-A)
GF0000351
Installer, Connecting Rod 303-442 (T93P-6136-A)
GF0000313
Installer, Crankshaft Front Oil Seal 303-635
GF0000316
Installer, Crankshaft Rear Oil Seal 303-518 (T95P-6701-DH)
GF0000318
Installer, Crankshaft Rear Oil Seal 303-516 (T95P-6701-BH)
GF0000320
Installer, Crankshaft Rear Oil Slinger 303-517 (T95P-6701-CH)
GF0000290
Installer, Crankshaft Vibration Damper 303-102 (T74P-6316-B)
GF0000314
Installer, Front Cover Oil Seal 303-335 (T88T-6701-A)
GF0000339
Lifting Bracket, Engine 303-F047 (014-00073) or equivalent
GF0011693
Lifting Bracket Set, Engine 303-DS086 (D93P-6001-A)
GF0000246
Strap Wrench 303-D055 (D85L-6000-A)
Material

Item Specification
Hydraulic Chain Tensioner Retaining Clip
1L3Z-6P250-AA
-
Instant Gel Adhesive
TA-19
WSK-M2G402-A4
Motorcraft Metal Surface Prep
ZC-31
-
Motorcraft Premium Gold Engine Coolant with Bittering Agent (US only)
VC-7-B (US); CVC-7-A (Canada); or equivalent (yellow color)
WSS-M97B51-A1
Motorcraft SAE 5W-20 Premium Synthetic Blend Motor Oil
XO-5W20-QSP (US); Motorcraft SAE 5W-20 Super Premium Motor Oil CXO-5W20-LSP12 (Canada); or equivalent
WSS-M2C930-A
Silicone Gasket Remover
ZC-30
-
Silicone Gasket and Sealant
TA-30
WSE-M4G323-A4
Fig 1: Exploded View Of Upper End Engine - 5.4L (2V)
GF0011720Courtesy of FORD MOTOR CO.
Item Part Number Description
1 6K817 Crankcase ventilation hose
2 6582 Valve cover - RH
3 6B284 Camshaft bearing cap
4 6251 Camshaft - RH
5 12405 Spark plug (8 required)
6 18663 Heater outlet tube
7 14B102 Cylinder head temperature sensor jumper harness
8 6G004 Cylinder head temperature sensor
9 6C501 Hydraulic lash adjuster (16 required)
10 6529 Roller follower (16 required)
11 6C255 Camshaft - LH
12 6B284 Camshaft bearing cap
13 6A505 Valve cover - LH
14 6B280 Camshaft bearing cap (5 required)
15 6518 Valve spring retainer key (32 required)
16 6514 Valve spring retainer (16 required)
17 6513 Valve spring (16 required)
18 6A517 Valve stem seal (16 required)
19 9Y431 Exhaust manifold gasket (2 required)
20 9431 Exhaust manifold - LH
21 6050 Cylinder head - LH
22 6505 Exhaust valve (8 required)
22 6507 Intake valve (8 required)
23 6083 Cylinder head gasket - LH
24 6010 Cylinder block
25 6051 Cylinder head gasket - RH
26 9430 Exhaust manifold - RH
27 9Y431 Exhaust manifold gasket - RH
28 6049 Cylinder head - RH
29 6B280 Camshaft bearing cap (5 required)
Fig 2: Exploded View Of Engine Induction System - 5.4L (2V)
GF0011721Courtesy of FORD MOTOR CO.
Item Part Number Description
1 9F991 Throttle body (TB)
2 9E930 TB gasket
3 N808429 TB bolt (3 required)
4 N808598 TB bolt
5 9A589 TB adapter
6 9E498 Vacuum harness
7 9F792 Fuel rail
8 W710700 Bolt (4 required)
9 9F593 Fuel injector (8 required)
10 W711062 Bolt (8 required)
11 W503300 Bolt (9 required)
12 9424 Intake manifold
13 9439 Intake manifold gasket (2 required)
14 12A699 Knock sensor (KS)
15 W704594 Hollow dowel (4 required)
16 6010 Cylinder block
17 W500225 Bolt
18 8575 Thermostat
19 N806807 O-ring seal
20 8594 Thermostat housing
21 N806178 Bolt (2 required)
22 12A366 Ignition coil (8 required)
23 12B637 Engine sensor control wiring harness
Fig 3: Exploded View Of Lower End Engine - 5.4L (2V)
GF0011722Courtesy of FORD MOTOR CO.
Item Part Number Description
1 6010 Cylinder block
2 6100 Piston and rod assembly (8 required)
3 6152 Lower compression ring (8 required)
4 6161 Inner oil control ring (8 required)
5 6150 Upper compression ring (8 required)
6 6159 Outer oil control ring (16 required)
7 6135 Piston pin (8 required)
8 6110 Piston (8 required)
9 6140 Piston pin retainer (16 required)
10 6200 Connecting rod assembly (8 required)
11 6211 Connecting rod bearings (16 required)
12 6A341 Crankshaft thrust washers - upper (2 required)
13 6303 Crankshaft
14 6K302 Crankshaft thrust washer - lower
15 6A338 Crankshaft bearing - lower (5 required)
16 6A346 Dowel (10 required)
17 6710 Oil pan gasket
18 6675 Oil pan
19 6622 Oil pump screen and pickup tube
20 6325 Crankshaft main bearing cap (5 required)
21 6621 Oil pump
22 6W337 Front crankshaft bearing - upper
23 6333 Crankshaft bearing - upper (4 required)
Fig 4: Exploded View Of Front End Engine - 5.4L (2V)
GF0011723Courtesy of FORD MOTOR CO.
Item Part Number Description
1 19A216 Idler pulley
2 8A528 Coolant pump pulley
3 6B288 Camshaft position sensor
4 6C315 Crankshaft position sensor
5 18801 Radio ignition interference capacitor (2 required)
6 6C086 Engine front cover
7 6L266 Timing chain tensioner - RH
8 6K255 Timing chain tensioner arm - RH
9 6268 Timing chain - RH
10 6M256 Timing chain guide - RH
11 6M269 Timing chain tensioner - LH
12 6M274 Timing chain tensioner arm - LH
13 6268 Timing chain - LH
14 6010 Cylinder block
15 6B274 Timing chain guide - LH
16 6306 Crankshaft sprocket
17 12A227 Ignition pulse wheel
18 3A696 Power steering pump
19 6700 Front crankshaft oil seal
20 6316 Crankshaft pulley
Fig 5: Exploded View Of Engine Exterior Components - 5.4L (2V)
GF0011724Courtesy of FORD MOTOR CO.
Item Part Number Description
1 8501 Coolant pump
2 6750 Oil level indicator
3 6K873 Oil level indicator tube
4 6010 Cylinder block
5 N807198 Dowel (2 required)
6 6K318 Crankshaft rear seal retainer plate
7 6701 Crankshaft rear seal
8 6310 Crankshaft rear oil seal slinger
9 6375 Flexplate
10 W704787 Stud
11 6714 Oil filter
12 6A642 Oil cooler
13 9278 Engine oil pressure (EOP) switch
14 6884 Oil filter adapter
15 6A636 Oil filter adapter gasket
16 18B402 Coolant pump outlet
  1. Record the main bearing code found on the front of the engine block.
  2. Fig 6: Identifying Main Bearing Code Found On Front Of Engine Block
    G04583819Courtesy of FORD MOTOR CO.
  3. Record the main bearing code found on the back of the crankshaft.
  4. Fig 7: Identifying Main Bearing Code - Found On Back Of Crankshaft
    G03886015Courtesy of FORD MOTOR CO.
  5. Using the data recorded earlier and the Bearing Select Fit Chart, Standard Bearings, determine the required bearing grade for each main bearing.
    • Read the first letter of the engine block main bearing code and the first letter of the crankshaft main bearing code.
    • Read down the column below the engine block main bearing code letter, and across the row next to the crankshaft main bearing code letter, until the 2 intersect. This is the required bearing grade for the No. 1 crankshaft main bearing.
    • As an example, if the engine block code letter is "F" and the crankshaft code letter is "D", the correct bearing grade for this main bearing is a "2".
    • Repeat this process for the remaining 4 main bearings.
  6. Fig 8: Bearing Select Fit Chart (Standard Bearings)
    G03886016Courtesy of FORD MOTOR CO.
  7. If oversize bearings are being used, use the procedure in the previous step and the Bearing Select Fit Chart, Oversize Bearings to determine the required bearing grade for each main bearing.
  8. Fig 9: Bearing Select Fit Chart (Oversize Bearings)
    G04583822Courtesy of FORD MOTOR CO.
    NOTE: Before assembling the cylinder block, all sealing surfaces must be free of chips, dirt, paint and foreign material. Also, make sure the coolant and oil passages are clear.
  9. Install the crankshaft upper main bearings into the cylinder block and lubricate them with clean engine oil.
  10. NOTE: The upper thrust washers are shown for location purposes only. Do not install the upper thrust washers until the crankshaft is installed. Refer to the following 2 steps.
  11. Install the crankshaft onto the upper crankshaft main bearings.
  12. Fig 10: Installing Crankshaft Onto Upper Crankshaft Main Bearings
    GF0002802Courtesy of FORD MOTOR CO.
    NOTE: If equipped, the oil groove on the thrust washer must face toward the front of the engine (against the crankshaft thrust surface).
  13. Push the crankshaft rearward and install the rear crankshaft upper thrust washer at the back of the No. 5 main boss.
  14. Fig 11: Installing Rear Crankshaft Upper Thrust Washer
    GF0000612Courtesy of FORD MOTOR CO.
    NOTE: If equipped, the oil groove on the thrust washer must face toward the front of the engine (against the crankshaft surface).
  15. Push the crankshaft forward and install the front crankshaft upper thrust washer at the front of the No. 5 main boss.
  16. Fig 12: Identifying Front Upper Crankshaft Thrust Washer
    G03886020Courtesy of FORD MOTOR CO.
    NOTE: To aid in assembly, apply petroleum jelly to the back of the crankshaft thrust washer.
    NOTE: If equipped, the oil groove on the thrust washer must face toward the rear of the engine (crankshaft surface).
  17. Install the lower crankshaft thrust washer to the back side of the No. 5 main bearing cap, with oil grooves facing the crankshaft surface.
  18. Fig 13: Installing Lower Crankshaft Thrust Washer To Back Side Of No 6 Main Bearing Cap
    GF0005639Courtesy of FORD MOTOR CO.
  19. Install the crankshaft lower main bearings into the main bearing caps and lubricate them with clean engine oil. Locate the main bearing cap on the cylinder block and keeping the cap as square as possible, alternately draw the cap down evenly using the cap fasteners.
  20. Install the dowel pins so the flat sides face the crankshaft.
  21. Fig 14: Installing Dowel Pins So Flat Sides Face Crankshaft
    GF0040924Courtesy of FORD MOTOR CO.
  22. Tighten the vertical main bearing cap fasteners in the sequence shown, in 2 stages:
    • Stage 1: Tighten to 40 Nm (30 lb-ft).
    • Stage 2: Tighten an additional 90 degrees.
  23. Fig 15: Identifying Main Bearing Cap Fasteners Tightening Sequence
    GF0002713Courtesy of FORD MOTOR CO.
  24. Install the side bolts and tighten them in 2 stages, in the sequence shown.
    • Stage 1: Tighten to 30 Nm (22 lb-ft).
    • Stage 2: Tighten an additional 90 degrees.
  25. Fig 16: Cross Bolt Torque Sequence
    GF0011725Courtesy of FORD MOTOR CO.
  26. Assemble the 8 pistons. For additional information, refer to Piston .
  27. Make sure the ring gaps (oil spacer-A, oil ring-B, compression ring-C) are correctly spaced around the circumference of the piston.
  28. Fig 17: Identifying Piston Ring Gap Positioning
    G03920387Courtesy of FORD MOTOR CO.
    CAUTION: Do not scratch the cylinder walls or crankshaft journals with the connecting rod.
    NOTE: The next 3 steps are for all 8 connecting rods, rod caps and pistons. Only one connecting rod, rod cap and piston is shown.
    NOTE: Make sure the identification marks on the piston and connecting rod face toward the front of the engine.
  29. Use the special tools to install the piston and connecting rod with the upper connecting rod bearing in place.
  30. Fig 18: Using Special Tools To Install Piston And Connecting Rod Assembly
    G03920388Courtesy of FORD MOTOR CO.
    CAUTION: Do not scratch the cylinder walls or crankshaft journals with the connecting rod.
  31. Once the connecting rod is seated on the crankshaft journal, remove the special tools.
  32. Fig 19: Identifying Special Tool (303-442)
    G03920389Courtesy of FORD MOTOR CO.
    CAUTION: The rod cap installation must keep the same orientation as marked during disassembly. Failure to follow these instructions may result in engine damage.
    NOTE: The connecting rod caps are of the "cracked" design and must mate with the connecting rod ends. Excessive bearing clearance will result if not mated correctly.
  33. Position the lower bearing and connecting rod, and install the new bolts loosely.
  34. NOTE: Main bearing caps are removed for clarity.
  35. Tighten the bolts in 2 stages, using the sequence shown.
    • Stage 1: Tighten to 43 Nm (32 lb-ft).
    • Stage 2: Tighten an additional 105 degrees.
  36. Fig 20: Rod Cap Bolt Torque Sequence
    GF0011714Courtesy of FORD MOTOR CO.
  37. Position the oil pump and tighten the bolts in the sequence shown.
    • Tighten to 10 Nm (89 lb-in).
  38. Fig 21: Identifying Oil Pump Bolts Tightening Sequence
    G03962526Courtesy of FORD MOTOR CO.
    CAUTION: Make sure all coolant residue and foreign material are cleaned from the block surface and cylinder bore. Failure to follow these instructions may result in engine damage.
    CAUTION: The use of sealing aids (aviation cement, copper spray and glue) is not permitted. The gasket must be installed dry. Failure to follow these instructions may result in engine damage.
    CAUTION: The cylinder head bolts must be discarded and new bolts installed. They are tighten-to-yield designed and cannot be reused. Failure to follow these instructions may result in engine damage.
    NOTE: Do not turn the crankshaft until instructed to do so.
    NOTE: LH shown, RH similar.
  39. Using the special tools, position the cylinder head gaskets and cylinder heads over the dowels and install the cylinder head bolts loosely.
  40. Fig 22: Locating Cylinder Head And Gaskets Using Special Tool (303-1040)
    G03920395Courtesy of FORD MOTOR CO.
    NOTE: LH shown, RH similar.
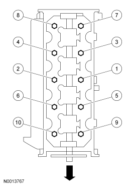
  41. Tighten the bolts in 3 stages, in the sequence shown.
    • Stage 1: Tighten to 40 Nm (30 lb-ft).
    • Stage 2: Tighten an additional 90 degrees.
    • Stage 3: Tighten an additional 90 degrees.
  42. Fig 23: Identifying Cylinder Head Bolts Tightening Sequence
    GF0002718Courtesy of FORD MOTOR CO.
    NOTE: Lubricate the hydraulic lash adjusters with clean engine oil prior to installation.
  43. Install the hydraulic lash adjusters in their original locations.
  44. Fig 24: Locating Hydraulic Lash Adjusters
    GF0002630Courtesy of FORD MOTOR CO.
  45. Install 16 new exhaust maniflold-to-cylinder head studs.
    • Tighten to 12 Nm (9 lb-ft).
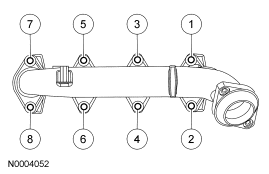
  46. Position the new gaskets and the RH exhaust manifold and tighten the 8 new nuts in the sequence shown.
    • Tighten to 25 Nm (18 lb-ft).
  47. Fig 25: Right Exhaust Manifold Torque Sequence
    G03962505Courtesy of FORD MOTOR CO.
  48. Position the new gaskets and the LH exhaust manifold and tighten the 8 new nuts in the sequence shown.
    • Tighten to 25 Nm (18 lb-ft).
  49. Fig 26: LH Exhaust Manifold Nut Tightening Sequence
    GF0002633Courtesy of FORD MOTOR CO.
    CAUTION: Timing chain procedures must be followed exactly or damage to valves and pistons will result.
    CAUTION: Prior to installation, inspect the tensioner-sealing bead for seal integrity. If cracks, tears, separation from the tensioner body or permanent compression of the seal bead is observed, install a new tensioner. Failure to follow these instructions may result in engine damage.
  50. Compress the tensioner plunger, using a vise.
  51. Fig 27: Compressing Tensioner Plunger
    G03885344Courtesy of FORD MOTOR CO.
  52. Install a retaining clip on the tensioner to hold the plunger in during installation.
  53. Fig 28: Identifying Retaining Clip on Tensioner
    G03881580Courtesy of FORD MOTOR CO.
  54. If the copper links are not visible, mark 2 links on one end and 1 link on the other end, and use as timing marks.
  55. Fig 29: Locating Timing Chain Marks
    G03885317Courtesy of FORD MOTOR CO.
  56. Install the timing chain guides.
    1. Position the LH timing chain guide.
    2. Install the 2 LH bolts.
      • Tighten to 10 Nm (89 lb-in).
    3. Position the RH timing chain guide.
    4. Install the 2 RH bolts.
      • Tighten to 10 Nm (89 lb-in).
  57. Fig 30: Identifying Timing Chain Guides
    G03962457Courtesy of FORD MOTOR CO.
  58. Rotate the RH camshaft sprocket until the timing mark is approximately at the 11 o'clock position. Rotate the LH camshaft sprocket until the timing mark is approximately at the 12 o'clock position.
  59. Fig 31: Identifying LH And RH Camshaft Timing Mark Position
    G04583473Courtesy of FORD MOTOR CO.
    CAUTION: Unless otherwise instructed, at no time when the timing chains are removed and the cylinder heads are installed is the crankshaft or camshaft to be rotated. Severe piston and valve damage will occur.
    CAUTION: Rotate the crankshaft counterclockwise only. Do not rotate past position shown or severe piston and valve damage can occur.
    NOTE: The No. 1 cylinder is at top dead center (TDC) when the stud on the engine block fits into the slot in the handle of the special tool.
  60. Position the crankshaft so the No. 1 cylinder is at TDC with the special tool.
  61. Fig 32: Positioning Crankshaft With Special Tool (303-448)
    G03919963Courtesy of FORD MOTOR CO.
  62. Install the crankshaft sprocket, making sure the flange faces forward.
  63. Fig 33: Identifying Crankshaft Sprocket
    G03919967Courtesy of FORD MOTOR CO.
  64. Position the lower end of the LH (inner) timing chain on the crankshaft sprocket, aligning the timing mark on the outer flange of the crankshaft sprocket with the single copper (marked) link on the chain.
  65. Fig 34: Aligning Timing Mark Of Crankshaft Sprocket With Single Copper Link On Chain
    G03886474Courtesy of FORD MOTOR CO.
    NOTE: Make sure the upper half of the timing chain is below the tensioner arm dowel.
    NOTE: If necessary, use the Camshaft Alignment Set to adjust the camshaft sprocket slightly to obtain timing mark alignment.
  66. Position the timing chain on the camshaft sprocket with the camshaft sprocket timing mark positioned between the 2 copper (marked) chain links.
  67. Fig 35: Positioning Timing Chain On Camshaft Sprocket
    GF0011648Courtesy of FORD MOTOR CO.
    NOTE: The LH timing chain tensioner arm has a bump near the dowel hole for identification.
  68. Position the LH timing chain tensioner arm on the dowel pin and install the LH timing chain tensioner.
    • Tighten to 25 Nm (18 lb-ft).
  69. Fig 36: Locating LH Timing Chain Tensioner
    GF0002622Courtesy of FORD MOTOR CO.
  70. Remove the retaining clip from the LH timing chain tensioner.
  71. Fig 37: Identifying Retaining Clip And Timing Chain Tensioner
    G03881591Courtesy of FORD MOTOR CO.
    NOTE: The lower half of the timing chain must be positioned above the tensioner arm dowel.
  72. Position the lower end of the RH (outer) timing chain on the crankshaft sprocket, aligning the timing mark on the sprocket with the single copper (marked) link on the timing chain.
  73. Fig 38: Aligning Timing Mark On Crankshaft Sprocket With Single Copper Chain Link
    G03885327Courtesy of FORD MOTOR CO.
    NOTE: If necessary, use the Camshaft Alignment Set to adjust the camshaft sprocket slightly to obtain timing mark alignment.
  74. Position the RH timing chain on the camshaft sprocket. Make sure the camshaft sprocket timing mark is positioned between the 2 copper (marked) chain links.
  75. Fig 39: Aligning Copper-Colored (Marked) Links With Camshaft Sprocket Timing Mark
    G03885328Courtesy of FORD MOTOR CO.
  76. Position the RH timing chain tensioner arm on the dowel pin and install the RH timing chain tensioner.
    • Tighten to 25 Nm (18 lb-ft).
  77. Fig 40: Locating RH Timing Chain Tensioner Arm
    GF0002623Courtesy of FORD MOTOR CO.
  78. Remove the retaining clip from the RH timing chain tensioner.
  79. Fig 41: Identifying Retaining Clip And Timing Chain Tensioner
    G03881591Courtesy of FORD MOTOR CO.
  80. As a post-check, verify correct alignment of all timing marks.
  81. Fig 42: Identifying Alignment Of All Timing Marks
    G03906021Courtesy of FORD MOTOR CO.
  82. Position the crankshaft sensor ring on the crankshaft.
  83. Fig 43: View Of Crankshaft Sensor Ring At Crankshaft
    G04583449Courtesy of FORD MOTOR CO.
    NOTE: Camshaft roller follower is removed for clarity.
  84. Install the special tool between the valve spring coils to prevent valve stem seal damage.
  85. Fig 44: Installing Special Tool Between Valve Spring Coils
    G03962476Courtesy of FORD MOTOR CO.
    CAUTION: The camshaft roller followers must be installed in their original locations. Failure to follow these instructions may result in engine damage.
    NOTE: Do not allow the valve keepers to fall off the valve or the valve may drop into the cylinder. If a valve drops into the cylinder, the cylinder head must be removed. For additional information, refer to Engine .
    NOTE: It may be necessary to push the valve down while compressing the spring.
    NOTE: Position the cam lobe away from the valve stem prior to installing each camshaft roller follower.
  86. Use the special tool to compress the valve springs, and install the camshaft roller follower.
  87. Fig 45: Compressing Valve Springs Using Special Tool (303-567)
    G04612479Courtesy of FORD MOTOR CO.
  88. Repeat the previous 3 steps for each camshaft roller follower.
  89. CAUTION: Only use hand tools when removing or installing the spark plugs or damage can occur to the cylinder head or spark plug.
    NOTE: Use compressed air to remove any foreign material from the spark plug well before removing the spark plugs.
    NOTE: If an original spark plug is used, make sure it is installed in the same cylinder from which it was taken. New spark plugs can be used in any cylinder.
    NOTE: Refer to SPECIFICATIONS  for correct spark plug identification.
  90. Install the 8 spark plugs.
    • Tighten to 18 Nm (13 lb-ft).
  91. CAUTION: Do not use metal scrapers, wire brushes, power abrasive discs or other abrasive means to clean the sealing surfaces. These tools cause scratches and gouges which make leak paths. Use a plastic scraping tool to remove all traces of old sealant.
    NOTE: If the engine front cover is not secured within 4 minutes, the sealant must be removed and the sealing area cleaned with silicone gasket remover and metal surface prep. Follow the directions on the packaging. Allow to dry until there is no sign of wetness, or 4 minutes, whichever is longer. Failure to follow this procedure can cause future oil leakage.
    NOTE: Make sure that the engine front cover gasket is in place on the engine front cover before installation.
  92. Apply a bead of silicone gasket and sealant along the cylinder head-to-cylinder block surface at the locations shown.
  93. Fig 46: Applying Sealant To Cylinder Head-To-Cylinder Block Seam
    GF0011717Courtesy of FORD MOTOR CO.
  94. Install a new engine front cover gasket on the engine front cover. Position the engine front cover. Install the fasteners finger-tight.
  95. Fig 47: Installing Engine Front Cover Gasket
    GF0000367Courtesy of FORD MOTOR CO.
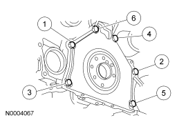
  96. Tighten the engine front cover fasteners in sequence in 3 stages.

    Stage 1: Tighten fasteners 1 through 5 to 25 Nm (18 lb-ft).

    Stage 2: Tighten fasteners 6 and 7 to 48 Nm (35 lb-ft).

    Stage 3: Tighten fasteners 8 through 15 to 48 Nm (35 lb-ft).

    Item Part Number Description
    1 N806177 Bolt, Hex Flange Head Pilot, M8 x 1.25 x 53
    2 N806177 Bolt, Hex Flange Head Pilot, M8 x 1.25 x 53
    3 N806177 Bolt, Hex Flange Head Pilot, M8 x 1.25 x 53
    4 N806177 Bolt, Hex Flange Head Pilot, M8 x 1.25 x 53
    5 N806177 Bolt, Hex Flange Head Pilot, M8 x 1.25 x 53
    6 N808529 Stud, Hex Head Pilot, M10 x 1.5 x 59 - M10 x 1.5 x 30
    7 N808529 Stud, Hex Head Pilot, M10 x 1.5 x 59 - M10 x 1.5 x 30
    8 N808142 Screw and Washer, Hex Pilot, M10 x 1.5 x 57.5
    9 N808142 Screw and Washer, Hex Pilot, M10 x 1.5 x 57.5
    10 N808142 Screw and Washer, Hex Pilot, M10 x 1.5 x 57.5
    11 N808140 Stud and Washer, Hex Head Pilot, M10 x 1.5 x 68 - M8 x 1.25 x 27
    12 N808140 Stud and Washer, Hex Head Pilot, M10 x 1.5 x 68 - M8 x 1.25 x 27
    13 N808140 Stud and Washer, Hex Head Pilot, M10 x 1.5 x 68 - M8 x 1.25 x 27
    14 N808140 Stud and Washer, Hex Head Pilot, M10 x 1.5 x 68 - M8 x 1.25 x 27
    15 N808140 Stud and Washer, Hex Head Pilot, M10 x 1.5 x 68 - M8 x 1.25 x 27
  97. Fig 48: Engine Front Cover Torque Sequence
    GF0011642Courtesy of FORD MOTOR CO.
    CAUTION: Do not use metal scrapers, wire brushes, power abrasive discs or other abrasive means to clean sealing surfaces. These tools cause scratches and gouges which make leak paths.
  98. Inspect and clean the valve cover sealing surfaces with silicone gasket remover and metal surface prep. Follow the directions on the packaging.
  99. Apply instant adhesive completely around the gasket groove in the LH valve cover. Install the new valve cover gasket.
  100. Fig 49: Identifying Proper Valve Cover Gasket Sealant Application
    G03948210Courtesy of FORD MOTOR CO.
    NOTE: If not secured within 4 minutes, the sealant must be removed and the sealing area cleaned with silicone gasket remover and metal surface prep. Follow the directions on the packaging. Allow to dry until there is no sign of wetness, or 4 minutes, whichever is longer. Failure to follow this procedure can cause future oil leakage.
  101. Apply silicone gasket and sealant in 2 places where the engine front cover meets the cylinder head.
  102. Fig 50: Applying Sealant Where Engine Front Cover Meets Cylinder Head
    G03947580Courtesy of FORD MOTOR CO.
  103. Position the LH valve cover and gasket on the cylinder head and install the fasteners loosely.
  104. Fig 51: View Of LH Valve Cover And Gasket At Cylinder Head
    G03885960Courtesy of FORD MOTOR CO.
  105. Tighten the bolts in the sequence shown.
    • Tighten to 10 Nm (89 lb-in).
  106. Fig 52: Valve Cover Torque Sequence - 5.4L
    GF0011621Courtesy of FORD MOTOR CO.
  107. Apply instant adhesive completely around the gasket groove in the RH valve cover. Install the new valve cover gasket.
  108. Fig 53: Valve Cover Gasket
    G03905398Courtesy of FORD MOTOR CO.
    NOTE: If not secured within 4 minutes, the sealant must be removed and the sealing area cleaned with silicone gasket remover and metal surface prep. Follow the directions on the packaging. Allow to dry until there is no sign of wetness, or 4 minutes, whichever is longer. Failure to follow this procedure can cause future oil leakage.
  109. Apply silicone gasket and sealant in 2 places where the engine front cover meets the cylinder head.
  110. Fig 54: Applying Sealant At Engine Front Cover & Cylinder Head Seam
    G03947588Courtesy of FORD MOTOR CO.
  111. Position the RH valve cover and gasket on the cylinder head and install the fasteners loosely.
  112. Fig 55: Positioning RH Valve Cover And Gasket On Cylinder Head
    GF0002727Courtesy of FORD MOTOR CO.
  113. Tighten the bolts in the sequence shown.
    • Tighten to 10 Nm (89 lb-in).
  114. Fig 56: Valve Cover Fastener Torque Sequence
    GF0011632Courtesy of FORD MOTOR CO.
    NOTE: Lubricate the O-ring with clean engine oil prior to installation.
  115. Install the camshaft position (CMP) sensor and bolt.
    • Tighten to 10 Nm (89 lb-in).
  116. Fig 57: Locating LH CMP Sensor Bolt
    G03919989Courtesy of FORD MOTOR CO.
  117. Position the accessory drive belt idler pulley and install the bolt.
    • Tighten to 25 Nm (18 lb-ft).
  118. Fig 58: Accessory Drive Belt Idler Pulley And Retaining Bolt
    G04613548Courtesy of FORD MOTOR CO.
  119. Lubricate the engine front cover and the crankshaft front seal inner lip with clean engine oil.
  120. Fig 59: Locating Crankshaft Front Seal
    G03881970Courtesy of FORD MOTOR CO.
  121. Using the special tools, install a new crankshaft front seal.
  122. Fig 60: Installing Crankshaft Front Seal Using Special Tools
    G03919891Courtesy of FORD MOTOR CO.
    NOTE: If not secured within 4 minutes, the sealant must be removed and the sealing area cleaned with silicone gasket remover and metal surface prep. Follow the directions on the packaging. Allow to dry until there is no sign of wetness, or 4 minutes, whichever is longer. Failure to follow this procedure can cause future oil leakage.
  123. Apply silicone gasket and sealant to the Woodruff key slot on the crankshaft pulley.
  124. Fig 61: Identifying Woodruff Key Slot On Crankshaft Pulley
    G03948080Courtesy of FORD MOTOR CO.
  125. Using the special tool, install the crankshaft pulley.
  126. Fig 62: Installing Crankshaft Pulley Using Special Tool
    G03919878Courtesy of FORD MOTOR CO.
    NOTE: Use a suitable strap wrench (303-D055) to hold the pulley while tightening the bolt.
  127. Tighten the new crankshaft pulley bolt in 4 stages.
    • Stage 1: Tighten to 90 Nm (66 lb-ft).
    • Stage 2: Loosen one full turn.
    • Stage 3: Tighten to 50 Nm (37 lb-ft).
    • Stage 4: Tighten an additional 90 degrees.
  128. Fig 63: Identifying Crankshaft Pulley Bolt Tightening Sequence
    GF0002723Courtesy of FORD MOTOR CO.
    NOTE: Lubricate the new O-ring seal with clean engine oil prior to installation.
  129. Install the crankshaft position (CKP) sensor and the bolt.
    • Tighten to 10 Nm (89 lb-in).
  130. Fig 64: Locating Crankshaft Position (CKP) Sensor Bolt
    G03920231Courtesy of FORD MOTOR CO.
    CAUTION: Do not rotate the coolant pump housing once the coolant pump has been positioned in the cylinder block. Damage to the O-ring seal will occur.
  131. Install the coolant pump.
    1. Lubricate the new O-ring seal using clean engine coolant and install the O-ring seal onto the coolant pump.
    2. Position the coolant pump into the engine block.
    3. Install the bolts.
    4. Tighten to 25 Nm (18 lb-ft).
  132. Fig 65: Installing Coolant Pump
    GF0002722Courtesy of FORD MOTOR CO.
    NOTE: The front lower hole in the power steering pump is not used.
  133. Position the power steering pump and install the 3 bolts.
    • Tighten to 25 Nm (18 lb-ft).
  134. Fig 66: Power Steering Pump Bolts
    GF0011694Courtesy of FORD MOTOR CO.
    NOTE: Lubricate the O-ring seal with clean engine oil prior to installation.
  135. Using a new O-ring seal, install the oil level indicator tube and the bolt.
    • Tighten to 10 Nm (89 lb-in).
  136. Fig 67: Oil Level Indicator Tube & Bolt
    GF0011718Courtesy of FORD MOTOR CO.
  137. Install the oil level indicator and tube support bracket nut.
    • Tighten to 25 Nm (18 lb-ft).
  138. Fig 68: Oil Level Indicator Tube Bracket Nut
    GF0011614Courtesy of FORD MOTOR CO.
    NOTE: RH shown, LH similar.
  139. Install the radio frequency interference capacitors and the nuts.
    • Tighten to 25 Nm (18 lb-ft).
  140. Fig 69: Radio Interference Capacitor And Retaining Nut
    G04612142Courtesy of FORD MOTOR CO.
  141. Roughly position the engine control sensor wiring harness and mount it on the valve cover studs.
  142. Connect the CKP sensor electrical connector.
  143. Fig 70: Locating CKP Sensor Electrical Connector And Harness Retainer
    GF0002667Courtesy of FORD MOTOR CO.
  144. Connect the engine oil pressure (EOP) switch electrical connector.
  145. Fig 71: Locating Oil Pressure Switch Electrical Connector
    G03886309Courtesy of FORD MOTOR CO.
  146. Connect the knock sensor (KS) electrical connector.
  147. Fig 72: Knock Sensor (KS) Electrical Connector
    G03886734Courtesy of FORD MOTOR CO.
  148. Connect the RH radio frequency interference capacitor electrical connector.
  149. Fig 73: Locating RH Radio Ignition Interference Capacitor Electrical Connector
    G03885622Courtesy of FORD MOTOR CO.
  150. Connect the CMP sensor electrical connector.
  151. Fig 74: Locating Camshaft Position (CMP) Sensor Electrical Connector
    G03885221Courtesy of FORD MOTOR CO.
  152. Connect the LH radio frequency interference capacitor and cylinder head temperature (CHT) sensor electrical connectors.
  153. Fig 75: Locating LH Radio Ignition Interference Capacitor And Cylinder Head Temperature (CHT) Sensor Electrical Connectors
    G03962635Courtesy of FORD MOTOR CO.
    NOTE: LH shown, RH similar.
  154. Install the cylinder block drain plugs.
    • Tighten to 20 Nm (15 lb-ft).
  155. Fig 76: Locating Cylinder Block Drain Plug
    G03885619Courtesy of FORD MOTOR CO.
  156. Position the oil filter adapter gasket and the oil filter adapter. Install the nuts and bolts.
    • Tighten the front bolts to 25 Nm (18 lb-ft).
    • Tighten the rear nut to 48 Nm (35 lb-ft).
  157. Fig 77: Identifying Oil Filter Adapter Nuts And Bolts
    G03885425Courtesy of FORD MOTOR CO.
    NOTE: RH shown, LH similar.
  158. Position the RH and LH engine support insulators and install the 6 bolts.
    • Tighten to 80 Nm (59 lb-ft).
  159. Fig 78: RH Engine Support Insulator Bolts
    G04612459Courtesy of FORD MOTOR CO.
  160. Position the coolant pump pulley on the coolant pump and install the 4 bolts.
    • Tighten to 25 Nm (18 lb-ft).
  161. Fig 79: Identifying Coolant Pump Pulley Bolts
    G04612515Courtesy of FORD MOTOR CO.
  162. Install the pickup tube spacer.
    • Tighten to 25 Nm (18 lb-ft).
  163. Fig 80: Locating Pickup Tube Spacer
    GF0002716Courtesy of FORD MOTOR CO.
    CAUTION: Make sure the O-ring is in place and not damaged. A missing or damaged O-ring can cause foam in the lubrication system, low oil pressure and severe engine damage.
    NOTE: Clean and inspect the mating surfaces and install a new O-ring. Lubricate with the O-ring with clean engine oil.
  164. Position the oil pump screen and pickup tube and install the bolts.
    1. Tighten to 25 Nm (18 lb-ft).
    2. Tighten to 10 Nm (89 lb-in).
  165. Fig 81: Locating Oil Pump Screen And Pickup Tube
    G03962527Courtesy of FORD MOTOR CO.
  166. Install the special tool.
  167. Fig 82: Special Tool (303-D087)
    G04612457Courtesy of FORD MOTOR CO.
  168. Install the special tool.
  169. Fig 83: Special Tool (303-D088)
    G04612458Courtesy of FORD MOTOR CO.
  170. Install the special tool and remove the engine from the work stand.
  171. Fig 84: Installing Special Tool (303-D088) & Removing Engine From Work Stand
    GF0011719Courtesy of FORD MOTOR CO.
    CAUTION: Do not use metal scrapers, wire brushes, power abrasive discs or other abrasive means to clean the aluminum retainer plate. These tools cause scratches and gouges, which make leak paths. Use a plastic scraping tool to remove all traces of old sealant.
  172. Inspect the crankshaft rear seal retainer plate. Clean the mating surface for the rear seal retainer plate with silicone gasket remover and metal surface prep. Follow the directions on the packaging.
  173. NOTE: If not secured within 4 minutes, the sealant must be removed and the sealing area cleaned with silicone gasket remover and metal surface prep. Follow the directions on the packaging. Allow to dry until there is no sign of wetness, or 4 minutes, whichever is longer. Failure to follow this procedure can cause future oil leakage.
  174. Apply a 4 mm (0.16 in) bead of silicone gasket and sealant around the crankshaft rear seal retainer sealing surface.
  175. Fig 85: Applying Sealant Around Crankshaft Rear Seal Retainer Plate Sealing Surface
    GF0002781Courtesy of FORD MOTOR CO.
  176. Install the crankshaft rear seal retainer plate and loosely install the 6 bolts.
  177. Fig 86: Locating Crankshaft Rear Seal Retainer Plate Bolts
    GF0000369Courtesy of FORD MOTOR CO.
  178. Tighten the bolts in the sequence shown.
    • Tighten to 10 Nm (89 lb-in).
  179. Fig 87: Crankshaft Rear Seal Retainer Plate Bolt Tightening Sequence
    GF0002724Courtesy of FORD MOTOR CO.
    CAUTION: Do not use metal scrapers, wire brushes, power abrasive discs or other abrasive means to clean the sealing surfaces. These tools cause scratches and gouges, which make leak paths. Use a plastic scraping tool to clean sealing surfaces.
  180. Inspect the oil pan. Clean the mating surface for the oil pan with silicone gasket remover and metal surface prep. Follow the directions on the packaging.
  181. NOTE: If the oil pan is not secured within 4 minutes, the sealant must be removed and the sealing areas cleaned with silicone gasket remover and metal surface prep. Follow the directions on the packaging. Allow to dry until there is no sign of wetness, or 4 minutes, whichever is longer. Failure to follow this procedure can cause future oil leakage.
  182. Apply silicone gasket and sealant at the rear oil seal retainer-to-cylinder block sealing surface.
  183. Fig 88: Applying Silicone Gasket And Sealant
    GF0000322Courtesy of FORD MOTOR CO.
    NOTE: If the oil pan is not secured within 4 minutes, the sealant must be removed and the sealing areas cleaned with silicone gasket remover and metal surface prep. Follow the directions on the packaging. Allow to dry until there is no sign of wetness, or 4 minutes, whichever is longer. Failure to follow this procedure can cause future oil leakage.
  184. Apply silicone gasket and sealant at the engine front cover-to-cylinder block sealing surface.
  185. Fig 89: Applying Sealant At Engine Front Cover-To-Cylinder Block Mating Surface
    G03920465Courtesy of FORD MOTOR CO.
  186. Install the oil pan gasket and the oil pan and loosely install the bolts.
  187. Fig 90: Positioning New Oil Pan Gasket And Oil Pan
    GF0000323Courtesy of FORD MOTOR CO.
  188. Tighten the bolts in 3 stages, in the sequence shown.
    • Stage 1: Tighten to 2 Nm (18 lb-in).
    • Stage 2: Tighten to 20 Nm (15 lb-ft).
    • Stage 3: Tighten an additional 60 degrees.
  189. Fig 91: Identifying Oil Pan Bolt Tightening Sequence
    G03920110Courtesy of FORD MOTOR CO.
  190. Lower the engine onto wooden blocks.
  191. Install the special tool and raise the engine.
  192. Fig 92: Identifying Special Tool (303-F047)
    G03962845Courtesy of FORD MOTOR CO.
    NOTE: Lubricate the inner lip of the crankshaft rear seal with clean engine oil.
  193. Using the special tools, install a new crankshaft rear seal.
  194. Fig 93: Using Special Tools To Install New Crankshaft Rear Seal
    G04583928Courtesy of FORD MOTOR CO.
  195. Using the special tools, install a new crankshaft rear oil slinger.
  196. Fig 94: Installing Crankshaft Rear Oil Slinger Using Special Tools
    G03920154Courtesy of FORD MOTOR CO.
  197. Install the flexplate and the 8 bolts. Tighten the bolts in 2 stages in the sequence shown.
    • Stage 1: Tighten to 20 Nm (15 lb-ft).
    • Stage 2: Tighten to 80 Nm (59 lb-ft).
  198. Fig 95: Identifying Tightening Sequence For Flexplate Or Flywheel Bolts
    G03920141Courtesy of FORD MOTOR CO.
  199. Install the engine. For additional information, refer to Engine .