LEMON Manuals: Even more car manuals for everyone: 1960-2025
Home >> Ford >> 2004 >> Excursion 6.0 P, 4WD >> Repair and Diagnosis >> External Pages >> Different car >> Section 1061 (Power Steering System) >> Removal And Installation >> Variable Assist Power Steering (VAPS) Module >> Removal and Installation
April 5, 2026: LEMON Manuals is launched! Read the announcement.

Removal and Installation

WARNING: This page is about a different car, the 2006 Mercury Grand Marquis and 2006 Ford Crown Victoria. However, it is still accessible from the selected car via links, so may be relevant.
CAUTION: Electronic modules are sensitive to static electrical charges. If exposed to these charges, damage may result.
  1. Disconnect the battery ground cable. For additional information, refer to BATTERY, MOUNTING AND CABLES .
  2. Pull out the lower instrument panel insulator.
    1. Remove the pushpins.
    2. Pull out the lower instrument panel insulator.
  3. Remove the lower instrument panel insulator.
    1. Disconnect the power point.
    2. Disconnect the courtesy lamp.
    3. Remove the lower instrument panel insulator.
      Fig 1: Removing Lower Instrument Panel Insulator
      G04583274Courtesy of FORD MOTOR CO.
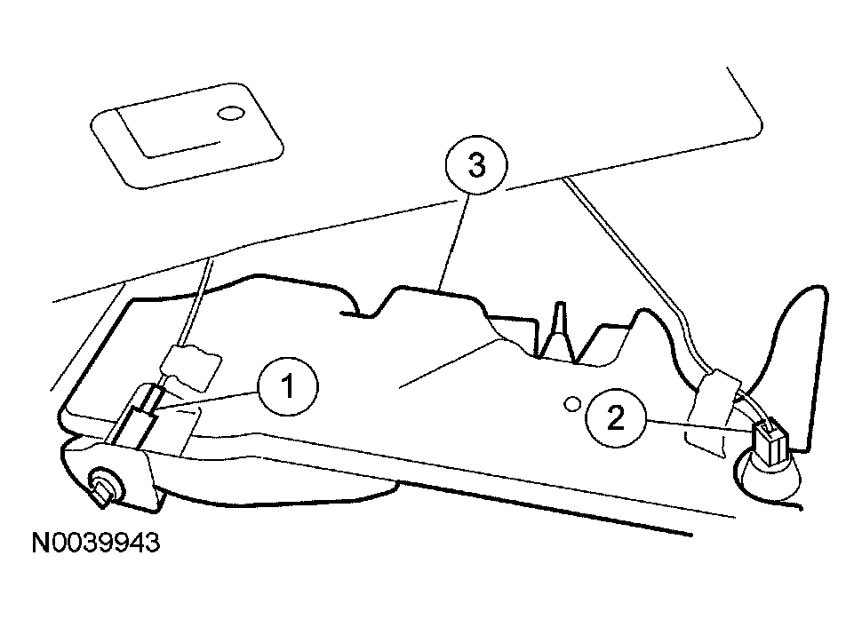
  4. Remove the VAPS module.
    1. Remove the screws.
    2. Disconnect the electrical connectors.
    3. Remove the module.
      Fig 2: Removing VAPS Module
      G04583275Courtesy of FORD MOTOR CO.
  5. To install, reverse the removal procedure.