LEMON Manuals: Even more car manuals for everyone: 1960-2025
Home >> Ford >> 2004 >> Explorer 4.0 E, AWD >> Repair and Diagnosis (Single Page) >> Electrical >> Horns >> Information Center >> General Procedures >> Azimuth System Check >> Maximum Detectable Object Locations
April 5, 2026: LEMON Manuals is launched! Read the announcement.

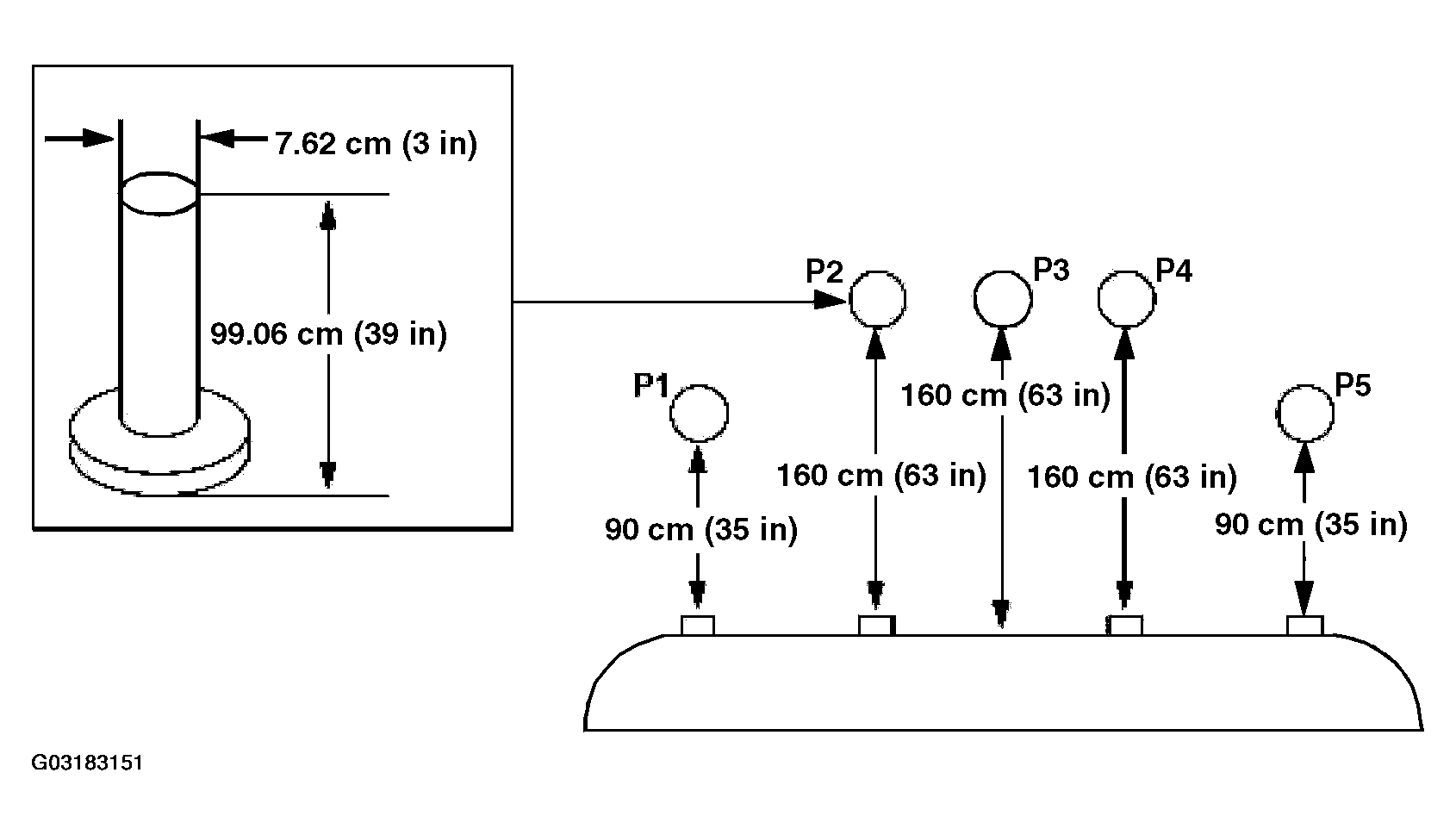
Maximum Detectable Object Locations

Fig 1: Identifying Azimuth System Object Locations
G03183151Courtesy of FORD MOTOR CO.
    NOTE: The detectable object used in this system check can be fabricated using a 7.62 cm (3 in) diameter pipe 99.06 cm (39 in) in length.
    NOTE: The following system check should be carried out with the vehicle on a level surface.
    NOTE: The parking aid system defaults to on when the ignition key is cycled from off to on.
  1. Turn the ignition switch to the ON position, with the engine off.
  2. Set the parking brake.
  3. Place the transmission in REVERSE (R).
  4. Verify that the parking aid system detects the specified object when placed in the 5 specified locations (P1, P2, P3, P4, P5).