LEMON Manuals: Even more car manuals for everyone: 1960-2025
Home >> Ford >> 2004 >> Explorer 4.0 E, AWD >> Repair and Diagnosis (Single Page) >> External Pages >> Different car >> Section 303 (Module Communications Network System) >> General Procedures >> Communication Circuit Wiring Repair >> Special Tool(s)
April 5, 2026: LEMON Manuals is launched! Read the announcement.

Special Tool(s)

WARNING: This page is about a different car, the 2003 Mercury Marauder, 2003 Mercury Grand Marquis, and 2003 Ford Crown Victoria. However, it is still accessible from the selected car via links, so may be relevant.
Fig 1: Identifying Special Tool(s)
G01606123Courtesy of FORD MOTOR CO.
  1. Disconnect the battery ground cable. For additional information, refer to BATTERY, MOUNTING AND CABLES .
  2. Strip the wires.
    Fig 2: Striping Wires
    G01606124Courtesy of FORD MOTOR CO.
  3. NOTE: Use rosin core mildly activated (RMA) solder, not acid core solder.
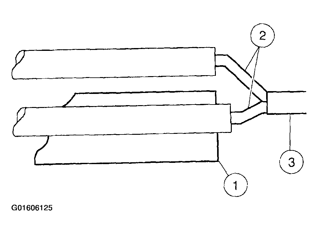
    Fig 3: Soldering Wires
    G01606125Courtesy of FORD MOTOR CO.
  4. Solder the wires.
    1. Install the heat shrink tube.
    2. Twist the wires together.
    3. Solder the wires together.
  5. NOTE: Wait for the solder to cool before moving the wires.
    Fig 4: Bending Wires Back In Straight Line
    G01606126Courtesy of FORD MOTOR CO.
  6. Bend the wires back in a straight line.
  7. Position the (A) heat shrink tube over the (B) wire repair.
    • Overlap the heat shrink tube on both wires.
    Fig 5: Positioning Heat Shrink Tube Over Wire Repair
    G01606127Courtesy of FORD MOTOR CO.
  8. Use the heat gun to heat the repaired area until adhesive flows out both ends of the heat shrink tube.
    Fig 6: Heating Repaired Area Until Adhesive Flows Out Both Ends Of Heat Shrink Tube
    G01606128Courtesy of FORD MOTOR CO.
  9. Reconnect the battery ground cable.