LEMON Manuals: Even more car manuals for everyone: 1960-2025
Home >> Ford >> 2004 >> Explorer 4.0 E, AWD >> Repair and Diagnosis >> External Pages >> Different car >> Section 266 (Driveline System) >> Disassembly And Assembly >> Front Axle Assembly >> Disassembly & Assembly >> Item 32 and 33: Axle Isolator Bushing Disassembly Note
April 5, 2026: LEMON Manuals is launched! Read the announcement.

Item 32 and 33: Axle Isolator Bushing Disassembly Note

WARNING: This page is about a different car, the 2003 Mercury Mountaineer and 2003 Ford Explorer. However, it is still accessible from the selected car via links, so may be relevant.
  1. Place the special tool on the isolator and index-mark the housing in line with the arrow on the special tool.
    Fig 1: Placing Index-Mark On Housing
    G01270946Courtesy of FORD MOTOR CO.
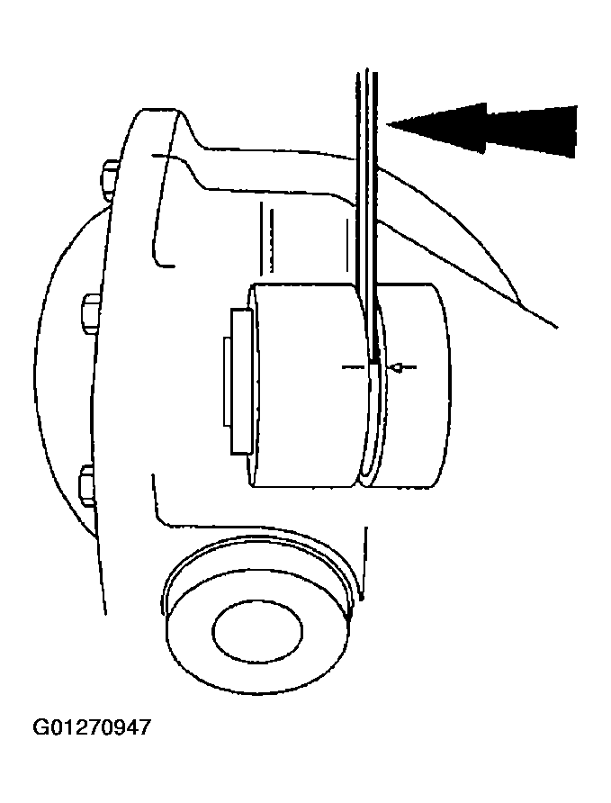
  2. Using a feeler gauge, measure the gap between the isolator flange and the axle housing.
    Fig 2: Measuring Gap Between Isolator Flange And Axle Housing
    G01270947Courtesy of FORD MOTOR CO.
  3. Tap the special tool on, between the axle housing and the isolator flange.
    Fig 3: Tapping Special Tool On, Between Axle Housing And Isolator Flange
    G01270948Courtesy of FORD MOTOR CO.
  4. Assemble the remaining special tools and remove and discard the isolator.
    Fig 4: Removing Isolator
    G01270949Courtesy of FORD MOTOR CO.