LEMON Manuals: Even more car manuals for everyone: 1960-2025
Home >> Ford >> 2004 >> Explorer 4.6 W, AWD >> Repair and Diagnosis >> External Pages >> Different car >> Section 287 (HVAC System - Climate Control System) >> Diagnosis And Testing >> Climate Control System >> Connector Circuit Reference >> DATC Module C228a
April 5, 2026: LEMON Manuals is launched! Read the announcement.

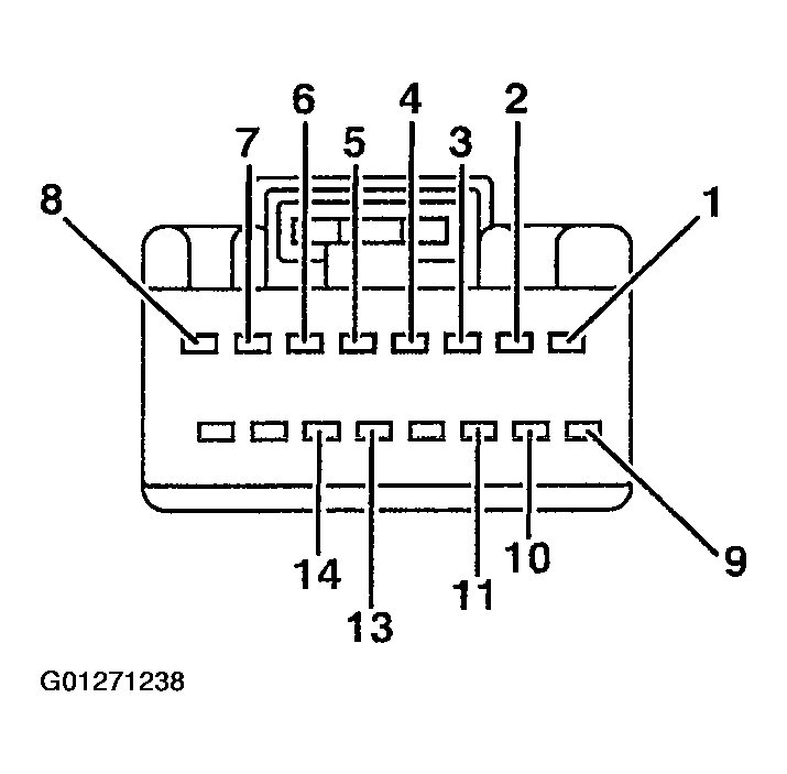
DATC Module C228a

WARNING: This page is about a different car, the 2003 Mercury Mountaineer and 2003 Ford Explorer. However, it is still accessible from the selected car via links, so may be relevant.
Fig 1: Identifying DATC Module C228a Terminal View (1 Of 2)
G01271238Courtesy of FORD MOTOR CO.
Fig 2: Identifying DATC Module C228a Terminal View (2 Of 2)
G01271239Courtesy of FORD MOTOR CO.