LEMON Manuals: Even more car manuals for everyone: 1960-2025
Home >> Ford >> 2004 >> Explorer 4WD V8-4.6L SOHC VIN W >> Repair and Diagnosis >> Specifications >> Mechanical Specifications >> Engine >> Cylinder Block Assembly >> System Specifications
April 5, 2026: LEMON Manuals is launched! Read the announcement.

System Specifications

Cylinder bore diameter-grade 1 90.200-90.213 mm (3.5512-3.5517 inch)
Cylinder bore diameter-grade 2 90.213-90.226 mm (3.5517-3.5522 inch)
Cylinder bore diameter-grade 3 90.226-90.239 mm (3.5522-3.5527 inch)
Cylinder bore maximum taper 0.006 mm (0.0002 inch)
Cylinder bore maximum out-of-round 0.020 mm (0.0008 inch)
Main bearing bore inside diameter 72.401-72.422 mm (2.85-2.851 inch)
Head gasket surface flatness 0.05 mm (0.0020 inch) in any 150 mm x 150 mm (6.0 in x 6.0 inch) area
Connecting rod length (center-to-center) 150.7 mm (5.93 inch)
Connecting rod maximum allowed bend 0.038 mm per 25 mm (0.0015-0.984 inch)
Connecting rod maximum allowed twist 0.050 mm per 25 mm (0.00197 per 0.9843 inch)
Connecting rod side clearance-assembled to crank (standard) 0.15-0.45 mm (0.0059-0.0177 inch)
Connecting rod bearing bore diameter 56.866-56.886 mm (2.238-2.239 inch)
Connecting rod bearing-to-crankshaft clearance 0.027-0.069 mm (0.001-0.0027 inch)
Piston diameter-coded red 1 90.177-90.197 mm (3.550-3.551 inch)
Piston diameter-coded blue 2 90.190-90.210 mm (3.5507-3.5515 inch)
Piston diameter-coded yellow 3 90.203-90.223 mm (3.513-3.5521 inch)
Piston-to-cylinder bore clearance 0.012-0.026 mm (0.0005-0.001 inch)
Piston ring end gap-top and bottom 0.23-0.49 mm (0.01-0.02 inch) Piston ring end gap-oil ring (steel rail) 0.05-0.66 mm (0.006-0.026 inch)
Piston ring groove width-compression (top) 1.520-1.550 (0.06-0.610 inch)
Piston ring groove width-compression (bottom) 1.520-1.530 mm (0.060-0.0602 inch)
Piston ring groove width-oil ring 6.996-7.224 mm (0.275-0.2844 inch)
Piston ring width- 1.49-1.47 mm compression (0.0587-0.0579 inch)
Piston ring width-oil ring rail (2) 0.473-0.447 mm (0.0186-0.0176 inch), 0.483 mm (0.0190 inch) max. at ID
Piston ring width-oil ring expander 2.038-1.960 mm (0.080-0.077 inch)
Piston ring-to-groove clearance-compression 0.030-0.070 mm (0.0012-0.0028 inch)
Piston ring-to-groove clearance-oil ring assembly 0.046-0.196 mm (0.0018-0.0077 inch)
Crankshaft Pulley Bolt
Tighten the bolt in four stages:
Tighten 90 Nm (66 ft. lbs.)
Loosen one full turn.
Tighten 50 Nm (37 ft. lbs.).
Tighten an additional 90 degrees without exceeding 200 Nm (148 ft. lbs.)





Crankshaft main bearing bolts (vertical)
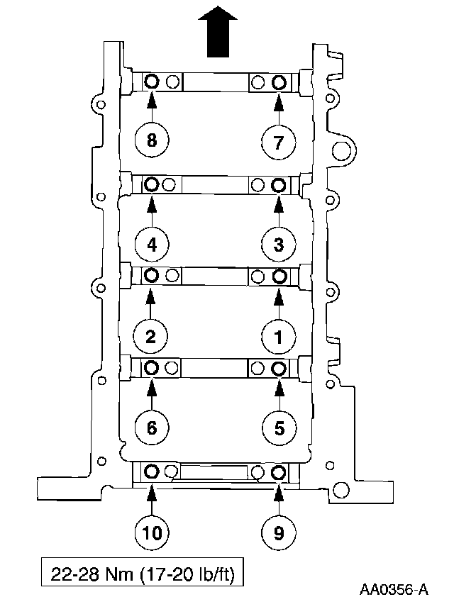
Make sure to tighten the bolts in four stages.
Tighten the bolts 1 through 20 in the sequence shown.
Tighten 8-12 Nm (71-106 inch lbs.)





Tighten the bolts 1 through 10 in the sequence shown.
Tighten 22-28 Nm (17-20 ft. lbs.)





Tighten the bolts 11 through 20 in the sequence shown.
Tighten 37-43 Nm (28-31 ft. lbs.)





Tighten the bolts in the sequence shown.





Crankshaft main bearing bolts (cross-mounted)
Tighten the cross-mounted bolts in two stages.
Tighten 40 Nm (30 ft. lbs.)
Tighten additional 90 degrees





Main Bearing caps are not shown for clarity.
Tighten the bolts in three stages, using the sequence shown.
Tighten 23 Nm (17 ft. lbs.)
Tighten 43 Nm (32 ft. lbs.)
Tighten additional 90-120 degrees