LEMON Manuals: Even more car manuals for everyone: 1960-2025
Home >> Ford >> 2004 >> Freestar Base >> Repair and Diagnosis >> External Pages >> Different car >> Section 1045 (Automatic Transmission) >> Installation >> Transmission
April 5, 2026: LEMON Manuals is launched! Read the announcement.

Section 1045 (Automatic Transmission): Installation: Transmission

WARNING: This page is about a different car, the 2006 Mercury Grand Marquis and 2006 Ford Crown Victoria. However, it is still accessible from the selected car via links, so may be relevant.
SPECIAL TOOL DESCRIPTION

G04584757
Retainer, Torque Converter
307-346 (T97T-7902-A)
MATERIAL DESCRIPTION

Item Specification
MERCON® V Automatic Transmission Fluid
XT-5-QM
MERCON® V
  1. Position and secure the transmission on a suitable high-lift transmission jack.
  2. Connect the electrical connectors and install the wire harness on the transmission.
    1. Connect the digital transmission range (TR) sensor electrical connector.
    2. Connect the output shaft speed (OSS) and turbine shaft speed (TSS) sensor electrical connectors.
    3. Install the catalyst monitor connector retainer to the stud.
      • Connect the wire harness retainers.
        Fig 1: Identifying Transmission Electrical Connectors
        G03882612Courtesy of FORD MOTOR CO.
  3. Connect the electrical connectors.
    1. Install the catalyst monitor connector retainer to the stud.
    2. Connect the transmission solenoid body electrical connector.
      Fig 2: Connecting Transmission Solenoid Body Electrical Connector
      G04584759Courtesy of FORD MOTOR CO.
  4. Raise and position the transmission to the vehicle.
    • Align the balancing marks on the converter stud and the flexplate bolt hole.
  5. Install the transmission retaining bolts.
    • Tighten to 48 Nm (35 lb-ft).
      Fig 3: Installing Transmission Retaining Bolts
      G04584760Courtesy of FORD MOTOR CO.
  6. Install the 4 torque converter nuts.
    • Tighten to 36 Nm (27 lb-ft).
      Fig 4: Locating Flexplate-To-Torque Converter Nuts
      G04584761Courtesy of FORD MOTOR CO.
  7. Install the rubber access plug.
    Fig 5: Locating Rubber Access Plug
    G04584454Courtesy of FORD MOTOR CO.
  8. Install the transmission inspection cover.
    1. Position the transmission inspection cover.
    2. Install the 2 bolts.
      • Tighten to 35 Nm (26 lb-ft).
    3. Install the bolt for the separator plate.
      • Tighten to 35 Nm (26 lb-ft).
        Fig 6: Installing Bolt For Separator Plate
        G04584763Courtesy of FORD MOTOR CO.
  9. Install the fluid filler tube.
    Fig 7: Installing Fluid Filler Tube
    G04584764Courtesy of FORD MOTOR CO.
  10. Install the transmission filler tube bolt.
    • Tighten to 48 Nm (35 lb-ft).
      Fig 8: Installing Transmission Filler Tube Bolt
      G04584765Courtesy of FORD MOTOR CO.
  11. Install the rear transmission insulator.
    • Tighten to 90 Nm (66 lb-ft).
      Fig 9: Installing Rear Transmission Insulator
      G04584766Courtesy of FORD MOTOR CO.
  12. Position the LH side of the crossmember into the crossmember pocket and loosely install the bolts.
    Fig 10: Positioning LH Side Of Crossmember Into Crossmember Pocket
    G04584767Courtesy of FORD MOTOR CO.
  13. Position the RH side of the crossmember into the crossmember pocket and loosely install the bolts.
    Fig 11: Positioning RH Side Of Crossmember Into Crossmember Pocket
    G04584768Courtesy of FORD MOTOR CO.
  14. Tighten the LH crossmember bolts.
    • Tighten to 70 Nm (52 lb-ft).
      Fig 12: Tightening LH Crossmember Bolts
      G04584769Courtesy of FORD MOTOR CO.
  15. Tighten the RH crossmember bolts.
    • Tighten to 70 Nm (52 lb-ft).
      Fig 13: Tightening RH Crossmember Bolts
      G04584770Courtesy of FORD MOTOR CO.
  16. Install the parking cable bracket.
    • Tighten to 55 Nm (41 lb-ft).
      Fig 14: Installing Parking Cable Bracket
      G04584771Courtesy of FORD MOTOR CO.
  17. Lower the transmission onto the crossmember and install the rear transmission insulator nuts.
    • Tighten to 30 Nm (22 lb-ft).
      Fig 15: Installing Rear Transmission Insulator Nuts
      G04584772Courtesy of FORD MOTOR CO.
  18. Remove the high-lift transmission jack.
  19. Install the fluid cooler tubes.
    • Tighten to 18 Nm (13 lb-ft).
      Fig 16: Installing Fluid Cooler Tubes
      G04584773Courtesy of FORD MOTOR CO.
  20. Install the transmission fluid cooler tube bracket.
    Fig 17: Installing Transmission Fluid Cooler Tube Bracket
    G04584774Courtesy of FORD MOTOR CO.
  21. Connect the transmission harness connectors to the filler tube bracket.
    Fig 18: Connecting Transmission Harness Connectors To Filler Tube Bracket
    G04584775Courtesy of FORD MOTOR CO.
  22. Install the ground wire.
    • Tighten to 23 Nm (17 lb-ft).
  23. Install the starter and the bolts.
    • Tighten to 25 Nm (18 lb-ft).
      Fig 19: Installing Starter And Bolts
      G04584777Courtesy of FORD MOTOR CO.
  24. Connect the electrical connectors on the starter.
    1. Tighten to 12 Nm (9 lb-ft).
    2. Tighten to 6 Nm (53 lb-in).
      Fig 20: Connecting Electrical Connectors On Starter
      G04584778Courtesy of FORD MOTOR CO.
  25. Install the starter motor electrical connector cap.
    Fig 21: Installing Starter Motor Electrical Connector Cap
    G04584779Courtesy of FORD MOTOR CO.
  26. Install a new gasket and position the RH catalytic converter assembly in place. Loosely install the bolts. Do not tighten the bolts at this time.
    Fig 22: Installing Gasket And Position RH Catalytic Converter Assembly
    G04584780Courtesy of FORD MOTOR CO.
  27. Install the RH exhaust flange nuts.
    • Tighten to 48 Nm (35 lb-ft).
      Fig 23: Installing RH Exhaust Flange Nuts
      G04584781Courtesy of FORD MOTOR CO.
  28. Tighten the RH exhaust bolts.
    • Tighten to 40 Nm (30 lb-ft).
      Fig 24: Tightening RH Exhaust Bolts
      G04584782Courtesy of FORD MOTOR CO.
  29. Connect the RH HO2S connector.
    Fig 25: Connecting RH HO2S Connector
    G04584783Courtesy of FORD MOTOR CO.
  30. Connect the RH catalyst monitor connector.
    Fig 26: RH Catalyst Monitor Connector
    G04016678Courtesy of FORD MOTOR CO.
  31. Install a new gasket and position the LH catalytic converter assembly in place. Loosely install the bolts. Do not tighten the bolts at this time.
    Fig 27: Installing Gasket And Installing LH Catalytic Converter Assembly
    G04584785Courtesy of FORD MOTOR CO.
  32. Install the LH exhaust flange nuts.
    • Tighten to 48 Nm (35 lb-ft).
      Fig 28: Installing LH Exhaust Flange Nuts
      G04584786Courtesy of FORD MOTOR CO.
  33. Tighten the LH exhaust bolts.
    • Tighten to 40 Nm (30 lb-ft).
      Fig 29: Tightening LH Exhaust Bolts
      G04584787Courtesy of FORD MOTOR CO.
  34. Connect the LH HO2S connector.
    Fig 30: Identifying LH HO2S Connector
    G04584303Courtesy of FORD MOTOR CO.
  35. Connect the LH catalyst monitor connector.
    Fig 31: LH Catalyst Monitor Connector
    G04584304Courtesy of FORD MOTOR CO.
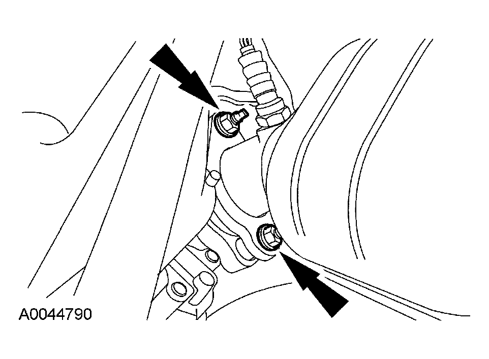
  36. Install the shift cable bracket.
    • Tighten to 14 Nm (10 lb-ft).
      Fig 32: Installing Shift Cable Bracket
      G04584790Courtesy of FORD MOTOR CO.
  37. NOTE: The manual lever must be in the OVERDRIVE position.
  38. Slide the transmission shift linkage into the cable bracket until the tabs fully seat, and connect the shift cable at the manual lever.
    • Tighten to 30 Nm (22 lb-ft).
      Fig 33: Connecting Shift Cable At Manual Lever
      G04584791Courtesy of FORD MOTOR CO.
  39. NOTE: The output shaft and the driveshaft are a balanced assembly.
  40. Install the driveshaft.
    • Align the paint marks and the index marks made during removal, position the driveshaft on the transmission.
      Fig 34: Installing Drive Shaft
      G03888592Courtesy of FORD MOTOR CO.
  41. NOTE: To maintain initial driveshaft balance, align the index marks made during removal.
  42. Install the rear driveshaft.
    • Tighten to 103 Nm (76 lb-ft).
      Fig 35: Identifying Driveshaft Bolts
      G04016647Courtesy of FORD MOTOR CO.
  43. Lower the vehicle.
  44. Connect the battery ground cable. For additional information, refer to BATTERY, MOUNTING AND CABLES .
  45. WARNING: If equipped with fire suppression system, repower the system. For important safety warnings and procedures, refer to FIRE SUPPRESSION SYSTEM .
  46. Fill the transmission with clean automatic transmission fluid and inspect for correct operation.