LEMON Manuals: Even more car manuals for everyone: 1960-2025
Home >> Ford >> 2004 >> Freestar Base >> Repair and Diagnosis >> External Pages >> Different car >> Section 1848 (Power Transfer Unit (PTU)) >> In-Vehicle Servicing >> Transfer Case Vent >> Installation
April 5, 2026: LEMON Manuals is launched! Read the announcement.

Transfer Case Vent: Installation

WARNING: This page is about a different car, the 2008 Mercury Mariner and 2008 Ford Escape. However, it is still accessible from the selected car via links, so may be relevant.
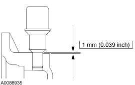
  1. Inspect the condition of the PTU vent hole.
    • By hand, insert the new PTU vent into the PTU cover and measure the distance between the PTU cover and the vent as indicated.
    • If the measurement is less than specification, install a new PTU.
  2. Fig 1: PTU Vent Height From PTU Cover With Specification
    GF0025465Courtesy of FORD MOTOR CO.
    CAUTION: Do not apply silicone sealant to the power transfer unit (PTU) vent hole as it may cause damage to the PTU internal components.
  3. Apply a bead of silicone gasket and sealant to the PTU vent where indicated.
  4. Fig 2: Applying Sealant To PTU Vent
    GF0025466Courtesy of FORD MOTOR CO.
    NOTE: Drive the PTU vent in until the special tool bottoms out against the PTU rear cover boss.
  5. Using the special tool, install the PTU vent.
  6. Fig 3: Installing PTU Vent
    GF0025467Courtesy of FORD MOTOR CO.
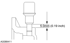
  7. Measure the depth of the PTU vent.
    • If the vent is too high, repeat Step 3.
  8. Fig 4: PTU Vent Height From PTU Cover With Specification
    GF0025468Courtesy of FORD MOTOR CO.
    CAUTION: Make sure the power transfer unit (PTU) vent boot is correctly aligned.
    NOTE: Use a soapy water solution to lubricate the PTU breather boot.
  9. Install the PTU vent boot.
  10. Fig 5: PTU Vent Boot
    GF0025469Courtesy of FORD MOTOR CO.
  11. Install the PTU. For additional information, refer to Power Transfer Unit (PTU) - Manual Transaxle  in the Installation portion of this article.