LEMON Manuals: Even more car manuals for everyone: 1960-2025
Home >> Ford >> 2004 >> Freestar Base >> Repair and Diagnosis >> External Pages >> Different car >> Section 249 (Seating) >> Disassembly And Assembly >> Seat - Front, Power Bucket >> Assembly
April 5, 2026: LEMON Manuals is launched! Read the announcement.

Seat - Front, Power Bucket: Assembly

WARNING: This page is about a different car, the 2003 Ford RV Cutaway, 2003 Ford Econoline, 2003 Ford E550 Super Duty, 2003 Ford E450 Super Duty, and 2003 Ford Cutaway. However, it is still accessible from the selected car via links, so may be relevant.
WARNING: To reduce the risk of serious personal injury, read and follow all warnings, cautions, and notes at the beginning of the disassembly procedure.
NOTE: If only installing the seat backpad adjuster, proceed to Step  12.
  1. Install the front seat cushion cover.
    1. Install the front seat cushion cover to the seat cushion, engaging the Velcro® fasteners (not shown).
    2. Install the seat cushion to the front seat cushion frame.
    3. Fasten the J-clips on all four sides of the front seat cushion cover.
      Fig 1: Installing Front Seat Cushion Cover
      G01441059Courtesy of FORD MOTOR CO.
  2. NOTE: Examine the plastic fasteners on the power seat wiring assembly and install new fasteners if worn
    Fig 2: Installing Power Seat Wiring Assembly To Seat Cushion
    G01441060Courtesy of FORD MOTOR CO.
  3. Install the power seat wiring assembly to the seat cushion.
  4. NOTE: Seat tracks and seat motors are not serviced separately. The assembly is installed as a single assembly
    Fig 3: Installing Seat Tracks To Seat Cushion
    G01441061Courtesy of FORD MOTOR CO.
  5. Install the seat tracks to the seat cushion.
  6. Connect the power seat motor electrical connector.
    Fig 4: Connecting Power Seat Motor Electrical Connector
    G01441062Courtesy of FORD MOTOR CO.
  7. NOTE: Use the fastener access holes to reach the front seat track nuts
    NOTE: The RH seat track nut is shown, the LH seat track nut is installed in the same manner
    Fig 5: Installing Two Front Seat Track Nuts Retaining Seat Tracks To Seat Cushion
    G01441063Courtesy of FORD MOTOR CO.
  8. Install the two front seat track nuts retaining the seat tracks to the seat cushion.
  9. Install the bolts retaining the seat tracks to the seat cushion.
    Fig 6: Installing Bolts Retaining Seat Tracks To Seat Cushion
    G01441064Courtesy of FORD MOTOR CO.
  10. Install the seat support to the seat tracks.
    Fig 7: Installing Seat Support To Seat Tracks
    G01441065Courtesy of FORD MOTOR CO.
  11. NOTE: Examine the plastic fasteners on the power seat connectors and install new if worn
    Fig 8: Installing Power Seat Connectors To Seat Support
    G01441066Courtesy of FORD MOTOR CO.
  12. Install the power seat connectors to the seat support.
  13. Install the bolts retaining the seat support to the left seat track.
    Fig 9: Installing Bolts Retaining Seat Support To Left Seat Track
    G01441067Courtesy of FORD MOTOR CO.
  14. NOTE: Use the fastener access holes to access the support nuts
    Fig 10: Installing Nuts Retaining Seat Support To Seat Track
    G01441068Courtesy of FORD MOTOR CO.
  15. Install the nuts retaining the seat support to the seat track.
  16. Install the front seat back latch to the front seat back frame.
    Fig 11: Installing Front Seat Back Latch To Front Seat Back Frame
    G01441069Courtesy of FORD MOTOR CO.
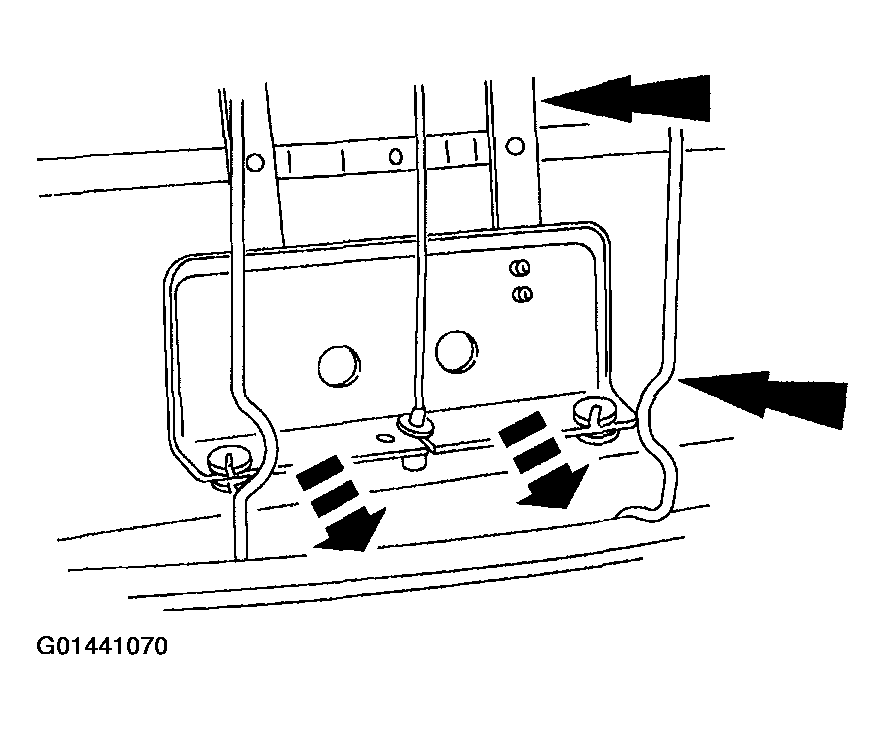
  17. NOTE: Installation of the seat back pad adjuster is easier when the seat back pad adjuster is fully extended
    Fig 12: Installing Front Seat Back Adjuster Grid To Front Seat Back Frame
    G01441070Courtesy of FORD MOTOR CO.
  18. Install the front seat back adjuster grid to the front seat back frame.
  19. Rotate the plastic washers 60 degrees so that the slit is facing away from the edge of the front seat back pad adjuster grid. Rotate both the top and bottom washers.
    Fig 13: Rotating Both Top And Bottom Washers
    G01441071Courtesy of FORD MOTOR CO.
  20. Install wire ties fastening the front seat back pad adjuster cable to the front seat back frame.
    Fig 14: Installing Wire Ties Fastening Front Seat Back Pad Adjuster Cable To Front Seat Back Frame
    G01441072Courtesy of FORD MOTOR CO.
  21. NOTE: When installing the seat back cushion to the seat back frame, removal of the excess cushion padding remaining on the frame is not necessary
    Fig 15: Installing Seat Back Foam Pad To Frame
    G01441073Courtesy of FORD MOTOR CO.
  22. Install the seat back foam pad to the frame.
  23. Install the front seat back cover.
    1. Pull the front seat back cover over the seat back, engaging the Velcro® fasteners (not shown), and install the front seat back cover.
    2. Fasten the J-clip at the bottom of the front seat back.
    Fig 16: Installing Front Seat Back Cover
    G01441074Courtesy of FORD MOTOR CO.
  24. Align the front seat back to the seat cushion and install the bolt.
    Fig 17: Aligning Front Seat Back To Seat Cushion
    G01441075Courtesy of FORD MOTOR CO.
  25. Install the bolts to the front seat back latch.
    Fig 18: Installing Bolts To Front Seat Back Latch
    G01441076Courtesy of FORD MOTOR CO.
  26. NOTE: Make sure the front seat back pad adjuster is in the fully retracted position
  27. Install the front seat back pad adjuster.
    1. Install the front seat back pad adjuster and connect the front seat back pad adjustment cable to the front seat back pad adjuster.
    2. Install the screws to the seat.
      Fig 19: Installing Front Seat Back Pad Adjuster
      G01441077Courtesy of FORD MOTOR CO.
  28. Install the front seat back latch lower cover.
    1. Install the seat control switch to the front seat back latch lower cover.
    2. Install the screws.
    3. Route the seat control switch electrical connector through the seat cushion.
    4. Position the front seat back latch cover to the seat.
      Fig 20: Positioning Front Seat Back Latch Cover To Seat
      G01441078Courtesy of FORD MOTOR CO.
  29. Connect the seat control switch electrical connector.
    Fig 21: Connecting Seat Control Switch Electrical Connector
    G01441079Courtesy of FORD MOTOR CO.
  30. Install the front seat back latch lower cover bolt to the underside of the seat.
    Fig 22: Installing Front Seat Back Latch Lower Cover Bolt To Underside Of Seat
    G01441080Courtesy of FORD MOTOR CO.
  31. Install the front seat back latch lower cover bolt to the front of the seat.
    Fig 23: Installing Front Seat Back Latch Lower Cover Bolt To Front Of Seat
    G01441081Courtesy of FORD MOTOR CO.
  32. Install the bolt behind the seat back latch handle.
    Fig 24: Installing Bolt Behind Seat Back Latch Handle
    G01441082Courtesy of FORD MOTOR CO.
  33. Install the belt and buckle assembly pretensioner. For additional information, refer to SAFETY BELT SYSTEM .
  34. Install the rear pin-type retainer to the upper seat track mounting flange.
  35. Install the front seat back pivot side inner cover to the seat assembly.
    1. Install the front seat back pivot side inner cover.
    2. Hold the front seat back pivot side inner cover in one hand and secure with the retaining clips to hold the belt and buckle assembly pretensioner boot to the front seat back pivot side inner cover.
    3. Rotate the front seat back pivot side inner cover downward to secure the rear pin-type retainer mount to the key slot.
    4. Pull the front seat back pivot side inner cover inboard to clear the belt and buckle assembly pretensioner.
      Fig 25: Installing Front Seat Back Pivot Side Inner Cover To Seat Assembly
      G01441083Courtesy of FORD MOTOR CO.
  36. Install the front seat back pivot side inner cover screw to the front of the seat.
    Fig 26: Installing Front Seat Back Pivot Side Inner Cover Screw To Front Of Seat
    G01441084Courtesy of FORD MOTOR CO.
  37. Install the screw to the underside of the seat.
    Fig 27: Installing Screw To Underside Of Seat
    G01441085Courtesy of FORD MOTOR CO.
  38. Install the bolt below the front seat back pad adjustment knob.
    Fig 28: Installing Bolt Below Front Seat Back Pad Adjustment Knob
    G01441086Courtesy of FORD MOTOR CO.
  39. Push the front seat back pad adjustment knob toward the right side of the seat.
    Fig 29: Pushing Front Seat Back Pad Adjustment Knob Toward Right Side Of Seat
    G01441087Courtesy of FORD MOTOR CO.
  40. NOTE: If the same armrest is being installed, the armrest plate and bolt can be reused, but install a new crown washer when installing the armrest
    Fig 30: Installing Armrest, New Crown Washer, And Bolt
    G01441088Courtesy of FORD MOTOR CO.
  41. Install the armrest, new crown washer, and bolt. Position the armrest cover.
  42. WARNING: To reduce the risk of serious personal injury, read and follow all warnings, cautions, and notes in the seat removal and installation procedure.
  43. Install the driver seat. For additional information, refer to DRIVER SEAT .
  44. WARNING: To reduce the risk of serious personal injury, read and follow all warnings, cautions, notes and instructions in the supplemental restraint system deactivation/reactivation procedure.
  45. Reactivate the supplemental restraint system (SRS). For additional information, refer to SUPPLEMENTAL RESTRAINT SYSTEM (SRS) DEACTIVATION AND REACTIVATION .
  46. WARNING: The restraint system diagnostic tool is for restraint system service only. Remove from the vehicle prior to road use. Failure to remove could result in injury and possible violation of vehicle safety standards.
  47. With all the restraint system diagnostic tools removed, prove out the supplemental restraint system (SRS). For additional information, refer to AIR BAG RESTRAINT SYSTEMS .
  48. Check the restraint system for correct operation. For additional information, refer to SAFETY BELT SYSTEM .