LEMON Manuals: Even more car manuals for everyone: 1960-2025
Home >> Ford >> 2004 >> Taurus LX, 3.0 2 >> Repair and Diagnosis >> External Pages >> Different car >> Section 508 (Speed Control) >> Diagnosis And Testing >> Speed Control >> Pinpoint Test A: The Speed Control Is Inoperative >> Pinpoint Test A: Speed Control Is Inoperative
April 5, 2026: LEMON Manuals is launched! Read the announcement.

Pinpoint Test A: Speed Control Is Inoperative

WARNING: This page is about a different car, the 2004 Lincoln LS. However, it is still accessible from the selected car via links, so may be relevant.
  1. A1 CHECK CIRCUITS 7-PG24 (YE/BU) AND 31S-PG24 (BK/OG) FOR SHORT TO BATTERY 
    • Key in OFF position
    • Disconnect: PCM C175b.
    • Disconnect: Clockspring C218b.
    • Key in ON position.
    • Measure the voltage between the PCM C175b-56, circuit 31S -PG24 (BK/OG), harness side and ground; and the PCM C175b-57, circuit 7-PG24 (YE/BU), harness side and ground.
      Fig 1: Checking Circuits 7-PG24 (YE/BU) And 31S-PG24 (BK/OG) For Short To Battery
      G03202146Courtesy of FORD MOTOR CO.
    • Is any voltage present? 
      1. Yes  : REPAIR the circuit in question. CLEAR the DTCs. REPEAT the self-test.
      2. No  : GO to A2.
  2. A2 CHECK CIRCUITS 7-PG24 (YE/BU) AND 31S-PG24 (BK/OG) FOR SHORT TO GROUND 
    • Key in OFF position
    • Measure the resistance between the PCM C175b-56, circuit 31S-PG24 (BK/OG), harness side and ground; and the PCM C175b-57, circuit 7-PG24 (YE/BU), harness side and ground.
      Fig 2: Checking Circuits 7-PG24 (YE/BU) And 31S-PG24 (BK/OG) For Short To Ground
      G03202147Courtesy of FORD MOTOR CO.
    • Are the resistances greater than 10,000 ohms? 
      1. Yes  : GO to A3.
      2. No  : REPAIR the circuit in question. CLEAR the DTCs. REPEAT the self-test
  3. A3 CHECK CIRCUITS 7-PG24 (YE/BU) AND 31S-PG24 (BK/OG) FOR AN OPEN 
    • Measure the resistance between the PCM C175b-56, circuit 31S-PG24 (BK/OG), harness side and clockspring C218b-3, circuit 31S-PG1 (BK/BU), harness side; and the PCM C175b-57, circuit 7-PG24 (YE/BU), harness side and clockspring C218b-4, circuit 7-PG24 (YE/BU), harness side.
      Fig 3: Checking Circuits 7-PG24 (YE/BU) And 31S-PG24 (BK/OG) For An Open
      G03202148Courtesy of FORD MOTOR CO.
    • Are the resistances less than 5 ohms? 
      1. Yes  : GO to A4.
      2. No  : REPAIR the circuit in question. CLEAR the DTCs. REPEAT the self-test.
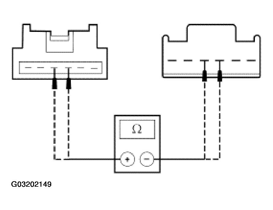
  4. A4 CHECK THE CLOCKSPRING 
    • Remove the driver air bag. Refer to AIR BAG RESTRAINT SYSTEMS .
    • Disconnect: Upper Clockspring.
    • Measure the resistance between the clockspring C218b-3, circuit 31S-PG1 (BK/BU), (component side) and the upper clockspring pin 3, (component side); and measure the resistance between the clockspring C218b-4, circuit 7-PG24 (YE/BU), (component side) and the upper clockspring pin 4, (component side).
      Fig 4: Checking Clockspring
      G03202149Courtesy of FORD MOTOR CO.
    • Are the resistances less than 5 ohms? 
      1. Yes  : GO to A5.
      2. No  : INSTALL a new clockspring. REFER to AIR BAG RESTRAINT SYSTEMS . INSTALL the driver air bag. Refer to AIR BAG RESTRAINT SYSTEMS . CLEAR the DTCs. REPEAT the self-test.
  5. A5 CHECK THE HORN SWITCH WIRING HARNESS 
    • Disconnect: Horn Switch Wiring Harness Connector.
    • Inspect the horn switch wiring harness for shorts, opens or any damage.
    • Is the horn switch wiring harness OK? 
      1. Yes  : GO to A6.
      2. No  : REPAIR or INSTALL a new horn switch wiring harness. INSTALL the driver air bag. Refer to AIR BAG RESTRAINT SYSTEMS . CLEAR the DTCs. REPEAT the self-test.
  6. A6 CHECK THE SPEED CONTROL SWITCH 
    • Connect: Horn Switch Wiring Harness Connector.
    • Measure the resistance between the horn switch harness pin 3, harness side and the horn switch harness pin 4, harness side while pressing the switches.
      SPEED CONTROL SWITCH RESISTANCE VALUES

      Speed Control Switch Resistance Value
      Cancel Between 114 and 126 ohms
      SET- Between 285 and 315 ohms
      SET+ Between 570 and 630 ohms
      Resume Between 1,055 and 1,165 ohms
      On Between 2,004 and 2,216 ohms
      Off Less than 5 ohms
      Fig 5: Checking Speed Control Switch
      G03202150Courtesy of FORD MOTOR CO.
    • Are the speed control switch resistance values OK? 
      1. Yes  : INSTALL the driver air bag. Refer to AIR BAG RESTRAINT SYSTEMS . GO to A7.
      2. No  : INSTALL a new speed control switch. REFER to SPEED CONTROL SWITCH . INSTALL the driver air bag. Refer to AIR BAG RESTRAINT SYSTEMS . CLEAR the DTCs. REPEAT the self-test.
  7. A7 CHECK FOR CORRECT PCM OPERATION