LEMON Manuals: Even more car manuals for everyone: 1960-2025
Home >> Ford >> 2004 >> Taurus SES, 3.0 2 >> Repair and Diagnosis (Single Page) >> Accessories & Equipment >> Accessories Control Systems >> Component Testing >> Component Testing >> Multifunction Switch, Lamp Portion
April 5, 2026: LEMON Manuals is launched! Read the announcement.

Multifunction Switch, Lamp Portion

Fig 1: Testing Multifunction Switch, Lamp Portion (1 Of 3)
G03778966Courtesy of FORD MOTOR CO.
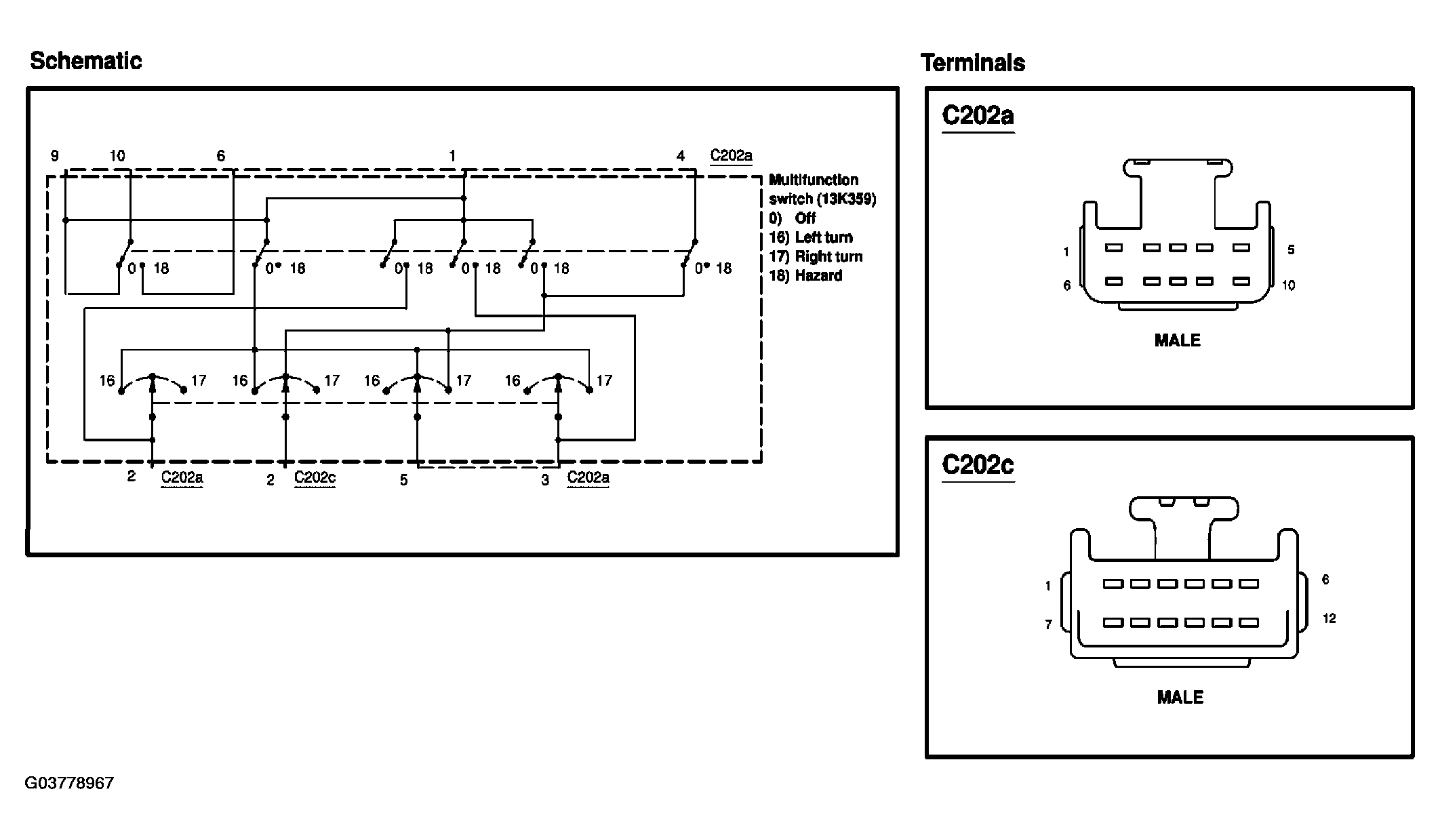
Fig 2: Testing Multifunction Switch, Lamp Portion (2 Of 3)
G03778967Courtesy of FORD MOTOR CO.
Fig 3: Testing Multifunction Switch, Lamp Portion (3 Of 3)
G03778968Courtesy of FORD MOTOR CO.