LEMON Manuals: Even more car manuals for everyone: 1960-2025
Home >> Ford >> 2004 >> Thunderbird >> Repair and Diagnosis >> External Pages >> Different car >> Section 235 (Automatic Transaxle/Transmission) >> Disassembly And Assembly Of Subassemblies >> Fluid Pump >> Assembly >> Items 6 and 7: Fluid Pump Adapter Plate Assembly Note
April 5, 2026: LEMON Manuals is launched! Read the announcement.

Items 6 and 7: Fluid Pump Adapter Plate Assembly Note

WARNING: This page is about a different car, the 2003 Ford Thunderbird. However, it is still accessible from the selected car via links, so may be relevant.
  1. First install the special tools in the fluid pump cover, then install the fluid pump adapter plate.
    Fig 1: Installing Fluid Pump Adapter Plate
    G01529148Courtesy of FORD MOTOR CO.
    CAUTION: The special tools must be used to correctly align the pump with the adapter plate to reduce gear noise, bushing failure, and leakage.

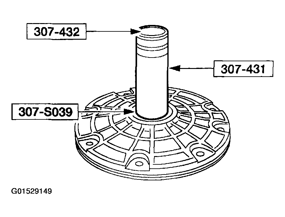
    Using the special tool, align the fluid pump to the adapter plate.

    Fig 2: Aligning Fluid Pump To Adapter Plate
    G01529149Courtesy of FORD MOTOR CO.