LEMON Manuals: Even more car manuals for everyone: 1960-2025
Home >> Ford >> 2004 >> Thunderbird >> Repair and Diagnosis >> External Pages >> Different car >> Section 238 (Climate Control System) >> Diagnosis And Testing >> Climate Control System >> Connector Circuit Reference >> Blower Motor Relay
April 5, 2026: LEMON Manuals is launched! Read the announcement.

Blower Motor Relay

WARNING: This page is about a different car, the 2003 Ford Thunderbird. However, it is still accessible from the selected car via links, so may be relevant.
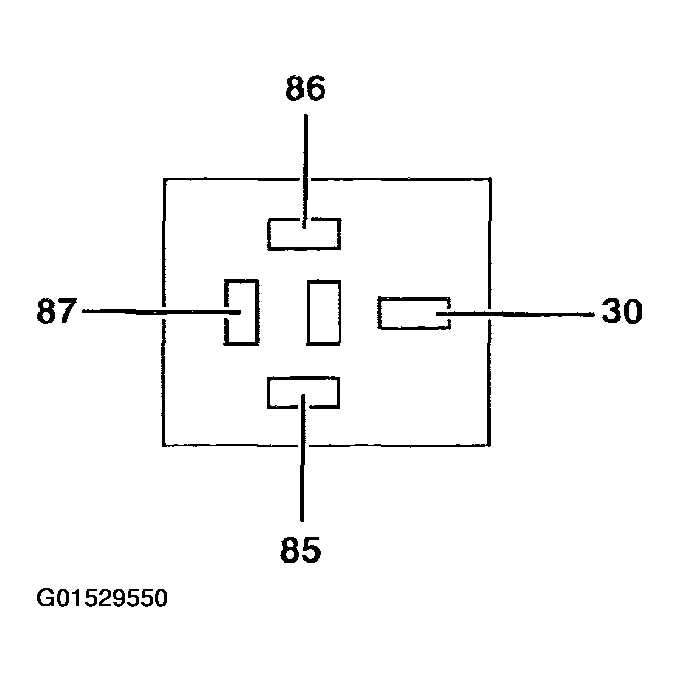
Fig 1: Blower Motor Relay Connector Terminals
G01529550Courtesy of FORD MOTOR CO.
Fig 2: Blower Motor Relay Circuit Description Chart
G01529551Courtesy of FORD MOTOR CO.