LEMON Manuals: Even more car manuals for everyone: 1960-2025
Home >> Ford >> 2004 >> Thunderbird >> Repair and Diagnosis >> External Pages >> Different car >> Section 315 (Engine) >> Assembly >> Engine
April 5, 2026: LEMON Manuals is launched! Read the announcement.

Section 315 (Engine): Assembly: Engine

WARNING: This page is about a different car, the 2004 Lincoln Aviator. However, it is still accessible from the selected car via links, so may be relevant.
Fig 1: Identifying Special Tool(s)
G03264660Courtesy of FORD MOTOR CO.
MATERIALS

Item Specification
SAE 5W-20 Super Premium Synthetic Blend Engine Oil XO-5W20-QSP or equivalent WSS-M2C153-H
Metal Surface Cleaner F4AZ-19A536-RA or equivalent WSE-M5B392-A
Silicone Gasket and Sealant F7AZ-19554-EA or equivalent WSE-M4G323-A4
Silicone Brake Caliper Grease and Dielectric Compound XG-3 or equivalent ESE-M1C171-A
NOTE: Before assembling engine components, use metal surface cleaner and a suitable plastic or wooden scraper to clean the sealing surfaces. All sealing surfaces must be clean. Make sure coolant and oil passages are clear.

    ALL VEHICLES 

    NOTE: RH shown, LH similar.
    Fig 2: Installing Drain Plugs Into Engine Block
    G03264661Courtesy of FORD MOTOR CO.
  1. Install the drain plugs into the engine block.
  2. Install the upper main bearings into the cylinder block and the lower main bearing into the crankshaft main bearing caps. Lubricate the main bearings with clean engine oil.
  3. Install the crankshaft into the cylinder block.
    Fig 3: Installing Crankshaft Into Cylinder Block
    G03264662Courtesy of FORD MOTOR CO.
  4. CAUTION: Make sure the coated side of the thrust washer, with the 5-mm wide oil grooves, faces the crankshaft thrust surface.
    Fig 4: Pushing Crankshaft Rearward And Installing Crankshaft Thrust Washer
    G03264663Courtesy of FORD MOTOR CO.
  5. Push the crankshaft rearward and install the crankshaft thrust washer at the back of the No. 5 main boss.
  6. Loosely install the main caps and the bolts.
    Fig 5: Installing Main Caps And Bolts
    G03264664Courtesy of FORD MOTOR CO.
  7. Push the crankshaft forward to seat the crankshaft thrust washer and hold the crankshaft in the forward position.
    Fig 6: Pushing Crankshaft Forward To Seat Crankshaft Thrust Washer
    G03264665Courtesy of FORD MOTOR CO.
  8. Tighten bolts 1-20 in the sequence shown in four stages.
    • Stage 1: Tighten to 10 Nm (89 lb-in).
    • Stage 2: Tighten to 25 Nm (18 lb-ft).
    • Stage 3: Tighten to 40 Nm (30 lb-ft).
    • Stage 4: Tighten an additional 90 degrees.
    Fig 7: Tightening Bolts 1-20 In Sequence
    G03264666Courtesy of FORD MOTOR CO.
  9. Install and tighten the cross-mounted bolts in two stages.
    • Stage 1: Tighten to 40 Nm (30 lb-ft).
    • Stage 2: Tighten an additional 90 degrees.
    Fig 8: Installing And Tightening Cross-Mounted Bolts In Two Stages
    G03264667Courtesy of FORD MOTOR CO.
  10. Check the crankshaft end play. For additional information, refer to ENGINE SYSTEM-GENERAL INFORMATION .
  11. CAUTION: Do not scratch the cylinder walls or crankshaft journals with the connecting rod.
    NOTE: Make sure that the piston arrow is facing forward.
    NOTE: Lubricate the piston rings, cylinder walls and connecting rod bearings with clean engine oil.
    Fig 9: Pushing Pistons Through Top Of Cylinder Block
    G03264668Courtesy of FORD MOTOR CO.
  12. Using the special tool, push the pistons through the top of the cylinder block.
  13. CAUTION: Do not scratch the cylinder walls or the crankshaft journals with the connecting rod.
    NOTE: Make sure the crankshaft is at top dead center (TDC).
    Fig 10: Installing Connecting Rod Assemblies
    G03264669Courtesy of FORD MOTOR CO.
  14. Using the special tool, install the connecting rod assemblies.
  15. NOTE: The rod bearing cap bolts are torque-to-yield. Install new bolts each time they are serviced.
    Fig 11: Installing Connecting Rod Bearing Caps
    G03264670Courtesy of FORD MOTOR CO.
  16. Install the connecting rod bearing caps and bolts and tighten in three stages.
    • Stage 1: Tighten to 25 Nm (18 lb-ft).
    • Stage 2: Tighten to 45 Nm (33 lb-ft).
    • Stage 3: Tighten an additional 90 degrees.
  17. Check the connecting rod bearing clearance. For additional information, refer to ENGINE SYSTEM-GENERAL INFORMATION .
  18. Install the spacers and the windage tray.
    Fig 12: Installing Spacers And Windage Tray
    G03264671Courtesy of FORD MOTOR CO.
  19. Install and tighten the oil pump screen spacer.
    Fig 13: Installing And Tighten Oil Pump Screen Spacer
    G03264672Courtesy of FORD MOTOR CO.
  20. Position the oil pump, and tighten the bolts in the sequence shown.
    Fig 14: Oil Pump Bolt Tightening Sequence
    G03264673Courtesy of FORD MOTOR CO.
  21. NOTE: Install a new O-ring if necessary.
    Fig 15: Installing Oil Pump Screen Cover And Tube
    G03264674Courtesy of FORD MOTOR CO.
  22. Install the oil pump screen cover and tube.
  23. Install the cylinder head gaskets.
    Fig 16: Installing Cylinder Head Gaskets
    G03264675Courtesy of FORD MOTOR CO.
  24. NOTE: LH shown; RH similar.
    NOTE: Lubricate the bolt heads and threads. Use clean engine oil.
    Fig 17: Installing LH And RH Cylinder Heads Bolts In Sequence
    G03264676Courtesy of FORD MOTOR CO.
  25. Install the LH and RH cylinder heads and tighten the bolts in six stages in the sequence shown.
    • Stage 1: Tighten to 40 Nm (30 lb-ft).
    • Stage 2: Tighten an additional 90 degrees.
    • Stage 3: Loosen the bolts a minimum of one full turn.
    • Stage 4: Tighten to 40 Nm (30 lb-ft).
    • Stage 5: Tighten an additional 90 degrees.
    • Stage 6: Tighten an additional 90 degrees.
  26. ENGINES WITH RATCHETING TIMING CHAIN TENSIONER 

    CAUTION: Timing chain procedures must be followed exactly or damage to valves and pistons will result.
    CAUTION: Do not compress the ratchet assembly. This will damage the ratchet assembly.
    NOTE: LH shown, RH similar.
    Fig 18: Compressing Each Tensioner Plunger
    G03264677Courtesy of FORD MOTOR CO.
  27. Compress each tensioner plunger, using an edge of a vise.
  28. Using a small screwdriver or pick, push back and hold the ratchet mechanism.
    Fig 19: Pushing Back And Hold Ratchet Mechanism
    G03264678Courtesy of FORD MOTOR CO.
  29. While holding the ratchet mechanism, push the ratchet arm back into the tensioner housing.
    Fig 20: Pushing Ratchet Arm Back Into Tensioner Housing
    G03264679Courtesy of FORD MOTOR CO.
  30. Install a paper clip into the hole of each tensioner housing to hold the ratchet assembly and plunger in during installation.
    • Remove the tensioner from the vise.
    Fig 21: Installing Paper Clip Into The Hole Of Each Tensioner Housing
    G03264680Courtesy of FORD MOTOR CO.
  31. ENGINES WITH NON-RATCHETING TIMING CHAIN TENSIONERS 

  32. Compress the tensioner plunger, using a vise.
    Fig 22: Compressing Tensioner Plunger
    G03264681Courtesy of FORD MOTOR CO.
  33. Install a retaining clip on the tensioner to hold the plunger in during installation.
    Fig 23: Installing A Retaining Clip On Tensioner
    G03264682Courtesy of FORD MOTOR CO.
  34. Remove the tensioner from the vise.
  35. ALL ENGINES 

  36. If the copper links are not visible, mark one link on one end and one link on the other end, and use as timing marks.
    Fig 24: Marking One Link On One End And One Link On The Other End And Using As Timing Marks
    G03264683Courtesy of FORD MOTOR CO.
  37. Install the timing chain guides.
    Fig 25: Installing Timing Chain Guides
    G03264684Courtesy of FORD MOTOR CO.
  38. Rotate the LH camshaft timing sprocket until the timing mark is approximately at the 12 o'clock position. Rotate the RH camshaft timing sprocket until the timing mark is at approximately the 11 o'clock position.
    Fig 26: Rotating LH Camshaft Timing Sprocket Until Timing Mark
    G03264685Courtesy of FORD MOTOR CO.
  39. CAUTION: Unless otherwise instructed, at no time when the timing chains are removed and the cylinder heads are installed is the crankshaft or camshaft to be rotated. Severe piston and valve damage will occur.
    Fig 27: Using Special Tool Positioning Crankshaft
    G03264686Courtesy of FORD MOTOR CO.
  40. Using the special tool, position the crankshaft.
    • Remove the special tool.
  41. Install the crankshaft sprocket with the flange facing forward.
    Fig 28: Installing Crankshaft Sprocket With Flange Facing Forward
    G03264687Courtesy of FORD MOTOR CO.
  42. Install the LH and RH timing chains on to crankshaft sprocket, aligning the one copper link on the timing chain with the slot on the crankshaft sprocket.
    Fig 29: Installing LH And RH Timing Chains On To Crankshaft Sprocket
    G03264688Courtesy of FORD MOTOR CO.
  43. NOTE: If necessary, adjust the camshaft sprocket slightly to obtain timing mark alignment.
  44. Position the LH and RH timing chains on the camshaft sprockets. Make sure the copper-colored links align with the camshaft sprocket timing marks.
  45. Position the LH and RH timing chain tensioner arms on the dowel pins. Position the timing chain tensioner assemblies, and install the bolts.
    Fig 30: Positioning Timing Chain Tensioner Assemblies
    G03264689Courtesy of FORD MOTOR CO.

    ENGINES WITH RATCHETING TIMING CHAIN TENSIONERS 

  46. Remove the retaining clip from the timing chain tensioners.
    Fig 31: Removing Retaining Clip From Timing Chain Tensioners
    G03264690Courtesy of FORD MOTOR CO.
  47. Remove the retaining clips from the timing chain tensioners.
    Fig 32: Removing Retaining Clips From Timing Chain Tensioners
    G03264691Courtesy of FORD MOTOR CO.
  48. ALL VEHICLES 

  49. As a post-check, verify correct alignment of all timing marks.
    Fig 33: Aligning Timing Marks
    G03264692Courtesy of FORD MOTOR CO.
  50. Position the crankshaft sensor ring on the crankshaft.
    Fig 34: Positioning Crankshaft Sensor Ring On Crankshaft
    G03264693Courtesy of FORD MOTOR CO.
  51. Install the oil pan and gasket and loosely install the bolts.
    Fig 35: Installing Oil Pan And Gasket
    G03264694Courtesy of FORD MOTOR CO.
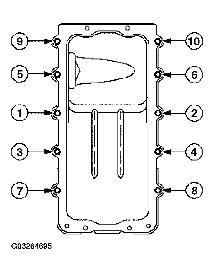
  52. Tighten the bolts in the sequence shown.
    • Tighten to 20 Nm (15 1b-ft).
    • Rotate an additional 60 degrees.
    Fig 36: Oil Pan Bolt Tightening Sequence
    G03264695Courtesy of FORD MOTOR CO.
  53. Install the drain plug.
    Fig 37: Installing Drain Plug
    G03264696Courtesy of FORD MOTOR CO.
  54. NOTE: If the engine front cover is not secured within four minutes, the sealant must be removed and the sealing area cleaned with metal surface cleaner. Allow to dry until there is no sign of wetness, or four minutes, whichever is longer. Failure to follow this procedure can result in future oil leakage.
    Fig 38: Applying Silicone Gasket And Sealant
    G03264697Courtesy of FORD MOTOR CO.
  55. Apply silicone gasket and sealant in the locations shown.
  56. Install the engine front cover and tighten the bolts in the sequence shown.
    Fig 39: Engine Front Cover Bolt Tightening Sequence
    G03264698Courtesy of FORD MOTOR CO.
  57. Install the four oil pan bolts and tighten in three stages in the sequence shown.
    • Stage 1: Tighten to 2 Nm (18 lb-in).
    • Stage 2: Tighten to 20 Nm (15 lb-ft).
    • Stage 3: Tighten an additional 60 degrees.
    Fig 40: Installing Four Oil Pan Bolts
    G03264699Courtesy of FORD MOTOR CO.
  58. Using the special tool, install the 32 roller followers.
    Fig 41: Installing Roller Followers
    G03264700Courtesy of FORD MOTOR CO.
  59. NOTE: If the valve cover is not secured within four minutes, the sealant must be removed and the sealing area cleaned with metal surface cleaner. Allow to dry until there is no sign of wetness, or four minutes, whichever is longer. Failure to follow this procedure can result in future oil leakage.
    Fig 42: Applying Silicone Gasket And Sealant
    G03264701Courtesy of FORD MOTOR CO.
  60. Apply silicone gasket and sealant in the locations shown.
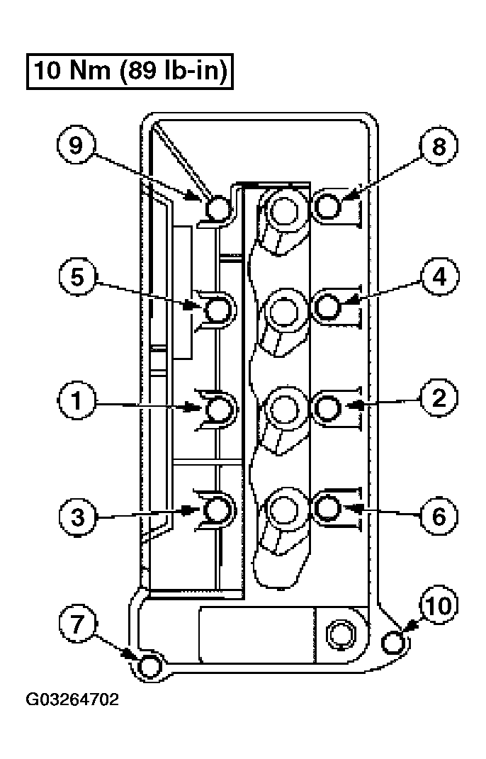
  61. NOTE: RH shown; LH similar.
    Fig 43: Valve Covers Bolt Tightening Sequence
    G03264702Courtesy of FORD MOTOR CO.
  62. Install the valve covers and tighten the bolts in the sequence shown.
  63. Install the belt idler pulley.
    Fig 44: Installing Belt Idler Pulley
    G03264703Courtesy of FORD MOTOR CO.
  64. Lubricate the front oil seal and the engine front cover with clean engine oil.
    Fig 45: Lubricating Front Oil Seal And Engine Front Cover With Clean Engine
    G03264704Courtesy of FORD MOTOR CO.
  65. Using the special tools, install the front oil seal.
    Fig 46: Installing Front Oil Seal
    G03264705Courtesy of FORD MOTOR CO.
  66. Apply silicone gasket and sealant to the Woodruff key on the crankshaft pulley.
    Fig 47: Applying Silicone Gasket And Sealant To Woodruff Key On Crankshaft Pulley
    G03264706Courtesy of FORD MOTOR CO.
  67. Using the special tool, install the crankshaft pulley.
    Fig 48: Installing Crankshaft Pulley
    G03264707Courtesy of FORD MOTOR CO.
  68. Install the special tool.
    Fig 49: Installing Special Tool
    G03264708Courtesy of FORD MOTOR CO.
  69. Install the bolt and washer. Tighten the bolt in four stages.
    • Stage 1: Tighten to 90 Nm (66 lb-ft).
    • Stage 2: Loosen the bolt one full turn.
    • Stage 3: Tighten to 50 Nm (37 lb-ft).
    • Stage 4: Tighten an additional 90 degrees.
    Fig 50: Installing Bolt And Washer
    G03264709Courtesy of FORD MOTOR CO.
  70. NOTE: Lubricate the O-ring seal with clean engine coolant. Use the same type of coolant that was drained from the system.
    Fig 51: Installing Coolant Pump
    G03264710Courtesy of FORD MOTOR CO.
  71. Install the coolant pump and the bolts.
  72. Install the coolant pump pulley.
    Fig 52: Installing Coolant Pump Pulley
    G03264711Courtesy of FORD MOTOR CO.
  73. Install the A/C compressor and the bolts.
    Fig 53: Installing A/C Compressor And Bolts
    G03264712Courtesy of FORD MOTOR CO.
  74. Install the power steering pump and the three bolts.
    Fig 54: Installing Power Steering Pump
    G03264713Courtesy of FORD MOTOR CO.
  75. Install the oil filter adapter.
    • Position the gasket and the oil filter adapter.
    • Install and tighten the bolts.
    Fig 55: Installing Oil Filter Adapter
    G03264714Courtesy of FORD MOTOR CO.
  76. NOTE: LH shown, RH similar.
    Fig 56: Installing LH And RH Engine Mounts
    G03264715Courtesy of FORD MOTOR CO.
  77. Install the LH and RH engine mounts.
  78. NOTE: Install a new O-ring and lubricate with clean engine oil.
    Fig 57: Installing Oil Level Indicator Tube In Engine Block
    G03264716Courtesy of FORD MOTOR CO.
  79. Install the oil level indicator tube.
    • Install the oil level indicator tube in the engine block.
    • Install the fasteners and tighten to 10 Nm (89 lb-in).
  80. NOTE: LH shown; RH similar.
    Fig 58: Installing Exhaust Manifolds
    G03264717Courtesy of FORD MOTOR CO.
  81. Install the exhaust manifolds.
    1. Install new exhaust manifold gaskets.
    2. Install the exhaust manifolds.
    3. Install the 16 nuts.
  82. Install the bolts and the knock sensors (KS).
    Fig 59: Installing Bolts And Knock Sensors (KS)
    G03264718Courtesy of FORD MOTOR CO.
  83. Install the bolt and the coolant bypass tube.
    Fig 60: Installing Bolt And Coolant Bypass Tube
    G03264719Courtesy of FORD MOTOR CO.
  84. NOTE: Upper intake shown removed for clarity.
    Fig 61: Tightening Upper And Lower Intake Fasteners In Sequence
    G03264720Courtesy of FORD MOTOR CO.
  85. Install the upper and lower intake.
    • Tighten all fasteners in the sequence shown to 10 Nm (89 lb-in).
  86. Install the upper-to-lower intake bracket and the nuts.
    Fig 62: Installing Upper-To-Lower Intake Bracket And Nuts
    G03264721Courtesy of FORD MOTOR CO.
  87. Install the coolant hose retainers on the RH valve cover.
    Fig 63: Installing Coolant Hose Retainers On RH Valve Cover
    G03264722Courtesy of FORD MOTOR CO.
  88. NOTE: RH shown; LH similar.
    Fig 64: Installing Engine Lifting Eyes
    G03264723Courtesy of FORD MOTOR CO.
  89. Install the engine lifting eyes.
  90. Install the eight ignition coils.
    Fig 65: Installing Ignition Coils
    G03264724Courtesy of FORD MOTOR CO.
  91. Install the crossover tube.
    1. Install the crossover tube and the nuts.
    2. Connect the coolant hose.
    Fig 66: Installing Crossover Tube
    G03264725Courtesy of FORD MOTOR CO.
  92. Install the generator and the bolts.
    Fig 67: Installing Generator
    G03264726Courtesy of FORD MOTOR CO.
  93. Install the generator support bracket and the bolts.
    Fig 68: Installing Generator Support Bracket
    G03264727Courtesy of FORD MOTOR CO.
  94. Install the accessory drive belt. For additional information, refer ACCESSORY DRIVE BELT, TENSIONER AND PULLEY .
  95. Install the coolant bypass-to-thermostat housing hose.
    Fig 69: Installing Coolant Bypass-To-Thermostat Housing Hose
    G03264728Courtesy of FORD MOTOR CO.
  96. Install the upper radiator hose.
    Fig 70: Installing Upper Radiator Hose
    G03264729Courtesy of FORD MOTOR CO.
  97. Position the engine wiring harness on the engine.
  98. Connect the A/C compressor and the crankshaft position (CKP) sensor electrical connectors.
    Fig 71: Connecting A/C Compressor And Crankshaft Position (CKP) Sensor Electrical Connectors
    G03264730Courtesy of FORD MOTOR CO.
  99. Connect the engine coolant temperature (ECT) sensor electrical connector.
    Fig 72: Connecting Engine Coolant Temperature (ECT) Sensor Electrical Connector
    G03264731Courtesy of FORD MOTOR CO.
  100. Connect the two harness retainers to the RH valve cover studs.
    Fig 73: Connecting Two Harness Retainers To RH Valve Cover Studs
    G03264732Courtesy of FORD MOTOR CO.
  101. Connect the throttle position (TP) sensor and the idle air control (IAC) sensor electrical connectors.
    Fig 74: Connecting Throttle Position (TP) Sensor And Idle Air Control (IAC) Sensor Electrical Connectors
    G03264733Courtesy of FORD MOTOR CO.
  102. Connect the RH radio interference capacitor electrical connector and the pin-type retainer.
    Fig 75: Connecting RH Radio Interference Capacitor Electrical Connector And Pin-Type Retainer
    G03264734Courtesy of FORD MOTOR CO.
  103. Install the positive crankcase ventilation (PCV) tube.
    Fig 76: Installing Positive Crankcase Ventilation (PCV) Tube
    G03264735Courtesy of FORD MOTOR CO.
  104. Connect the PCV electrical connector.
    Fig 77: Connecting PCV Electrical Connector
    G03264736Courtesy of FORD MOTOR CO.
  105. Connect the cylinder head temperature (CHT) sensor electrical connector and the two pin-type retainers.
    Fig 78: Connecting Cylinder Head Temperature (CHT) Sensor Electrical Connector
    G03264737Courtesy of FORD MOTOR CO.
  106. Connect the exhaust gas recirculation (EGR) system module tube to the exhaust manifold.
    Fig 79: Connecting Exhaust Gas Recirculation (EGR) System Module Tube To Exhaust Manifold
    G03264738Courtesy of FORD MOTOR CO.
  107. Connect the intake manifold runner control (IMRC) electrical connector.
    Fig 80: Connecting Intake Manifold Runner Control (IMRC) Electrical Connector
    G03264739Courtesy of FORD MOTOR CO.
  108. Connect the wiring harness retainer to the stud on the cylinder head.
    Fig 81: Connecting Wiring Harness Retainer To Stud On Cylinder Head
    G03264740Courtesy of FORD MOTOR CO.
  109. Connect the KS electrical connector and the pin-type retainer.
    Fig 82: Connecting KS Electrical Connector And Pin-Type Retainer
    G03264741Courtesy of FORD MOTOR CO.
  110. Connect the pin-type retainers to the back of the engine in the locations shown.
    Fig 83: Connecting Pin-Type Retainers To Back Of Engine
    G03264742Courtesy of FORD MOTOR CO.
  111. Connect the oil pressure sensor electrical connector.
    Fig 84: Connecting Oil Pressure Sensor Electrical Connector
    G03264743Courtesy of FORD MOTOR CO.
  112. Connect the camshaft position (CMP) sensor electrical connector and the two retainers to the valve cover.
    Fig 85: Connecting Camshaft Position (CMP) Sensor Electrical Connector And Two Retainers To Valve Cover
    G03264744Courtesy of FORD MOTOR CO.
  113. Install the fuel charging wiring harness retainers to the fuel injection supply manifold.
    Fig 86: Installing Fuel Charging Wiring Harness Retainers To Fuel Injection Supply Manifold
    G03264745Courtesy of FORD MOTOR CO.
  114. Connect the eight fuel injector electrical connectors.
    Fig 87: Connecting Fuel Injector Electrical Connectors
    G03264746Courtesy of FORD MOTOR CO.
  115. Connect the radio interference capacitor electrical connector.
    Fig 88: Connecting Radio Interference Capacitor Electrical Connector
    G03264747Courtesy of FORD MOTOR CO.
  116. Connect the eight ignition coils electrical connectors.
    Fig 89: Connecting Ignition Coils Electrical Connectors
    G03264748Courtesy of FORD MOTOR CO.
  117. NOTE: RH shown; LH similar.
    Fig 90: Installing RH And LH Coil Covers
    G03264749Courtesy of FORD MOTOR CO.
  118. Install the RH and LH coil covers.
  119. Position the vacuum harness and connect it to the intake manifold.
    Fig 91: Positioning Vacuum Harness
    G03264750Courtesy of FORD MOTOR CO.
  120. Connect the electrical connector and the vacuum hose to the fuel pressure sensor.
    Fig 92: Connecting Electrical Connector And Vacuum Hose To Fuel Pressure Sensor
    G03264751Courtesy of FORD MOTOR CO.
  121. Install the battery cable harness and the bolt to the RH engine mount.
    Fig 93: Installing Battery Cable Harness And Bolt To RH Engine Mount
    G03264752Courtesy of FORD MOTOR CO.
  122. Connect the two retainers to the A/C compressor.
    Fig 94: Connecting Two Retainers To A/C Compressor
    G03264753Courtesy of FORD MOTOR CO.
  123. Connect the two retainers to the engine front cover studs.
    Fig 95: Connecting Two Retainers To Engine Front Cover Studs
    G03264754Courtesy of FORD MOTOR CO.
  124. Connect the electrical connector and the battery cable to the alternator.
    Fig 96: Connecting Electrical Connector And Battery Cable To Alternator
    G03264755Courtesy of FORD MOTOR CO.
  125. Connect the battery cable harness ground.
    Fig 97: Connecting Battery Cable Harness Ground
    G03264756Courtesy of FORD MOTOR CO.
  126. Position the power steering reservoir and install the two bolts and the pin-type retainer.
    Fig 98: Installing Two Bolts And Pin-Type Retainer
    G03264757Courtesy of FORD MOTOR CO.
  127. Install the remaining bolt and the hose to the power steering reservoir.
    Fig 99: Installing Remaining Bolt And Hose To Power Steering Reservoir
    G03264758Courtesy of FORD MOTOR CO.
  128. Remove the engine from the stand.
    Fig 100: Removing Engine From Stand
    G03264759Courtesy of FORD MOTOR CO.
  129. NOTE: If not secured within four minutes, the sealant must be removed and the sealing area cleaned with metal surface cleaner. Allow to dry until there is no sign of wetness, or four minutes, whichever is longer. Failure to follow this procedure can result in future oil leakage.
    Fig 101: Applying Bead Of Silicone Gasket And Sealant Around The Rear Oil Seal Retainer Plate Sealing Surface
    G03264760Courtesy of FORD MOTOR CO.
  130. Apply a 4 mm (0.16 in) bead of silicone gasket and sealant around the rear oil seal retainer plate sealing surface. Also apply a bead of silicone gasket and sealant at the junction where the cylinder block, oil pan and rear oil seal retainer plate meet.
  131. Install the rear oil seal retainer plate. Tighten the bolts in the sequence shown in four stages.
    • Stage 1: Tighten bolts 1-6 to 10 Nm (89 lb-in).
    • Stage 2: Hand-tighten bolts 7 and 8.
    • Stage 3: Tighten bolts 7 and 8 to 20 Nm (15 lb-ft).
    • Stage 4: Tighten bolts 7 and 8 an additional 60 degrees.
    Fig 102: Rear Oil Seal Retainer Plate Bolt Tightening Sequence
    G03264761Courtesy of FORD MOTOR CO.
  132. Using the special tools, install the crankshaft rear main seal.
    Fig 103: Installing Crankshaft Rear Main Seal
    G03264762Courtesy of FORD MOTOR CO.
  133. Using the special tool, install the crankshaft oil slinger.
    Fig 104: Installing Crankshaft Oil Slinger
    G03264763Courtesy of FORD MOTOR CO.
  134. Install the spacer plate and the flexplate.
    Fig 105: Installing Spacer Plate And Flexplate
    G03264764Courtesy of FORD MOTOR CO.