LEMON Manuals: Even more car manuals for everyone: 1960-2025
Home >> Ford >> 2005 >> Crown Victoria Base, 4.6 9 >> Repair and Diagnosis >> Engine Mechanical >> Mechanical >> Engine System >> Removal >> Engine
April 5, 2026: LEMON Manuals is launched! Read the announcement.

Engine System: Removal: Engine

Special Tool(s) 

SPECIAL TOOL DESCRIPTION

G03948019
Lifting Bracket Set, Engine 303-DS086 (D93P-6001-A)
G03882124
Socket, Exhaust Gas Oxygen Sensor 303-476 (T94P-9472-A)
    WARNING: If equipped with fire suppression system, depower the system. For important safety warnings and procedures, refer to FIRE SUPPRESSION SYSTEM .
  1. With the vehicle in NEUTRAL, position it on a hoist. For additional information refer to JACKING AND LIFTING .
  2. Remove the hood.
  3. Disconnect both battery cables. For additional information, refer to BATTERY, MOUNTING AND CABLES .
  4. Remove the air cleaner and outlet pipe. For additional information, refer to INTAKE AIR DISTRIBUTION AND FILTERING .
  5. Remove the wiper mounting arm and pivot shaft. For additional information, refer to WIPERS AND WASHERS .
  6. Remove the support bracket.
    Fig 1: Removing Support Bracket
    G04002138Courtesy of FORD MOTOR CO.
  7. Remove the accessory drive belt. For additional information, refer to ACCESSORY DRIVE .
  8. Drain the engine cooling system. For additional information, refer to ENGINE COOLING .
  9. Disconnect the vacuum hose.
    Fig 2: Disconnecting Vacuum Hose
    G03882160Courtesy of FORD MOTOR CO.
  10. Disconnect the evaporative emission (EVAP) canister purge valve.
    • Disconnect the two quick release EVAP hoses.
    • Disconnect the electrical connector.
      Fig 3: Disconnecting Evaporative Emission (EVAP) Canister Purge Valve
      G04001895Courtesy of FORD MOTOR CO.
  11. Disconnect the fuel tube spring lock coupling. For additional information, refer to FUEL SYSTEM-GENERAL INFORMATION .
  12. Disconnect the power distribution power supply electrical connectors.
    Fig 4: Disconnecting Power Distribution Power Supply Electrical Connectors
    G03881759Courtesy of FORD MOTOR CO.
  13. Disconnect the ground wire.
    Fig 5: Disconnecting Ground Wire
    G04002144Courtesy of FORD MOTOR CO.
  14. Disconnect the A/C electrical connector.
    Fig 6: Disconnecting A/C Electrical Connector
    G03882157Courtesy of FORD MOTOR CO.
  15. Disconnect the A/C low charge protection switch electrical connector.
    Fig 7: Disconnecting A/C Low Charge Protection Switch Electrical Connector
    G04002146Courtesy of FORD MOTOR CO.
  16. Disconnect the heater hoses.
    Fig 8: Disconnecting Heater Hoses
    G04002147Courtesy of FORD MOTOR CO.
  17. Remove the ground strap.
    Fig 9: Removing Ground Strap
    G04002148Courtesy of FORD MOTOR CO.
  18. Disconnect the upper radiator hose from the hose connection. Secure the hose to the radiator assembly.
    Fig 10: Disconnecting Upper Radiator Hose From Hose Connection
    G03882152Courtesy of FORD MOTOR CO.
  19. Disconnect the lower radiator hose from the oil filter adapter.
    Fig 11: Disconnecting Lower Radiator Hose From Oil Filter Adapter
    G04002150Courtesy of FORD MOTOR CO.
  20. Remove the cooling fan. For additional information, refer to ENGINE COOLING .
  21. Drain the engine oil.
    • Install the drain plug when finished.
      Fig 12: Installing Drain Plug
      G03881653Courtesy of FORD MOTOR CO.
  22. Disconnect the power steering electrical connector.
    Fig 13: Disconnecting Power Steering Electrical Connector
    G04002152Courtesy of FORD MOTOR CO.
  23. Disconnect the electrical connector.
    Fig 14: Disconnecting Electrical Connector
    G04002153Courtesy of FORD MOTOR CO.
  24. Disconnect the power steering pressure (PSP) switch electrical connector.
    Fig 15: Disconnecting Power Steering Pressure Switch Electrical Connector
    G04001889Courtesy of FORD MOTOR CO.
  25. Remove the nut and the transmission cooler tube support bracket.
    Fig 16: Removing Transmission Cooler Tube Support Bracket
    G04002155Courtesy of FORD MOTOR CO.
  26. Remove the bolt.
    Fig 17: Removing Bolt
    G04002156Courtesy of FORD MOTOR CO.
  27. Disconnect the crankshaft position (CKP) sensor electrical connector.
  28. Position the power steering tube bracket aside.
    Fig 18: Removing Power Steering Tube Bracket
    G04002158Courtesy of FORD MOTOR CO.
  29. Disconnect the engine wiring harness retainers from the A/C compressor.
    Fig 19: Disconnecting Engine Wiring Harness Retainers From A/C Compressor
    G04001891Courtesy of FORD MOTOR CO.
  30. Disconnect the A/C compressor electrical connector.
    Fig 20: Disconnecting A/C Compressor Electrical Connector
    G04002016Courtesy of FORD MOTOR CO.
  31. Remove the four bolts and position the A/C compressor aside.
    Fig 21: Removing A/C Compressor
    G04002161Courtesy of FORD MOTOR CO.
  32. Remove the bolts and position the power steering pump aside.
    Fig 22: Removing Power Steering Pump
    G03947738Courtesy of FORD MOTOR CO.
  33. Remove the starter motor.
    • Remove the starter motor solenoid cover.
    • Disconnect the electrical connections.
    • Remove the bolts.
    • Remove the starter motor.
      Fig 23: Removing Starter Motor
      G04002163Courtesy of FORD MOTOR CO.
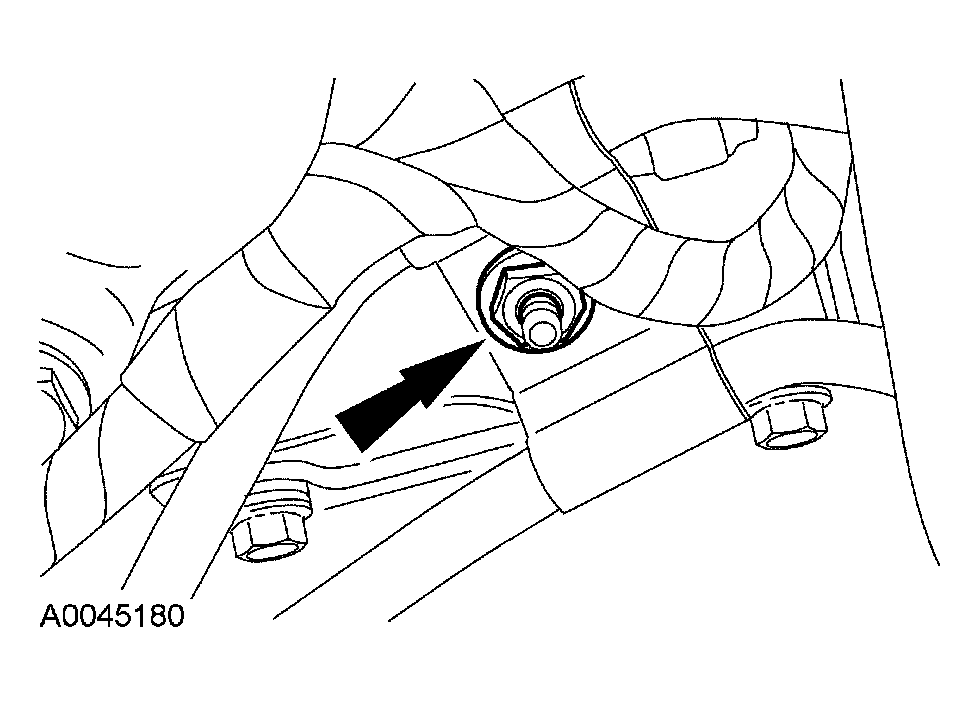
  34. Disconnect the RH heated oxygen sensor (HO2S) electrical connectors.
  35. Disconnect the LH HO2S electrical connector.
    Fig 24: Disconnecting LH HO2S Electrical Connector
    G04002164Courtesy of FORD MOTOR CO.
  36. Using the special tool, remove the LH HO2S.
    Fig 25: Removing LH HO2S
    G04002165Courtesy of FORD MOTOR CO.
  37. Support the exhaust and remove the four nuts.
    Fig 26: Removing Nuts
    G04002166Courtesy of FORD MOTOR CO.
  38. Install a suitable lifting device under the transmission and support.
  39. Remove the rear transmission insulator nuts.
    Fig 27: Removing Rear Transmission Insulator Nuts
    G03882600Courtesy of FORD MOTOR CO.
  40. Raise the transmission and remove the rear transmission insulator bolts.
    Fig 28: Removing Rear Transmission Insulator Bolts
    G04002168Courtesy of FORD MOTOR CO.
  41. Remove the transmission rear insulator and lower the transmission down to rest on the rear crossmember.
  42. Disconnect the HO2S sensor and the solenoid body sensor electrical connectors.
    Fig 29: Disconnecting HO2S Sensor And Solenoid Body Sensor Electrical Connectors
    G04002169Courtesy of FORD MOTOR CO.
  43. Disconnect the output shaft speed sensor, transmission range sensor and the turbine shaft speed sensor electrical connectors.
    Fig 30: Disconnecting Output Shaft Speed Sensor, Transmission Range Sensor And Turbine Shaft Speed Sensor Electrical Connectors
    G04002170Courtesy of FORD MOTOR CO.
  44. Release the wiring harness from the retainers on the transmission.
  45. Remove the bolts and the inspection cover.
    Fig 31: Removing Inspection Cover
    G04002171Courtesy of FORD MOTOR CO.
  46. Remove the torque converter nut access plug.
    • Remove the four nuts.
      Fig 32: Removing Torque Converter Nut Access Plug
      G04002172Courtesy of FORD MOTOR CO.
  47. Remove the four bolts and one stud.
    Fig 33: Removing Bolts And Stud
    G04002173Courtesy of FORD MOTOR CO.
  48. Remove the engine support insulator nuts.
  49. Install the special tool to the RH cylinder head.
    Fig 34: Installing Special Tool To RH Cylinder Head
    G04002174Courtesy of FORD MOTOR CO.
  50. Install the special tool to the LH cylinder head.
    Fig 35: Installing Special Tool To LH Cylinder Head
    G04002175Courtesy of FORD MOTOR CO.
  51. Install the special tools.
    Fig 36: Installing Special Tools
    G03882125Courtesy of FORD MOTOR CO.
  52. Remove the bolts.
    Fig 37: Removing Bolts
    G04002177Courtesy of FORD MOTOR CO.
  53. Remove the engine assembly from the vehicle.
    Fig 38: Removing Engine Assembly From Vehicle
    G04002178Courtesy of FORD MOTOR CO.