LEMON Manuals: Even more car manuals for everyone: 1960-2025
Home >> Ford >> 2005 >> Escape Base, 2.3 Z, FWD, Automatic >> Repair and Diagnosis (Single Page) >> Engine Performance >> System >> Engine Controls - Pinpoint Test DY: Engine Oil Temperature (EOT) Sensor Through Pinpoint Test Hf: Catalyst Efficiency Monitor And Exhaust Systems - (Except Diesel & Hybrid) >> Pinpoint Test HE: Exhaust Gas Recirculation (EGR) Systems >> Test Procedure
April 5, 2026: LEMON Manuals is launched! Read the announcement.

Test Procedure

  1. HE1 DTCS P0405 AND P1400: DETERMINE THE PRESENT DPFEGR PID VOLTAGE 
    NOTE: Depending on the application, verify a prior repair has not resulted in the DPFE sensor being installed backwards or the vacuum hoses being installed on the opposite ports.
    • Key in ON position.
    • Access the PCM and monitor the DPFEGR PID.

    Is the voltage less than 0.2 V? 

    Yes No
    GO to  HE2. An intermittent fault is suspected in the EGR system
    GO to  HE11.
  2. HE2 CHECK THE VREF AND SIGRTN CIRCUITS FOR AN OPEN IN THE HARNESS 
    • Key in OFF position.
    • DPFEGR Sensor connector disconnected.
    • Key in ON position.
    • Measure the voltage between:
      (+) DPFEGR Sensor Connector, Harness Side (-) DPFEGR Sensor Connector, Harness Side
      VREF SIGRTN

    Is the voltage between 4 V - 5.5 V? 

    Yes No
    GO to  HE3. GO to PINPOINT TEST C STEP 1 .
  3. HE3 CHECK THE DPFEGR CIRCUIT(S) FOR A SHORT TO SIGRTN OR GND IN THE HARNESS 
    • Key in OFF position.
    • PCM connector disconnected.
    • Measure the resistance between:
    (+) PCM Connector, Harness Side (-) PCM Connector, Harness Side
    DPFEGR SIGRTN
    • Measure the resistance between:
      (+) PCM Connector, Harness Side (-) Vehicle Battery
      DPFEGR Negative terminal

    Is the resistance greater than 10K ohms? 

    Yes No
    GO to  HE4. REPAIR the short circuit.
  4. HE4 INDUCE THE OPPOSITE DPFEGR SENSOR VOLTAGE 
    • PCM connector connected.
    • Key in ON position.
    • Access the PCM and monitor the DPFEGR PID.

    Is the voltage between 4 V - 5.5 V? 

    Yes No
    INSTALL a new DPFEGR sensor.
    NOTE: After installing a new DPFEGR sensor, it is important to turn the key to the ON position for approximately 5 seconds before starting. This allows the PCM to calibrate itself to the new DPFEGR sensor. Failure to do this may result in a false DTC P0402.
    INSTALL a new PCM. REFER to FLASH ELECTRICALLY ERASABLE PROGRAMMABLE READ ONLY MEMORY (EEPROM) .
  5. HE5 DTCS P0406 AND P1401: DETERMINE THE PRESENT DPFEGR PID VOLTAGE 
    • Key in ON position.
    • Access the PCM and monitor the DPFEGR PID.

    Is the voltage greater than 4 V? 

    Yes No
    GO to  HE6. An intermittent fault is suspected in the EGR system
    GO to  HE11.
  6. HE6 CHECK THE VREF VOLTAGE TO DPFE SENSOR 
    • Key in OFF position.
    • DPFEGR Sensor connector disconnected.
    • Key in ON position.
    • Measure the voltage between:
      (+) DPFEGR Sensor Connector, Harness Side (-) DPFEGR Sensor Connector, Harness Side
      VREF SIGRTN

    Is the voltage between 4 V - 5.5 V? 

    Yes No
    GO to  HE7. GO to PINPOINT TEST C STEP 1 .
  7. HE7 CHECK THE DPFEGR AND SIGRTN CIRCUIT(S) FOR AN OPEN IN THE HARNESS 
    • Key in OFF position.
    • PCM connector disconnected.
    • Measure the resistance between:
      (+) PCM Connector, Harness Side (-) DPFEGR Sensor Connector, Harness Side
      DPFEGR DPFEGR
      SIGRTN SIGRTN

    Are the resistances less than 5 ohms? 

    Yes No
    GO to  HE8. REPAIR the open circuit.
  8. HE8 CHECK THE DPFEGR CIRCUIT FOR A SHORT TO VREF 
    • Measure the resistance between:
      (+) PCM Connector, Harness Side (-) PCM Connector, Harness Side
      VREF DPFEGR

    Is the resistance greater than 10K ohms? 

    Yes No
    GO to  HE9. REPAIR the short circuit.
  9. HE9 CHECK THE DPFEGR CIRCUIT FOR A SHORT TO POWER 
    • Key in ON position.
    • Measure the voltage between:
      (+) DPFEGR Sensor Connector, Harness Side (-) Vehicle Battery
      DPFEGR Negative terminal

    Is the voltage less than 0.2 V? 

    Yes No
    GO to  HE10. REPAIR the short circuit to PWR.
  10. HE10 CHECK THE DPFEGR PID 
    • Key in OFF position.
    • PCM connector connected.
    • Connect a 5 amp fused jumper wire between the following:
      Point A DPFEGR Sensor Connector, Harness Side Point B
      DPFEGR Ground
    • Key in ON position.
    • Access the PCM and monitor the DPFEGR PID.

    Is the DPFEGR PID greater than 4.5 volts with the jumper wire removed and is the DPFEGR PID less than 0.1 volt with the jumper wire installed? 

    Yes No
    INSTALL a new DPFEGR sensor. INSTALL a new PCM.
    Refer to FLASH ELECTRICALLY ERASABLE PROGRAMMABLE READ ONLY MEMORY (EEPROM) .
  11. HE11 CARRY OUT A THOROUGH WIGGLE TEST ON THE DPFEGR HARNESS 
    • Access the PCM and monitor the DPFEGR PID.
    • Wiggle, shake, and bend small sections of the wiring harness while working from the sensor to the PCM.

    Is there any change in the voltage reading, or is a concern present? 

    Yes No
    REPAIR as necessary. Unable to duplicate or identify the fault at this time.
    GO to PINPOINT TEST Z STEP 1 .
  12. HE12 DTCS P0402 AND P1405: CHECK FOR SIMULTANEOUS PRESENCE 

    Is DTC P0402 present with DTC P1405? 

    Yes No
    GO to  HE28. GO to  HE13.
  13. HE13 DTC P0402: CHECK FOR EGR FLOW AT IDLE WITH THE EGR VACUUM HOSE DISCONNECTED 
    NOTE: Disregard P1408 if it is generated as a result of carrying out the KOER self-test with the EGR vacuum source hose disconnected.
    • Disconnect and plug the vacuum hose connected to the EGR valve.
    • Carry out the KOER self-test.

    Did KOER DTC P0402 appear or are you unable to run the KOER self-test due to an engine stall or no start? 

    Yes No
    Key in OFF position.
    INSPECT the pressure hoses for pinching, icing or other blockage.
    If OK, REMOVE and INSPECT the EGR valve and tube for signs of contamination, unusual wear, carbon deposits, binding or other damage.
    REPAIR as necessary.
    GO to  HE14.
    CONNECT the EGR valve vacuum hose.
    GO to  HE15.
  14. HE14 CARRY OUT THE KOER SELF-TEST 
    • Clear the DTCs.
    • Carry out the KOER self-test.

    Is DTC P0402 present? 

    Yes No
    GO to  HE18. Test is complete and no faults were found.
    Clear the DTCs. REPEAT the self-test.
  15. HE15 CHECK FOR EGR FLOW AT IDLE WITH THE EGR VACUUM HOSE CONNECTED 
    • Key in OFF position.
    • Connect the EGR valve vacuum hose.
    • Carry out the KOER self-test.

    Did KOER DTC P0402 appear or are you unable to run the KOER self-test due to an engine stall or no start? 

    Yes No
    GO to  HE16. INSPECT the pressure hoses for pinching, icing or other blockage.
    REPAIR as necessary.
    GO to  HE23.
  16. HE16 CHECK THE EGR SYSTEM HOSES FOR INTEGRITY AND CONNECTION 
    NOTE: A pinched or plugged EGR vacuum hose can trap vacuum between the EVR solenoid and EGR valve, not allowing the EGR valve to close.
    • Trace each vacuum hose from the EVR solenoid and verify each hose is connected correctly.
    • Verify the EGR vacuum hose is not pinched or plugged and is routed properly.

    Are all of the vacuum hoses OK? 

    Yes No
    CONNECT the vacuum hose(s).
    GO to  HE17.
    REPAIR as necessary.
  17. HE17 CHECK THE DPFE SENSOR OUTPUT BY APPLYING VACUUM WITH THE HAND PUMP 
    • Disconnect the pressure hoses at the DPFEGR sensor.
    • Connect the vacuum pump to the downstream connection at the sensor (intake manifold side of the sensor or the smaller diameter pickup tube).
    • Key in ON position.
    • Access the PCM and monitor the DPFEGR PID.
    • Apply 27 - 30 kPa (8 - 9 in Hg) vacuum to the DPFEGR sensor and hold for 10 seconds.
    • Quickly release vacuum.
      • The DPFEGR PID voltage must be between 0.2 and 1.3 volt with the key ON and no vacuum applied.
      • The DPFEGR PID voltage must increase to greater than 4 volts with the vacuum applied.
      • The DPFEGR PID must drop to less than 1.5 volts in less than 3 seconds when the vacuum is released.

    Does the DPFEGR PID voltage indicate a fault in the DPFE sensor? 

    Yes No
    INSTALL a new DPFEGR sensor.
    NOTE: After installing a new DPFEGR sensor, it is important to turn the key to the ON position for approximately 5 seconds before starting. This allows the PCM to calibrate itself to the new DPFEGR sensor. Failure to do this may result in a false DTC P0402.
    CONNECT the DPFEGR.
    GO to  HE18.
  18. HE18 CHECK EGR FLOW AT IDLE WITH THE EVR HARNESS CONNECTOR OFF 
    • Disconnect the vacuum hose at the EGR valve and connect the hose to the vacuum gauge.
    • Start the engine.
    • EVR Solenoid connector disconnected.
    • Observe the vacuum gauge:
      • The EGR valve requires vacuum greater than 5.4 kPa (1.6 in Hg) to begin to open.
      • If the vacuum reading remains greater than 5.4 kPa (1.6 in Hg) after the EVR solenoid is disconnected, a fault may be present in the EVR solenoid.

    Does the EGR vacuum remain greater than 5.4 kPa (1.6 in Hg) at idle after the EVR is disconnected? 

    Yes No
    GO to  HE19. GO to  HE20.
  19. HE19 INSPECT THE EVR SOLENOID VENT FOR BLOCKAGE 
    NOTE: A plugged EVR solenoid vent does not allow EGR vacuum to vent to the atmosphere.
    • Key in OFF position.
    • Remove the EVR solenoid vent cap.
    • Remove the filter and inspect for blockage or icing.

    Is the EVR solenoid vent or vent filter plugged or restricted? 

    Yes No
    REPAIR, or if not repairable, INSTALL a new EVR solenoid. INSTALL a new EVR solenoid.
  20. HE20 CHECK THE EVR SOLENOID COIL RESISTANCE 
    • Key in OFF position.
    • Measure the resistance between:
      (+) EVR Solenoid Connector, Harness Side (-) EVR Solenoid Connector, Harness Side
      VPWR - Pin 1 EVR - Pin 2

    Is the resistance between 26 ohms - 40 ohms? 

    Yes No
    GO to  HE21. INSTALL a new EVR solenoid.
  21. HE21 CHECK THE EVR CIRCUIT FOR A SHORT TO GROUND IN THE HARNESS 
    • PCM connector disconnected.
    • Measure the resistance between:
      (+) PCM Connector, Harness Side (-) Vehicle Battery
      EVR Negative terminal

    Is the resistance greater than 10K ohms? 

    Yes No
    GO to  HE22. REPAIR the short circuit.
  22. HE22 CHECK EVR CIRCUIT FOR SHORT TO VREF 
    • Measure the resistance between:
      (+) PCM Connector, Harness Side (-) PCM Connector, Harness Side
      EVR VREF

    Is the resistance greater than 10K ohms? 

    Yes No
    INSTALL a new PCM. REFER to FLASH ELECTRICALLY ERASABLE PROGRAMMABLE READ ONLY MEMORY (EEPROM) . REPAIR the short circuit.
  23. HE23 CHECK THE DPFE SENSOR OUTPUT BY APPLYING VACUUM WITH THE HAND PUMP 
    • Disconnect the pressure hoses at the DPFEGR sensor.
    • Connect the vacuum pump to the downstream connection at the sensor (intake manifold side of the sensor or the smaller diameter pickup tube).
    • Key in ON position.
    • Access the PCM and monitor the DPFEGR PID.
    • Apply 27 - 30 kPa (8 - 9 in Hg) vacuum to the DPFEGR sensor and hold for 10 seconds.
    • Quickly release vacuum.
      • The DPFEGR PID voltage must be between 0.2 and 1.3 volt with the key ON and no vacuum applied.
      • The DPFEGR PID voltage must increase to greater than 4 volts with the vacuum applied.
      • The DPFEGR PID must drop to less than 1.5 volts in less than 3 seconds when the vacuum is released.

    Does the DPFEGR PID voltage indicate a fault in the DPFE sensor? 

    Yes No
    INSTALL a new DPFEGR sensor.
    NOTE: After installing a new DPFEGR sensor, it is important to turn the key to the ON position for approximately 5 seconds before starting. This allows the PCM to calibrate itself to the new DPFEGR sensor. Failure to do this may result in a false DTC P0402.
    CONNECT the DPFEGR.
    GO to  HE24.
  24. HE24 CHECK THE EGR VALVE OPERATION 
    • Key in ON position.
    • Access the PCM and monitor the DPFEGR PID.
      NOTE: Typical sensor voltage with no EGR flow is between 0.2 volt and 1.3 volts.
    • Disconnect the vacuum hose at the EGR valve and plug the hose.
    • Connect the vacuum pump to the EGR valve.
    • Start the engine.
    • Observe the DPFEGR PID at idle and compare it to the KOEO voltage.
      NOTE: A higher voltage at idle may be due to a non-seating or heavily carboned EGR valve pintle.
    • Apply just enough vacuum to the EGR valve to open it without stalling the engine.
    • Quickly release vacuum.
    • Repeat this 3 times.
    • Observe the DPFEGR PID.
      NOTE: DPFEGR PID voltage must increase as the valve opens and decrease as the valve closes. A slow return voltage is an indication of a binding or slow closing EGR valve.

    Does the DPFEGR PID voltage indicate an open, binding or slow closing EGR valve? 

    Yes No
    REMOVE and INSPECT the EGR valve for signs of contamination, unusual wear, carbon deposits, binding or other damage.
    REPAIR as necessary.
    GO to  HE25.
  25. HE25 CARRY OUT A THOROUGH WIGGLE TEST ON THE EVR HARNESS 
    NOTE: An intermittent short to GND in the EVR circuit causes the vacuum applied to the EGR valve to be higher than normal when the short is present. The vacuum available at the EGR valve at idle is normally below 3.4 kPa (1.6 in. Hg) for the valve to begin to open.
    • Key in OFF position.
    • Remove the vacuum pump.
    • Connect the vacuum gauge to the EGR valve vacuum hose.
    • Connect a vacuum gauge to the EGR valve vacuum hose using a vacuum tee.
    • Key on engine running.
    • Observe the vacuum gauge.
      • Lightly tap on the EVR solenoid.
      • Carry out a thorough wiggle test on the EVR harness.
      NOTE: A fault is indicated by a sudden jump in the vacuum reading.

    Is a concern present? 

    Yes No
    ISOLATE the fault and REPAIR as necessary. CONNECT the vacuum hose(s).
    GO to  HE26.
  26. HE26 INSPECT THE EVR SOLENOID AND VACUUM HOSES FOR PLUGGING 
    • Key in OFF position.
    • Remove the EVR solenoid vent cap (if removable).
    • Remove the filter and inspect for blockage or icing.
    • Inspect the pressure hoses for pinching, icing or other blockage.

    Is the EVR solenoid vent or filter plugged or restricted? 

    Yes No
    REPAIR, or if not repairable, INSTALL a new EVR solenoid. GO to PINPOINT TEST Z STEP 1 .
  27. HE27 DTC P1405: INSPECT THE UPSTREAM PRESSURE HOSE CONNECTIONS 
    • Inspect the upstream hose at the DPFEGR sensor and orifice tube assembly for a disconnect or a poor connection.
    Fig 1: Inspecting Upstream Pressure Hose Connections
    G03878091Courtesy of FORD MOTOR CO.

    Is vacuum hose off or poorly connected? 

    Yes No
    REPAIR as necessary. GO to  HE28.
  28. HE28 INSPECT THE UPSTREAM PRESSURE HOSE FOR PLUGGING 
    NOTE: It is essential that only the correct Ford replacement pressure hose be used.
    • Visually inspect the upstream pressure hose routing. The hose must not be pinched or have dips in it where water could settle or freeze.
    • Remove the upstream pressure hose and carefully inspect for plugging, water, or leaks.

    Is a concern present? 

    Yes No
    REPAIR or INSTALL a new pressure hose as necessary. GO to  HE29.
  29. HE29 CHECK THE ORIFICE TUBE ASSEMBLY AND THE DPFEGR SENSOR 
    • Inspect the upstream connection on the DPFEGR sensor for damage or plugging at the sensor.
    • Inspect the exhaust manifold side pressure tube at the orifice tube assembly for plugging or damage.

    Is the DPFEGR sensor or orifice tube assembly plugged or damaged? 

    Yes No
    REPAIR or INSTALL a new DPFEGR sensor or orifice tube assembly as necessary.
    NOTE: After installing a new DPFEGR sensor, it is important to turn the key to the ON position for approximately 5 seconds before starting. This allows the PCM to calibrate itself to the new DPFEGR sensor. Failure to do this may result in a false DTC P0402.
    GO to  HE30.
  30. HE30 CHECK THE DPFE SENSOR OUTPUT BY APPLYING VACUUM WITH THE HAND PUMP 
    • Disconnect the pressure hoses at the DPFEGR sensor.
    • Connect the vacuum pump to the downstream connection at the sensor (intake manifold side of the sensor or the smaller diameter pickup tube).
    • Key in ON position.
    • Access the PCM and monitor the DPFEGR PID.
    • Apply 27 - 30 kPa (8 - 9 in Hg) vacuum to the DPFEGR sensor and hold for 10 seconds.
    • Quickly release vacuum.
      • The DPFEGR PID voltage must be between 0.2 and 1.3 volt with the key ON and no vacuum applied.
      • The DPFEGR PID voltage must increase to greater than 4 volts with the vacuum applied.
      • The DPFEGR PID must drop to less than 1.5 volts in less than 3 seconds when the vacuum is released.

    Does the DPFEGR PID voltage indicate a fault in the DPFE sensor? 

    Yes No
    INSTALL a new DPFEGR sensor.
    NOTE: After installing a new DPFEGR sensor, it is important to turn the key to the ON position for approximately 5 seconds before starting. This allows the PCM to calibrate itself to the new DPFEGR sensor. Failure to do this may result in a false DTC P0402.
    GO to PINPOINT TEST Z STEP 1 .
  31. HE31 DTC P1406: INSPECT THE DOWNSTREAM PRESSURE HOSE CONNECTIONS 
    NOTE: If the fault is currently present, DTC P1408 appears when running the KOER self-test.
    • Verify the EGR valve is securely attached and exhaust gases are not leaking from the sealing surface.
    • Inspect the downstream hose at the DPFEGR sensor and orifice tube assembly for a disconnect or a poor connection.
      Fig 2: Inspecting Downstream Pressure Hose Connections
      G03878091Courtesy of FORD MOTOR CO.

    Is vacuum hose off or poorly connected? 

    Yes No
    REPAIR as necessary. GO to  HE32.
  32. HE32 INSPECT THE DOWNSTREAM PRESSURE HOSE FOR PLUGGING 
    NOTE: It is essential that only the correct Ford replacement pressure hose be used.
    • Visually inspect the downstream pressure hose routing.
    • Remove the upstream pressure hose and carefully inspect for plugging, water, or leaks.

    Is a concern present? 

    Yes No
    REPAIR or INSTALL a new pressure hose as necessary. GO to  HE33.
  33. HE33 CHECK THE ORIFICE TUBE ASSEMBLY AND THE DPFEGR SENSOR 
    • Inspect the connections at the DPFEGR sensor for plugging or damage.
    • Inspect the intake manifold side pressure tube at the orifice tube assembly for plugging or damage.

    Is the DPFEGR sensor or orifice tube assembly plugged or damaged? 

    Yes No
    REPAIR or INSTALL a new DPFEGR sensor or orifice tube assembly as necessary.
    NOTE: After installing a new DPFEGR sensor, it is important to turn the key to the ON position for approximately 5 seconds before starting. This allows the PCM to calibrate itself to the new DPFEGR sensor. Failure to do this may result in a false DTC P0402.
    GO to  HE34.
  34. HE34 CHECK THE DPFE SENSOR OUTPUT BY APPLYING VACUUM WITH THE HAND PUMP 
    • Disconnect the pressure hoses at the DPFEGR sensor.
    • Connect the vacuum pump to the downstream connection at the sensor (intake manifold side of the sensor or the smaller diameter pickup tube).
    • Key in ON position.
    • Access the PCM and monitor the DPFEGR PID.
    • Apply 27 - 30 kPa (8 - 9 in Hg) vacuum to the DPFEGR sensor and hold for 10 seconds.
    • Quickly release vacuum.
      • The DPFEGR PID voltage must be between 0.2 and 1.3 volt with the key ON and no vacuum applied.
      • The DPFEGR PID voltage must increase to greater than 4 volts with the vacuum applied.
      • The DPFEGR PID must drop to less than 1.5 volts in less than 3 seconds when the vacuum is released.

    Does the DPFEGR PID voltage indicate a fault in the DPFE sensor? 

    Yes No
    GO to  HE35. GO to PINPOINT TEST Z STEP 1 .
  35. HE35 CHECK THE DPFEGR CIRCUIT(S) FOR AN OPEN IN THE HARNESS 
    • Key in OFF position.
    • PCM connector disconnected.
    • Measure the resistance between:
      (+) PCM Connector, Harness Side (-) DPFEGR Sensor Connector, Harness Side
      DPFEGR DPFEGR
      SIGRTN SIGRTN
      VREF VREF

    Are the resistances greater than 5 ohms? 

    Yes No
    REPAIR the open circuit. INSTALL a new DPFEGR sensor.
    NOTE: After installing a new DPFEGR sensor, it is important to turn the key to the ON position for approximately 5 seconds before starting. This allows the PCM to calibrate itself to the new DPFEGR sensor. Failure to do this may result in a false DTC P0402.
  36. HE36 DTC P0401: CARRY OUT THE KOER SELF-TEST 
    • Carry out the KOER self-test.

    Did DTC P1408 appear? 

    Yes No
    GO to  HE37. GO to  HE53.
  37. HE37 KOER AND CONTINUOUS MEMORY DTC P1408: RETRIEVE CONTINUOUS MEMORY DTC 
    NOTE: If any DTC other than P1406 appears, note the DTC and refer to POWERTRAIN DTC CHARTS AND DESCRIPTIONS - GASOLINE MODELS after completing this pinpoint test.
    • Retrieve all continuous memory DTCs.

    Is DTC 1406 present? 

    Yes No
    GO to  HE31. GO to  HE38.
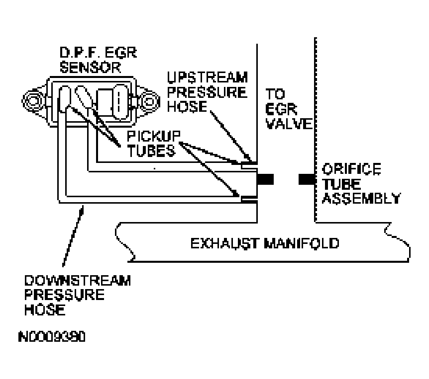
  38. HE38 INSPECT THE DPFEGR PRESSURE HOSES 
    • Inspect the pressure hoses for a reverse connection at the DPFEGR sensor or at the orifice tube assembly.
    • Inspect the hoses for improper routing.
    • Inspect both hoses for leaks and blockage.
    • Inspect the DPFEGR sensor and orifice tube assembly for blockage or damage at the pick-up tubes.
      Fig 3: Inspecting DPFEGR Pressure Hoses
      G03878091Courtesy of FORD MOTOR CO.

    Is a concern present? 

    Yes No
    REPAIR or INSTALL a new pressure hose as necessary. GO to  HE39.
  39. HE39 CHECK THE DPFE SENSOR OUTPUT BY APPLYING VACUUM WITH THE HAND PUMP 
    • Disconnect the pressure hoses at the DPFEGR sensor.
    • Connect the vacuum pump to the downstream connection at the sensor (intake manifold side of the sensor or the smaller diameter pickup tube).
    • Key in ON position.
    • Access the PCM and monitor the DPFEGR PID.
    • Apply 27 - 30 kPa (8 - 9 in Hg) vacuum to the DPFEGR sensor and hold for 10 seconds.
    • Quickly release vacuum.
      • The DPFEGR PID voltage must be between 0.2 and 1.3 volt with the key ON and no vacuum applied.
      • The DPFEGR PID voltage must increase to greater than 4 volts with the vacuum applied.
      • The DPFEGR PID must drop to less than 1.5 volts in less than 3 seconds when the vacuum is released.

    Does the DPFEGR PID voltage indicate a fault in the DPFE sensor? 

    Yes No
    INSTALL a new DPFEGR sensor.
    NOTE: After installing a new DPFEGR sensor, it is important to turn the key to the ON position for approximately 5 seconds before starting. This allows the PCM to calibrate itself to the new DPFEGR sensor. Failure to do this may result in a false DTC P0402.
    CONNECT all the hoses.
    GO to  HE40.
  40. HE40 CHECK THE VREF VOLTAGE TO DPFE SENSOR 
    • Key in OFF position.
    • DPFEGR Sensor connector disconnected.
    • Key in ON position.
    • Measure the voltage between:
      (+) DPFEGR Sensor Connector, Harness Side (-) DPFEGR Sensor Connector, Harness Side
      VREF SIGRTN

    Is the voltage between 4 V - 5.5 V? 

    Yes No
    GO to  HE41. GO to PINPOINT TEST C STEP 1 .
  41. HE41 CHECK THE DPFEGR CIRCUIT FOR A SHORT TO VREF 
    • Key in OFF position.
    • PCM connector disconnected.
    • Measure the resistance between:
      (+) PCM Connector, Harness Side (-) PCM Connector, Harness Side
      VREF DPFEGR

    Is the resistance greater than 10K ohms? 

    Yes No
    GO to  HE42. REPAIR the short circuit.
  42. HE42 CARRY OUT THE KOER SELF-TEST WHILE MONITORING THE EGR VACUUM 
    • PCM connector connected.
    • DPFEGR Sensor connector connected.
    • Disconnect the vacuum hose at the EGR valve and connect the hose to the vacuum gauge.
      NOTE: Since the EGR vacuum hose is disconnected, ignore the DTCs during this KOER self-test.
    • Carry out the KOER self-test.
    • Observe the vacuum gauge.
    • Approximately 30 seconds into the test, EGR flow will be requested for a few seconds.
    • Vacuum at this time should increase to greater than 5.4 kPa (1.6 in Hg) to open the valve.

    Does the vacuum increase to 10 kPa (3.0 in Hg) or greater at any time during the KOER self-test? 

    Yes No
    GO to  HE43. GO to  HE44.
  43. HE43 CHECK THE EGR VALVE FUNCTION BY APPLYING VACUUM WITH THE HAND PUMP 
    • Key in OFF position.
    • Disconnect the vacuum hose at the EGR valve and plug the hose.
    • Connect the vacuum pump to the EGR valve.
    • Key on engine running.
    • Access the PCM and monitor the DPFEGR and RPM PIDs.
    • Apply 27 - 30 kPa (8 - 9 in Hg) vacuum to the DPFEGR sensor and hold for 10 seconds. If the engine wants to stall, increase the engine speed to approximately 1, 000 RPM and hold steady.
    • Look for the following:
      • The EGR valve starts opening at about 5.4 kPa (1.6 in Hg) vacuum, indicated by an increasing DPFEGR PID voltage.
      • The DPFE PID voltage increases until the valve is fully open. The DPFEGR PID voltage must read at least 2.5 volts with full vacuum applied.
      • The DPFEGR PID voltage remains steady with steady vacuum. If voltage drops within a few seconds, the EGR valve or vacuum source may be leaking.
      • The DPFEGR PID must drop to less than 1.5 volts in less than 3 seconds when the vacuum is released.

    Does the DPFEGR PID voltage indicate the EGR valve is operating as described in the test step? 

    Yes No
    GO to  HE47. GO to  HE44.
  44. HE44 PHYSICALLY INSPECT ALL VACUUM LINES BETWEEN THE EGR VALVE, EVR AND VACUUM SOURCE 
    • Key in OFF position.
    • Inspect all vacuum lines for leaks, kinks, pinches, disconnects, blockage, misrouting or physical damage of any type.
    • Inspect the EVR for cracks or other physical damage.

    Is a concern present? 

    Yes No
    REPAIR as necessary.
    If the EVR is damaged, INSTALL a new EVR.
    GO to  HE45.
  45. HE45 PHYSICALLY INSPECT THE EGR VALVE 
    • Remove and inspect the EGR valve for signs of contamination, unusual wear, carbon deposits, binding or other damage.

    Is a concern present? 

    Yes No
    REPAIR as necessary.
    If repair is not possible, INSTALL a new EGR valve.
    GO to  HE46.
  46. HE46 CHECK THE ENGINE VACUUM 
    • EVR vacuum hoses disconnected.
    • Connect a hand held vacuum gauge to the vacuum source.
    • Key on engine running.
    • Engine warm and at idle.
    • Observe the vacuum gauge.

    Is the vacuum gauge steadily reading at least 51 kPa (15 in-Hg)? 

    Yes No
    GO to  HE47. ISOLATE the base engine concern and REPAIR as necessary.
  47. HE47 CHECK THE VPWR VOLTAGE TO EVR SOLENOID 
    • Key in OFF position.
    • EVR Solenoid connector disconnected.
    • Key in ON position.
    • Measure the voltage between:
    (+) EVR Solenoid Connector, Harness Side (-) Vehicle Battery
    VPWR - Pin 1 Negative terminal

    Is the voltage greater than 10.5 V? 

    Yes No
    GO to  HE48. REPAIR the open circuit.
  48. HE48 CHECK THE EVR SOLENOID COIL RESISTANCE 
    • Key in OFF position.
    • Measure the resistance between:
      (+) EVR Solenoid Connector, Component Side (-) EVR Solenoid Connector, Component Side
      VPWR - Pin 1 EVR - Pin 2

    Is the resistance between 26 ohms - 40 ohms? 

    Yes No
    GO to  HE49. INSTALL a new EVR solenoid.
  49. HE49 CHECK EVR CIRCUIT FOR SHORT TO POWER IN HARNESS 
    • PCM connector disconnected.
    • Key in ON position.
    • Measure the voltage between:
      (+) PCM Connector, Harness Side (-) Vehicle Battery
      EVR Negative terminal

    Is the voltage greater than 1 V? 

    Yes No
    REPAIR the short circuit. GO to  HE50.
  50. HE50 CHECK THE EVR CIRCUIT FOR AN OPEN IN THE HARNESS 
    • Key in OFF position.
    • Measure the resistance between:
      (+) PCM Connector, Harness Side (-) EVR Solenoid Connector, Harness Side
      EVR EVR - Pin 2

    Is the resistance less than 5 ohms? 

    Yes No
    CONNECT the PCM and EVR.
    GO to  HE51.
    REPAIR the open circuit.
  51. HE51 INSPECT EGR SYSTEM FOR LEAKS, RESTRICTIONS AND POOR CONNECTIONS 
    • Visually inspect the EGR system for signs of intermittent failure.

    Is a concern present? 

    Yes No
    REPAIR as necessary. GO to  HE52.
  52. HE52 CHECK THE EVR SOLENOID VACUUM FLOW BY GROUNDING THE EVR CIRCUIT 
    • PCM connector connected.
    • Disconnect the vacuum hose at the EGR valve and connect the hose to the vacuum gauge.
    • Key on engine running.
    • Engine warm and at idle.
    • Connect a 5 amp fused jumper wire between the following:
      Point A EVR Solenoid Connector, Harness Side Point B Vehicle Battery
      EVR - Pin 2 Negative terminal
    NOTE: If the EVR does not react within 2 seconds, an EVR fault may be present.

    Does the vacuum gauge indicate 13.5 kPa (4.0 in Hg) or greater within 2 seconds? 

    Yes No
    INSTALL a new PCM. REFER to FLASH ELECTRICALLY ERASABLE PROGRAMMABLE READ ONLY MEMORY (EEPROM) . INSTALL a new EVR solenoid.
  53. HE53 INSPECT THE DPFEGR PRESSURE HOSES 
    • Visually inspect the upstream pressure hose routing.
    • Visually inspect the downstream pressure hose routing.
    • Inspect for a reversed connection at the DPFEGR sensor or orifice tube assembly.
    • The hose must not be pinched or have dips in it where water could settle or freeze.
    • Inspect both hoses for leaks and blockage.
    • Inspect the DPFEGR sensor and orifice tube assembly for blockage or damage at the pick-up tubes.
      Fig 4: Inspecting DPFEGR Pressure Hoses
      G03878091Courtesy of FORD MOTOR CO.

    Is a concern present? 

    Yes No
    REPAIR as necessary. GO to  HE54.
  54. HE54 CHECK THE EGR VALVE FUNCTION BY APPLYING VACUUM WITH THE HAND PUMP 
    • Disconnect the pressure hoses at the DPFEGR sensor.
    • Connect the vacuum pump to the downstream connection at the sensor (intake manifold side of the sensor or the smaller diameter pickup tube).
    • Key in ON position.
    • Access the PCM and monitor the DPFEGR PID.
    • Apply 27 - 30 kPa (8 - 9 in Hg) vacuum to the DPFEGR sensor and hold for 10 seconds.
    • Quickly release vacuum.
      • The DPFEGR PID voltage must be between 0.2 and 1.3 volt with the key ON and no vacuum applied.
      • The DPFEGR PID voltage must increase to greater than 4 volts with the vacuum applied.
      • The DPFEGR PID must drop to less than 1.5 volts in less than 3 seconds when the vacuum is released.

    Does the DPFEGR PID voltage indicate a fault in the DPFE sensor? 

    Yes No
    INSTALL a new DPFEGR sensor.
    NOTE: After installing a new DPFEGR sensor, it is important to turn the key to the ON position for approximately 5 seconds before starting. This allows the PCM to calibrate itself to the new DPFEGR sensor. Failure to do this may result in a false DTC P0402.
    CONNECT all the hoses.
    GO to  HE55.
  55. HE55 CHECK THE EGR VALVE FUNCTION BY APPLYING VACUUM WITH THE HAND PUMP 
    • Disconnect the vacuum hose at the EGR valve and plug the hose.
    • Connect the vacuum pump to the EGR valve.
    • Key on engine running.
    • Access the PCM and monitor the DPFEGR and RPM PIDs.
    • Apply 27 - 30 kPa (8 - 9 in Hg) vacuum to the DPFEGR sensor and hold for 10 seconds. If the engine wants to stall, increase the engine speed to approximately 1, 000 RPM and hold steady.
    • Look for the following:
      • The EGR valve starts opening at about 5.4 kPa (1.6 in Hg) vacuum, indicated by an increasing DPFEGR PID voltage.
      • The DPFE PID voltage increases until the valve is fully open. The DPFEGR PID voltage must read at least 2.5 volts with full vacuum applied.
      • The DPFEGR PID voltage remains steady with steady vacuum. If voltage drops within a few seconds, the EGR valve or vacuum source may be leaking.
      • The DPFEGR PID must drop to less than 1.5 volts in less than 3 seconds when the vacuum is released.

    Does the DPFEGR PID voltage indicate the EGR valve is operating as described in the test step? 

    Yes No
    GO to  HE56. REMOVE and INSPECT the EGR valve for signs of contamination, unusual wear, carbon deposits, binding or other damage.
    If OK, REMOVE and INSPECT the EGR valve and tube for signs of contamination, unusual wear, carbon deposits, binding or other damage.
    REPAIR as necessary.
  56. HE56 INSPECT THE EGR VACUUM SIGNAL SUPPLY FOR AN INTERMITTENT FAILURE 
    • Key in OFF position.
    • Remove the vacuum hose from the exhaust gas recirculation valve and connect to a vacuum gauge.
    • Key on engine running.
    • Connect a 5 amp fused jumper wire between the following:
      Point A EVR Solenoid Connector, Harness Side Point B Vehicle Battery
      EVR - Pin 2 Negative terminal
    • Solenoid will be full ON.
    • Vacuum gauge should read above 13.5 kPa (4 in Hg).
    • Observe the vacuum gauge.
    • Look for a fault while performing the following checks:
      • Lightly tap on the EVR solenoid.
      • Carry out a thorough wiggle test on the EVR harness.
      • Inspect the EGR vacuum signal supply for an intermittent failure.
      • Inspect the EVR solenoid and vacuum hoses for plugging.
      • A fault is indicated by a sudden drop in the vacuum reading.

    Is a fault indicated? 

    Yes No
    ISOLATE the fault and REPAIR as necessary. Unable to duplicate or identify the fault at this time.
    NOTE: In cold climates, the EGR valve may temporarily freeze shut and thaw when the engine warms.

    GO to PINPOINT TEST Z STEP 1 .
  57. HE57 EGR DIAGNOSIS BY SYMPTOM: CHECK FOR EGR FLOW WITH THE EGR VACUUM HOSE DISCONNECTED AND PLUGGED 
    NOTE: Carry out the KOER self-test.

    Repair any other DTCs.

    • Possible causes for EGR flow at idle with no related DTCs:
      • EGR valve not fully seating.
      • EVR solenoid vent restricted.
      • Damaged EVR solenoid.
    • Disconnect and plug the vacuum hose connected to the EGR valve.
    • Key in ON position.
    • Access the PCM and monitor the DPFEGR PID.
    • Note the voltage.
    • Key on engine running.
    • With the engine at idle, observe the DPFEGR PID voltage.
    • Compare to engine OFF voltage.
    • An increase in voltage at idle indicates the DPFEGR sensor is sensing EGR flow.

    Is the DPFEGR PID voltage greater at idle by 0.15 volt than with the engine off? 

    Yes No
    REMOVE and INSPECT the EGR valve for signs of contamination, unusual wear, carbon deposits, binding or other damage.
    REPAIR as necessary.
    INSPECT the EVR solenoid and vacuum hoses for plugging
    INSPECT the EVR solenoid vent for blockage
    GO to  HE58.
  58. HE58 DETERMINE THE EGR VALVE VACUUM SUPPLY 

    Is a fault present in the EGR valve vacuum supply? 

    Yes No
    REPAIR as necessary. INSTALL a new EVR solenoid.
  59. HE59 DTCS P0403 AND P1409: CHECK THE EVR SOLENOID COIL RESISTANCE 
    • Key in OFF position.
    • EVR Solenoid connector disconnected.
    • Measure the resistance between:
      (+) EVR Solenoid Connector, Component Side (-) EVR Solenoid Connector, Component Side
      VPWR - Pin 1 EVR - Pin 2

    Is the resistance between 26 ohms - 40 ohms? 

    Yes No
    GO to  HE60. INSTALL a new EVR solenoid.
    Clear the PCM DTCs. REPEAT the self-test.
  60. HE60 CHECK THE VPWR VOLTAGE TO EVR SOLENOID 
    • Key in ON position.
    • Measure the voltage between:
      (+) EVR Solenoid Connector, Harness Side (-) Vehicle Battery
      VPWR - Pin 1 Negative terminal

    Is the voltage greater than 10.5 V? 

    Yes No
    GO to  HE61. REPAIR the open circuit.
  61. HE61 CHECK THE EVR CIRCUIT FOR AN OPEN IN THE HARNESS 
    • Key in OFF position.
    • PCM connector disconnected.
    • Measure the resistance between:
      (+) PCM Connector, Harness Side (-) EVR Solenoid Connector, Harness Side
      EVR EVR - Pin 2

    Is the resistance less than 5 ohms? 

    Yes No
    GO to  HE62. REPAIR the open circuit.
  62. HE62 CHECK THE EVR CIRCUIT FOR A SHORT TO POWER IN THE HARNESS 
    • Key in ON position.
    • Measure the voltage between:
      (+) PCM Connector, Harness Side (-) Vehicle Battery
      EVR Negative terminal

    Is the voltage less than 1 V? 

    Yes No
    GO to  HE63. REPAIR the short circuit.
  63. HE63 CHECK THE EVR CIRCUIT FOR A SHORT TO GND IN THE HARNESS 
    • Key in OFF position.
    • Measure the resistance between:
      (+) PCM Connector, Harness Side (-) PCM Connector, Harness Side
      EVR PWRGND

    Is the resistance greater than 10K ohms? 

    Yes No
    INSTALL a new PCM. REFER to FLASH ELECTRICALLY ERASABLE PROGRAMMABLE READ ONLY MEMORY (EEPROM) . REPAIR the short circuit.
  64. HE64 CHECK FOR THE PRESENCE OF KOER DTCS P0403 OR P1409 
    • PCM connector connected.
    • Check for KOER DTCs:

    Are DTCs P0403 or P1409 present? 

    Yes No
    GO to  HE59. GO to  HE65.
  65. HE65 CARRY OUT A THOROUGH WIGGLE TEST ON THE EVR HARNESS 
    • Key in OFF position.
    • PCM connector disconnected.
    • Key in ON position.
    • Measure the voltage between:
      (+) PCM Connector, Harness Side (-) PCM Connector, Harness Side
      EVR PWRGND
      • Lightly tap on the EVR solenoid.
      • Wiggle the EVR solenoid connector.
      • Carry out a thorough wiggle test on the EGRVR harness.
      • A fault is indicated by a voltage drop during the wiggle test.

    Is the voltage greater than 10.5 V? 

    Yes No
    ISOLATE the fault and REPAIR as necessary. GO to PINPOINT TEST Z STEP 1 .