LEMON Manuals: Even more car manuals for everyone: 1960-2025
Home >> Ford >> 2005 >> Escape Base, 2.3 Z, FWD, Automatic >> Repair and Diagnosis (Single Page) >> Engine Performance >> Testing & Diagnosis >> Engine Controls - Pinpoint Test DY: Engine Oil Temperature (EOT) Sensor Through Pinpoint Test Hf: Catalyst Efficiency Monitor And Exhaust Systems - (Except Diesel & Hybrid) >> Pinpoint Test H: Fuel Control >> Introduction >> Notes
April 5, 2026: LEMON Manuals is launched! Read the announcement.

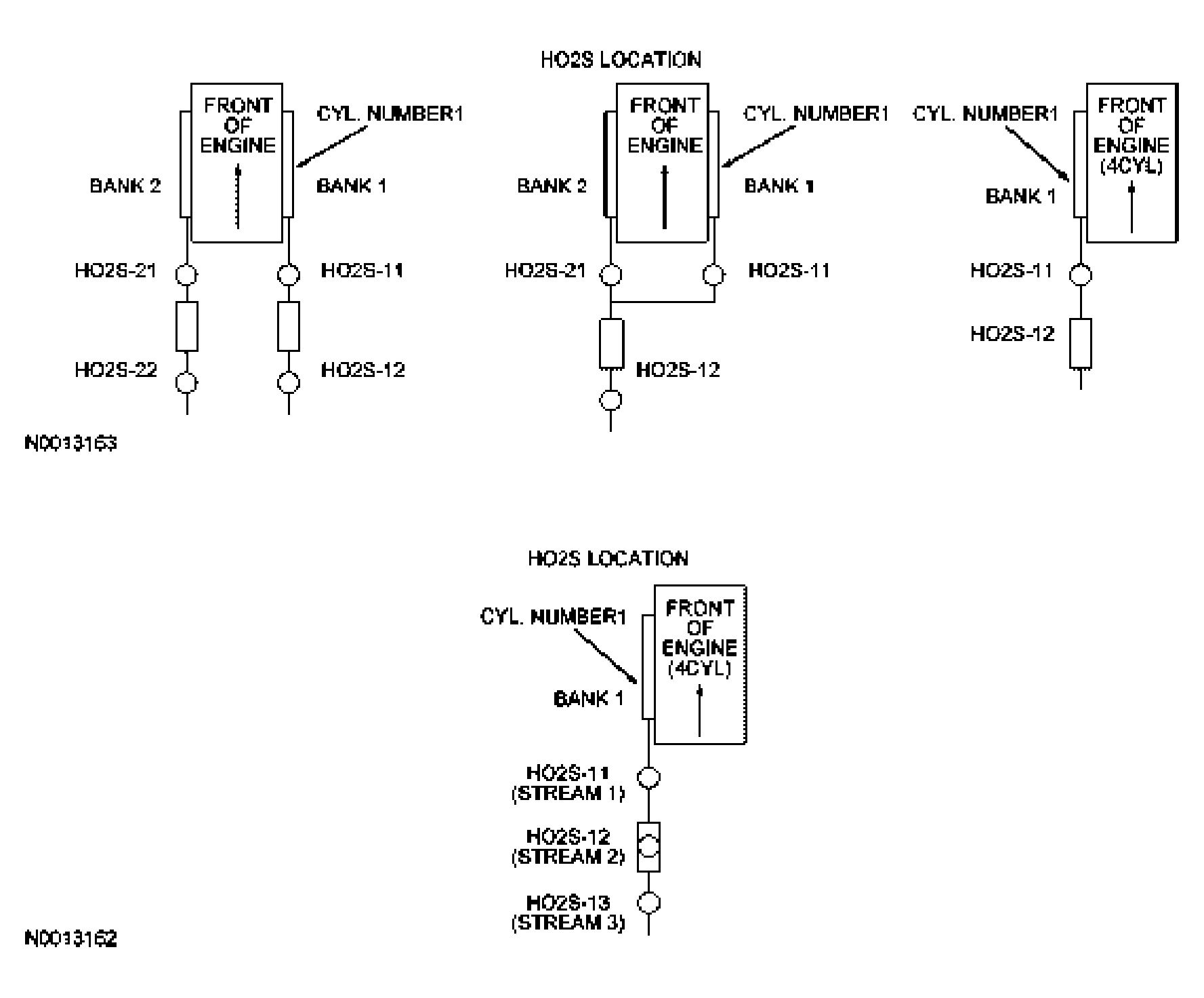
Pinpoint Test H: Fuel Control: Introduction: Notes

WARNING: CROWN VICTORIA POLICE INTERCEPTOR VEHICLES EQUIPPED WITH FIRE SUPPRESSION SYSTEM, REFER TO FIRE SUPPRESSION SYSTEM FOR IMPORTANT SAFETY WARNINGS. FAILURE TO FOLLOW THESE INSTRUCTIONS MAY RESULT IN PERSONAL INJURY.

This pinpoint test is intended to diagnose the following: