LEMON Manuals: Even more car manuals for everyone: 1960-2025
Home >> Ford >> 2005 >> Escape Base, 2.3 Z, FWD, Automatic >> Repair and Diagnosis (Single Page) >> Transmission >> Automatic Trans >> Automatic Transmission External Controls - Cd4E >> Diagnosis And Testing >> External Controls >> Pinpoint Test >> Pinpoint Test C: The Transmission Control Switch Is Inoperative
April 5, 2026: LEMON Manuals is launched! Read the announcement.

Pinpoint Test C: The Transmission Control Switch Is Inoperative

  1. C1 CHECK THE CIRCUIT FOR VOLTAGE 
    • Key in OFF position.
    • Disconnect: Brake Shift Interlock Module.
    • Key in ON position.
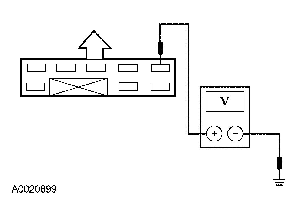
    • Measure the voltage between brake shift interlock module pin 4, harness side and ground.
      Fig 1: Measuring Voltage Between Brake Shift Interlock Module Pin 4, Harness Side And Ground
      G03901593Courtesy of FORD MOTOR CO.
    • Is the voltage greater than 10 volts? 
    • Yes  : GO to C2.
    • No  : REPAIR the circuit. TEST the system for normal operation.
  2. C2 CHECK THE TRANSMISSION CONTROL SWITCH 
    • While cycling the transmission control switch, measure the resistance between brake shift interlock module pin 4 and pin 1, component side.
      Fig 2: Measuring Resistance Between Brake Shift Interlock Module Pin 4 And Pin 1, Component Side
      G03901594Courtesy of FORD MOTOR CO.
    • Does the resistance change from greater than 10,000 ohms to less than 5 ohms? 
    • Yes  : GO to C3.
    • No  : INSTALL a new brake shift interlock module. TEST the system for normal operation.
  3. C3 CHECK THE CIRCUIT FOR AN OPEN 
    • Key in OFF position.
    • Disconnect: Powertrain Control Module (PCM).
    • Measure the resistance between brake shift interlock module pin 1 and the PCM connector pin C29.
    • Is the resistance less than 5 ohms? 
    • Yes  : GO to C4.
    • No  : REPAIR the circuit. TEST the system for normal operation.
  4. C4 CHECK THE CIRCUIT FOR A SHORT TO GROUND 
    • Measure the resistance between PCM connector pin C29 and chassis ground.
    • Is the resistance greater than 10,000 ohms. 
    • Yes  : GO to C5.
    • No  : REPAIR the circuit. TEST the system for normal operation.
  5. C5 CHECK THE CIRCUIT FOR A SHORT TO VOLTAGE 
    • Measure the voltage between PCM connector pin C29 and chassis ground.
    • Is voltage present?