LEMON Manuals: Even more car manuals for everyone: 1960-2025
Home >> Ford >> 2005 >> Escape Base, 2.3 Z, FWD, Automatic >> Repair and Diagnosis >> External Pages >> Different car >> Section 247 (Anti-Lock Brake System Control) >> Removal And Installation >> Anti-Lock Brake System (ABS) Module >> Removal and Installation
April 5, 2026: LEMON Manuals is launched! Read the announcement.

Removal and Installation

WARNING: This page is about a different car, the 2005 Mercury Sable and 2005 Ford Taurus. However, it is still accessible from the selected car via links, so may be relevant.
WARNING: Use of any other than approved DOT 3 brake fluid will cause permanent damage to brake components and will render the brakes inoperative.
WARNING: Brake fluid contains polyglycol ethers and polyglycols. Avoid contact with eyes. Wash hands thoroughly after handling. If brake fluid contacts eyes, flush eyes with running water for 15 minutes. Get medical attention if irritation persists. If taken internally, drink water and induce vomiting. Get medical attention immediately.
CAUTION: Brake fluid is harmful to painted or plastic surfaces. If brake fluid is spilled onto a painted or plastic surface, immediately wash it with water.
CAUTION: Do not allow the master cylinder to run dry during the bleeding operation. Keep the master cylinder reservoir filled with the specified brake fluid. Never reuse the brake fluid that has been drained from the hydraulic system.
  1. Remove the battery tray. Refer to BATTERY, MOUNTING AND CABLES .
  2. Remove the battery tray bracket.
    Fig 1: Removing Battery Tray Bracket
    G03954595Courtesy of FORD MOTOR CO.
  3. Disengage the wiring connector lock.
    Fig 2: Disengaging Wiring Connector Lock
    G03954596Courtesy of FORD MOTOR CO.
  4. Disconnect the wiring.
    Fig 3: Disconnecting Wiring
    G03954597Courtesy of FORD MOTOR CO.
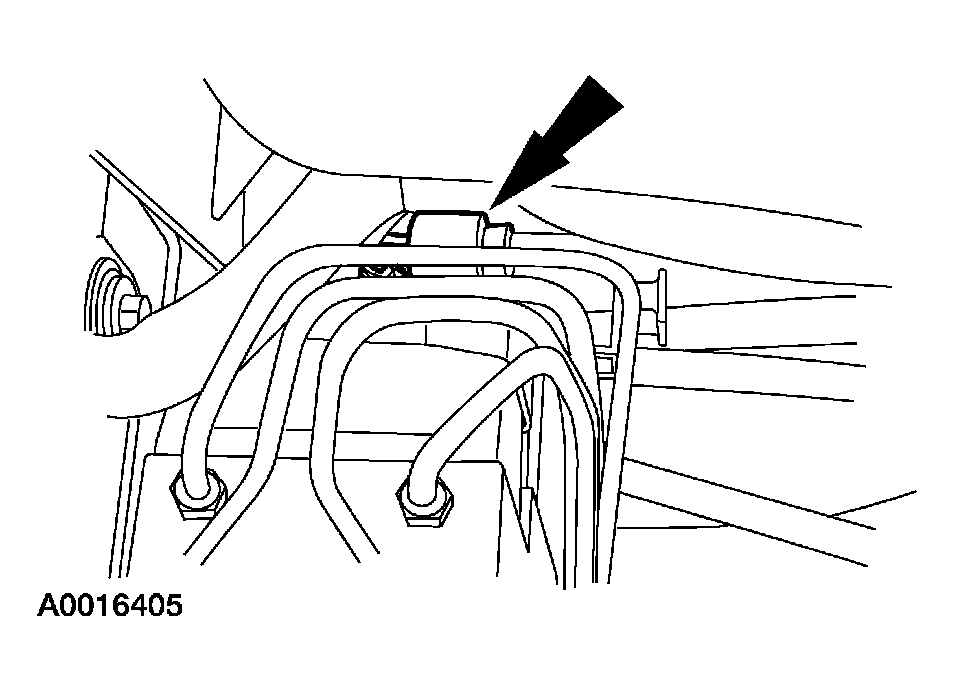
  5. Disconnect the brake lines.
    Fig 4: Disconnecting Brake Lines
    G03954598Courtesy of FORD MOTOR CO.
  6. Remove the bolts and the ABS module/hydraulic control unit (HCU) assembly.
    Fig 5: Removing ABS Module/Hydraulic Control Unit Assembly
    G03954599Courtesy of FORD MOTOR CO.
  7. Disconnect the wiring.
    Fig 6: Disconnecting Wiring
    G03954600Courtesy of FORD MOTOR CO.
  8. Remove the screws and the ABS control module.
    Fig 7: Removing ABS Control Module Screws
    G03954601Courtesy of FORD MOTOR CO.
  9. Loosen the nuts and remove the bracket.
  10. To install, reverse the removal procedure.