LEMON Manuals: Even more car manuals for everyone: 1960-2025
Home >> Ford >> 2005 >> Escape Base, 2.3 Z, FWD, Standard >> Repair and Diagnosis >> External Pages >> Different car >> Section 291 (Component Testing) >> Component Testing >> Ignition switch (11572), Late build >> Schematic
April 5, 2026: LEMON Manuals is launched! Read the announcement.

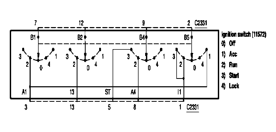
Ignition switch (11572), Late build: Schematic

WARNING: This page is about a different car, the 2005 Mercury Sable and 2005 Ford Taurus. However, it is still accessible from the selected car via links, so may be relevant.
Fig 1: Ignition Switch (11572), Late Build - Schematic
G03994406Courtesy of FORD MOTOR CO.