LEMON Manuals: Even more car manuals for everyone: 1960-2025
Home >> Ford >> 2005 >> Escape Base, 3.0 1, FWD >> Repair and Diagnosis >> External Pages >> Different car >> Section 291 (Component Testing) >> Component Testing >> Main light switch (11654), Interior lamps >> Schematic
April 5, 2026: LEMON Manuals is launched! Read the announcement.

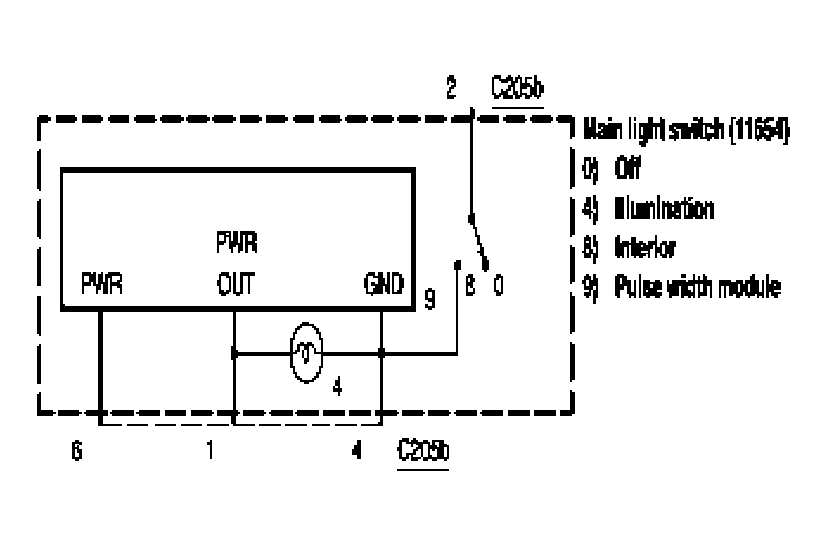
Main light switch (11654), Interior lamps: Schematic

WARNING: This page is about a different car, the 2005 Mercury Sable and 2005 Ford Taurus. However, it is still accessible from the selected car via links, so may be relevant.
Fig 1: Main Light Switch (11654), Interior Lamps - Schematic
G03994402Courtesy of FORD MOTOR CO.