LEMON Manuals: Even more car manuals for everyone: 1960-2025
Home >> Ford >> 2005 >> Excursion 2WD V10-6.8L VIN S >> Repair and Diagnosis >> Relays and Modules >> Relays and Modules - Brakes and Traction Control >> Electronic Brake Control Module >> Service and Repair
April 5, 2026: LEMON Manuals is launched! Read the announcement.

Electronic Brake Control Module: Service and Repair

Anti-Lock Brake System (ABS) Module
Removal and Installation
1. Remove the Hydraulic Control Unit (HCU).





2. Disconnect the pump motor electrical connector from the anti-lock brake system (ABS) module.





3. Remove the ABS module.
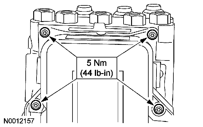
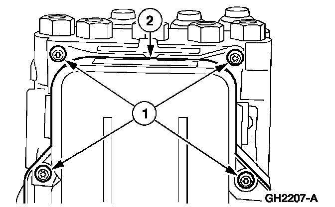
1 Remove the screws.
2 Remove the ABS module.





4. To install, reverse the removal procedure.