LEMON Manuals: Even more car manuals for everyone: 1960-2025
Home >> Ford >> 2005 >> Excursion 2WD V8-5.4L SOHC VIN L >> Repair and Diagnosis >> Specifications >> Mechanical Specifications >> Engine >> Cylinder Block Assembly >> System Specifications
April 5, 2026: LEMON Manuals is launched! Read the announcement.

System Specifications

Cylinder Block
Cylinder bore diameter-grade 1 90.200 - 90.210 mm (3.5512 - 3.5516 inch)
Cylinder bore diameter-grade 2 90.210 - 90.220 mm (3.5516 - 3.5520 inch)
Cylinder bore diameter-grade 3 90.220 - 90.230 mm (3.5520 - 3.5524 inch)
Cylinder bore maximum taper 0.006 mm (0.0002 inch)
Cylinder bore maximum out-of-round 0.020 mm (0.0008 inch)
Main bearing bore inside diameter 72.400 - 72.424 mm (2.850 - 2.851 inch)

Crankshaft
Main bearing journal 67.482-67.504 mm diameter (2.6568-2.6576 inch)
Main bearing journal maximum taper (straightness) 0.004 mm (0.0002 inch)
Main bearing journal maximum out-of-round between cross sections 0.0075 mm (0.0003 inch)
Main bearing journal-to-cylinder block clearance 0.048 - 0.024 mm (0.0019 - 0.0009 inch)
Connecting rod journal diameter 53.003 - 52.983 mm (2.0867 - 2.0859 inch)
Connecting rod journal maximum taper 0.004 mm (0.0002 inch)
Connecting rod journal maximum out-of-round between cross sections 0.0075 mm (0.0003 inch)
Crankshaft maximum end play 0.075-0.377 mm (0.0030 - 0.0148 inch)

Piston and Connecting Rod
Piston diameter-grade 1 (at right angle to pin bore) 90.175 - 90.165 mm (3.5502 - 3.5498 inch)
Piston diameter-grade 2 (at right angle to pin bore) 90.185 - 90.175 mm (3.5506 - 3.5502 inch)
Piston diameter-grade 3 (at right angle to pin bore) 90.195 - 90.185 mm (3.5510 - 3.5506 inch)
Piston-to-cylinder bore clearance -0.005 - 0.025 mm (-0.0002 - 0.0010 inch)
Piston ring end gap-top 0.15 - 0.38 mm (0.006 - 0.015 inch)
Piston ring end gap- 0.25-0.50 mm intermediate (0.0098-0.0197 inch)
Piston ring end gap-oil control 0.15 - 0.65 mm (0.0059 - 0.0256 inch)
Piston ring groove width * top 1.503 - 1.505 mm (0.0592 - 0.0593 inch)
Piston ring groove width * intermediate 1.502 - 1.504 mm (0.0591 - 0.0592 inch)
Piston ring groove width * oil control 3.030 - 3.050 mm (0.1193 - 0.1201 inch)
Piston ring width 1.5 - 1.47 mm (0.0591 - 0.0579 inch)
Piston ring-to-groove clearance-top 0.033 - 0.005 mm (0.0013 - 0.0002 inch)
Piston ring-to-groove clearance-intermediate 0.033 - 0.005 mm (0.0012 - 0.0031 inch)
Piston pin bore diameter 22.008 - 22.014 mm (0.8665 - 0.8667 inch)
Piston pin diameter 22.0010 - 22.0030 mm (0.8662 - 0.8663 inch)
Piston pin length 61.8 mm (2.433 inch)
Piston pin-to-piston fit 0.005 - 0.013 mm (0.0002 - 0.0005 inch)
Connecting rod-to-pin clearance 0.009 - 0.023 mm (0.0004 - 0.0093 inch)
Connecting rod pin bore diameter 22.024 - 22.012 mm (0.8671 - 0.8666 inch)
Connecting rod length (centerline bore-to-bore) 169.1 mm (6.6575 inch)
Connecting rod maximum allowed bend + 0.762 mm (+ 0.03 inch)
Connecting rod maximum allowed twist + 1.27 mm (+ 0.04 inch)
Connecting rod bearing bore diameter (with assembled liners) 53.049 - 53.027 mm (2.0885 - 2.0877 inch)
Connecting rod bearing-to-crankshaft clearance 0.064 - 0.026 mm (0.0025 - 0.0010 inch)
Connecting rod side clearance 0.475 - 0.125 mm (0.0187 - 0.0049 inch)
a Full indicator measurement on all journals when supported on front and rear journals.





Main Bearings

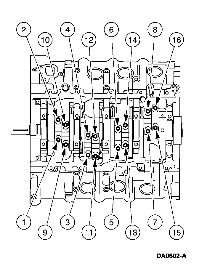
Install the vertical main bearing cap fasteners and tighten in the sequence shown.
Tighten to 40 Nm (30 ft. lbs.).
Tighten an additional 90 degrees.





Install the side bolts and tighten them in the sequence shown.
Tighten to 30 Nm (22 ft. lbs.).
Tighten an additional 90 degrees.

Crankshaft Pulley
Stage 1: Tighten to 90 Nm (66 ft. lbs.).
Stage 2: Loosen 360 degrees.
Stage 3: Tighten to 50 Nm (37 ft. lbs.).
Stage 4: Tighten an additional 90 degrees.

Connecting Rod Bolts






Stage 1: Tighten to 43 Nm (32 ft. lbs.).
Stage 2: Tighten an additional 105 degrees.