LEMON Manuals: Even more car manuals for everyone: 1960-2025
Home >> Ford >> 2005 >> Excursion 2WD V8-6.0L DSL Turbo VIN P >> Repair and Diagnosis >> Powertrain Management >> Computers and Control Systems >> Barometric Pressure Sensor >> Service and Repair
April 5, 2026: LEMON Manuals is launched! Read the announcement.

Barometric Pressure Sensor: Service and Repair

BAROMETRIC PRESSURE (BARO) SENSOR

Removal and Installation

1. CAUTION: Make sure the ignition switch is in the OFF position prior to working on the electronic engine controls.

Turn the ignition switch to the OFF position.







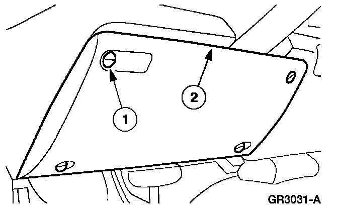
2. CAUTION: Use care when removing the instrument panel steering column cover or damage to the cover locating tab can occur.

Remove the instrument panel steering column cover.
1 Unlock the retainers.
2 Remove the instrument panel steering column cover.







3. Remove the barometric pressure (BARO) sensor.
- Disconnect the BARO sensor electrical connector.
- Release the clip and remove the BARO sensor.

4. To install, reverse the removal procedure.