LEMON Manuals: Even more car manuals for everyone: 1960-2025
Home >> Ford >> 2005 >> Excursion 4WD V8-6.0L DSL Turbo VIN P >> Repair and Diagnosis >> Powertrain Management >> Computers and Control Systems >> Fuel Injector Control Module >> Service and Repair
April 5, 2026: LEMON Manuals is launched! Read the announcement.

Fuel Injector Control Module: Service and Repair



FUEL INJECTOR CONTROL MODULE

Removal and Installation

All vehicles

1. Retrieve the module configuration. Carry out the module configuration retrieval steps of the Programmable Module Installation (PMI) procedure.

2. NOTICE: Make sure the ignition switch is in the OFF position prior to working on the electronic engine controls.

Turn the ignition switch to the OFF position.

3. WARNING: Never remove the pressure relief cap while the engine is operating or when the cooling system is hot. Failure to follow these instructions can result in damage to the cooling system or engine or result in personal injury. To avoid having scalding hot coolant or steam blow out of the degas bottle when removing the pressure relief cap, wait until the engine has cooled, then wrap a thick cloth around the pressure relief cap and turn it slowly. Step back while the pressure is released from the cooling system. When certain all the pressure has been released, (still with a cloth) turn and remove the pressure relief cap. Failure to follow these instructions can result in personal injury.

Relieve the cooling system pressure. Disconnect and plug or cap the engine vent hose and radiator vent hose.






4. Remove the bolts and position the degas bottle aside.






Late build vehicles






5. Disconnect the two exhaust pressure (EP) sensor harness pin-type retainers.






6. Disconnect the EP sensor electrical connector and position the harness aside.






All vehicles

7. Remove the two bolts, two nuts and turbocharger intake tube bracket.






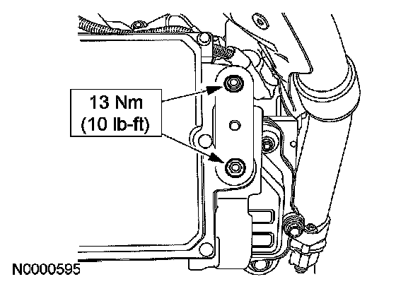
8. Remove the fuel injector control module (FICM) bolts.






9. CAUTION: Make sure both latches are released before removing the electrical connectors or engine damage can occur.

Position out the FICM and disconnect the electrical connectors. Remove the FICM.






10. NOTICE: With the engine cold, fill vehicles without a yellow fill level decal on the degas bottle only to the MIN line. The correct fill level on these vehicles is between the MIN line and 15 mm (0.59 in) below the MIN line. Fill vehicles with a yellow fill level decal to within the yellow cold fill range shown on the decal. These fill levels will allow for coolant expansion. Overfilling the degas bottle may result in damage to the pressure cap, which can cause the engine to overheat.

To install reverse the removal procedure.

^ If the fuel injector control module was replaced~ restore the module configuration. Carry out the module configuration steps of the Programmable Module Installation (PMI) procedure.