LEMON Manuals: Even more car manuals for everyone: 1960-2025
Home >> Ford >> 2005 >> Excursion 6.0 P, RWD >> Repair and Diagnosis >> Brakes >> Traction Control >> Anti-Lock Brake System - 4-Wheel >> Diagnosis And Testing >> Anti-Lock Control >> Pinpoint Tests >> Pinpoint Test L: No Communication With The Anti-Lock Brake System (Abs) Module
April 5, 2026: LEMON Manuals is launched! Read the announcement.

Pinpoint Test L: No Communication With The Anti-Lock Brake System (Abs) Module

  1. L1 VERIFY THE CONNECTION BETWEEN THE DIAGNOSTIC TOOL AND THE DLC II CONNECTOR 
    • Key in OFF position.
    • Reconnect the diagnostic tool to the DLC connector.
    • Enter the following diagnostic mode on the diagnostic tool: Retrieve and document continuous DTCs.
    • Are DTCs obtained? 
  2. L2 CHECK THE IGNITION VOLTAGE TO THE HCU 
    • Key in OFF position.
    • Install the EEC-IV 60-Pin Breakout Box.
    • Key in ON position.
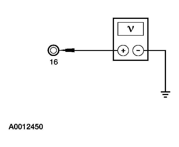
    • Measure the voltage between the EEC-IV 60-Pin Breakout Box pin 16 and ground.
      Fig 1: Measuring Voltage Between EEC-IV 60-Pin Breakout Box Pin 16 And Ground
      G03904917Courtesy of FORD MOTOR CO.
    • Is the voltage greater than 10 volts? 
    • Yes  : GO to L3.
    • No  : CHECK central junction box (CJB) fuse 25 (10A) and/or REPAIR circuit 533 (TN/RD). TEST the system for normal operation.
  3. L3 CHECK THE ABS GROUND 
    • Key in OFF position.
    • Disconnect: ABS Module C135.
    • Disconnect the battery.
    • Measure the resistance between the ABS module C135 pins 8 and 24, circuit 530 (LG/RD), and ground.
      Fig 2: Measuring Resistance Between Pins 8 And 24 And Ground
      G03904918Courtesy of FORD MOTOR CO.
    • Is the resistance less than 5 ohms?