LEMON Manuals: Even more car manuals for everyone: 1960-2025
Home >> Ford >> 2005 >> Focus L4-2.3L VIN Z >> Repair and Diagnosis >> Cruise Control >> Brake Switch (Cruise Control) >> Service and Repair
April 5, 2026: LEMON Manuals is launched! Read the announcement.

Brake Switch (Cruise Control): Service and Repair

SPEED CONTROL DEACTIVATOR SWITCH

Removal







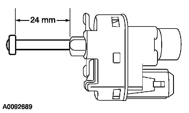
1. NOTE: Brake pedal position switch (BPP) and clutch pedal position (CPP) switch removed for clarity.

Remove the speed control deactivator switch.
1. Disconnect the electrical connector.
2. Rotate the speed control deactivator switch counterclockwise.







2. Pull out the speed control deactivator switch plunger until it is fully extended.
1. Measure the plunger length. It should measure 24 mm (0.94 in).

Installation
1. Apply the brake pedal.







2. CAUTION: When installing the deactivator switch, the switch is rotated clockwise. Failure to follow this instruction will result in the switch plunger binding inside the switch.

NOTE:
- The speed control deactivator switch is automatically adjusted during installation.
- A slight ratcheting noise and feel during installation of the speed control deactivator switch is normal.

Install the speed control deactivator switch by turning the switch clockwise.

3. Slowly release the brake pedal.







4. Connect the electrical connector to the speed control deactivator switch.