LEMON Manuals: Even more car manuals for everyone: 1960-2025
Home >> Ford >> 2005 >> Focus L4-2.3L VIN Z >> Repair and Diagnosis >> Relays and Modules >> Relays and Modules - Brakes and Traction Control >> Electronic Brake Control Module >> Service and Repair
April 5, 2026: LEMON Manuals is launched! Read the announcement.

Electronic Brake Control Module: Service and Repair

Anti-Lock Brake System (ABS) Module

Removal and Installation
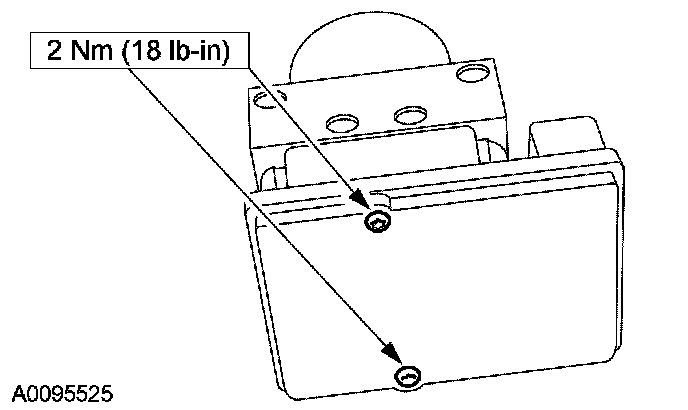
1. Remove the Hydraulic Control Unit (HCU).





2. Remove the ABS module to HCU retaining bolts.
3. Remove the ABS module from the HCU.
4. To install, reverse the removal procedure.