LEMON Manuals: Even more car manuals for everyone: 1960-2025
Home >> Ford >> 2005 >> Focus ZX4 ST >> Repair and Diagnosis >> Body & Frame >> Windows And Glass >> General Procedures >> Windshield Reseal
April 5, 2026: LEMON Manuals is launched! Read the announcement.

Windshield Reseal

Material 

MATERIAL SPECIFICATION CHART

Item Specification
Urethane Adhesive Betaseal® Express -
Urethane One Step Glass Primer Betaprime® 5500/5500A/5500SA -
  1. Remove the cowl panel grille. For additional information, refer to FRONT END BODY PANELS .
  2. Remove the LH and RH A-pillar trim panels. For additional information, refer to INTERIOR TRIM AND ORNAMENTATION .
  3. If equipped, remove the overhead console. For additional information, refer to INSTRUMENT PANEL AND CONSOLE .
  4. If equipped, remove the interior lamp.
    • Disconnect the electrical connectors.
    Fig 1: Identifying Interior Lamp
    G03952874Courtesy of FORD MOTOR CO.
  5. Remove the screws and the LH and RH sun visors.
    Fig 2: Removing Screws Of LH And RH Sun Visors
    G03952875Courtesy of FORD MOTOR CO.
  6. Remove the LH and RH sun visor retaining clips.
    1. Open the covers.
    2. Remove the screws.
    Fig 3: Removing LH And RH Sun Visor Retaining Clips
    G03952876Courtesy of FORD MOTOR CO.
  7. Open the LH and RH assist handle covers.
    Fig 4: Opening LH And RH Assist Handle Covers
    G03952672Courtesy of FORD MOTOR CO.
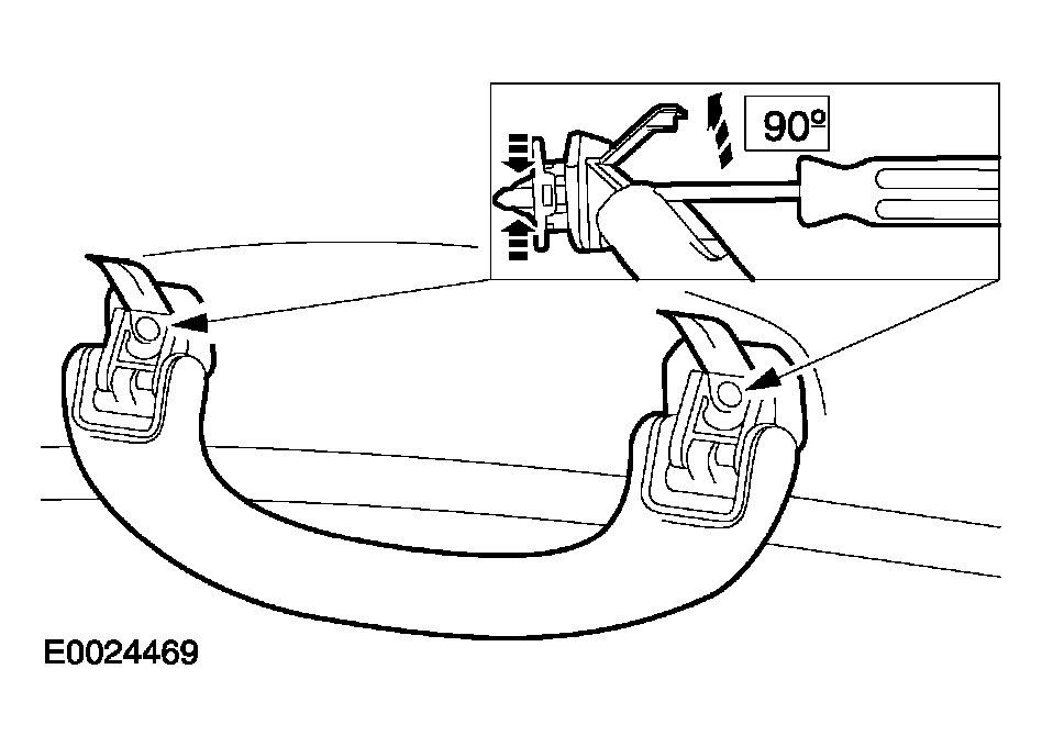
  8. Remove the LH and RH assist handles.
    • Rotate the retaining clips 90 degrees.
    Fig 5: Removing LH And RH Assist Handles By Rotating Retaining Clips 90 Degrees
    G03952367Courtesy of FORD MOTOR CO.
  9. Partially lower the front portion of the headliner and block with a suitable material.
  10. Clean the interior and exterior of the windshield glass surface with a non-alcohol based glass cleaner.
  11. Cut the urethane adhesive applicator tip to specification.
    Fig 6: Identifying Urethane Applicator Tip Specification
    G03890979Courtesy of FORD MOTOR CO.
  12. NOTE: Use either a high-ratio, electric or battery-operated caulk gun that will apply the urethane with less effort and continuous bead.
    NOTE: Make sure that all gaps in the urethane adhesive are smoothed into one continuous bead.
  13. Apply urethane adhesive over top of the existing urethane adhesive.
    • Apply the urethane to the top and sides of the windshield from the interior of the vehicle.
    • Apply the urethane to the bottom of the windshield from the exterior of the vehicle.
  14. NOTE: The urethane adhesive must cure for a minimum of 1 hour before testing for air or water leaks.
  15. After the urethane has cured, check the windshield seal for air or water leaks through the urethane adhesive bead and add urethane adhesive as necessary.
  16. Position the front portion of the headliner.
  17. Install the LH and RH assist handles.
    • Rotate the retaining clip 90 degrees.
    Fig 7: Installing LH And RH Assist Handles By Rotating Retaining Clip 90 Degrees
    G03952367Courtesy of FORD MOTOR CO.
  18. Close the LH and RH assist handle covers.
    Fig 8: Closing LH And RH Assist Handle Covers
    G03952672Courtesy of FORD MOTOR CO.
  19. Install the LH and RH sun visor retaining clips.
    1. Install the screws.
    2. Close the covers.
    Fig 9: Installing LH And RH Sun Visor Retaining Clips
    G03952882Courtesy of FORD MOTOR CO.
  20. Position the LH and RH sun visors and install the screws.
    Fig 10: Installing Sun Visors Screws
    G03952669Courtesy of FORD MOTOR CO.
  21. If equipped, install the interior lamp.
    • Connect the electrical connectors.
    Fig 11: Installing Interior Lamp
    G03952884Courtesy of FORD MOTOR CO.
  22. If equipped, install the overhead console. For additional information, refer to INSTRUMENT PANEL AND CONSOLE .
  23. Install the LH and RH A-pillar trim panels. For additional information refer to INTERIOR TRIM AND ORNAMENTATION .
  24. Install the cowl panel grille. For additional information, refer to FRONT END BODY PANELS .