LEMON Manuals: Even more car manuals for everyone: 1960-2025
Home >> Ford >> 2005 >> Focus ZX4 ST >> Repair and Diagnosis >> Body & Frame >> Windows And Glass >> Removal And Installation >> Liftgate Window Glass >> Installation
April 5, 2026: LEMON Manuals is launched! Read the announcement.

Liftgate Window Glass: Installation

CAUTION: When installing urethane installed glass parts, the vehicle must not be driven until the urethane adhesive has cured. At temperatures above 21°C (70°F) and relative humidities above 50%, adequate cure time is typically 24 hours. (REFER to Essex drive away chart for the cure times as temperatures and humidity vary.) Inadequate or incorrect curing can adversely affect the retention of the rear window glass.

    All vehicles 

  1. Remove the remaining part of the locating pegs from the rear window glass flange.
  2. NOTE: Avoid scratching the pinch weld.
    Fig 1: Trimming Pinch Weld Urethane Adhesive
    G03880554Courtesy of FORD MOTOR CO.
  3. Trim the remaining urethane adhesive. The urethane adhesive must be smooth and free of cuts and contamination after trimming. Avoid touching the urethane adhesive after preparation.
  4. Apply the urethane metal primer to any exposed or damaged metal on the pinch weld.
  5. If installing the original rear window glass, remove the excess urethane adhesive.
  6. Clean the rear window glass with a non-alcohol based window cleaner.
  7. CAUTION: Wipe off the urethane glass prep immediately after each application because it flash dries.
  8. If installing a new rear window glass, apply urethane glass prep twice to the area to be urethaned.
  9. If installing a new rear window glass, apply urethane glass primer to the same area that was prepped in the previous step. Allow 5 minutes to dry.
  10. Cut the urethane adhesive applicator tip to specification.
    Fig 2: Cutting Urethane Adhesive Applicator Tip
    G03959039Courtesy of FORD MOTOR CO.
  11. Apply a bead of urethane adhesive on top of the existing urethane bead on the pinch weld. Make sure that all gaps in the urethane adhesive are smoothed into one continuous bead.
  12. Install the rear window glass on the pinch weld.
    Fig 3: Applying Bead Of Urethane Adhesive To Pinch Weld
    G03880556Courtesy of FORD MOTOR CO.
  13. Inspect the rear window glass seal for air or water leaks through the urethane adhesive seal.
  14. Connect the heated rear window glass electrical connectors.
    Fig 4: Connecting Heated Rear Window Glass Electrical Connectors
    G03952937Courtesy of FORD MOTOR CO.
  15. 3-Door, 5-Door 

  16. Install the liftgate side trim panels on both sides.
    Fig 5: Installing Liftgate Side Trim Panels On Both Sides
    G03952936Courtesy of FORD MOTOR CO.
  17. Install the liftgate center trim panel.
    Fig 6: Installing Liftgate Center Trim Panel
    G03952935Courtesy of FORD MOTOR CO.
  18. If equipped, install the parcel shelf strap clips on both sides.
    Fig 7: Installing Parcel Shelf Strap Clips On Both Sides
    G03952934Courtesy of FORD MOTOR CO.
  19. All vehicles 

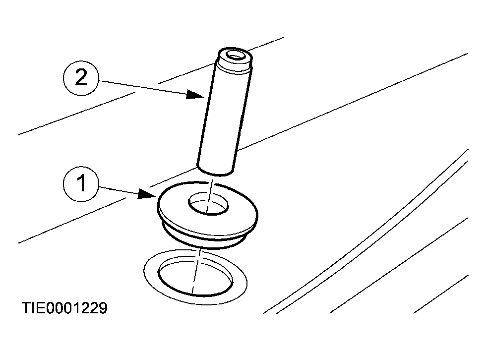
  20. Install the rear window wiper motor spindle grommet.
    1. Install the grommet.
    2. Install the sleeve.
    Fig 8: Installing Rear Window Wiper Motor Spindle Grommet
    G03952947Courtesy of FORD MOTOR CO.
  21. Install the rear window wiper motor. For additional information, refer to WIPERS AND WASHERS .
  22. If equipped, install the parcel shelf.
    Fig 9: Installing Rear Window Wiper Motor
    G03952932Courtesy of FORD MOTOR CO.
  23. Connect the high mounted stoplamp electrical connector.
    Fig 10: Connecting High Mounted Stoplamp Electrical Connector
    G03952917Courtesy of FORD MOTOR CO.
  24. Install the high mounted stoplamp.
Fig 11: Installing High Mounted Stoplamp
G03952916Courtesy of FORD MOTOR CO.