LEMON Manuals: Even more car manuals for everyone: 1960-2025
Home >> Ford >> 2005 >> Focus ZX4 ST >> Repair and Diagnosis >> Transmission >> Manual Trans >> Manual Transmission >> Disassembly And Assembly Of Subassemblies >> Input Shaft >> Assembly
April 5, 2026: LEMON Manuals is launched! Read the announcement.

Input Shaft: Assembly

    NOTE: Using a suitable press, install the gear wheels.
    Fig 1: Installing Gear Wheels
    G04517334Courtesy of FORD MOTOR CO.
  1. Carefully clean and check all sliding parts and lubricate them with clean manual transmission fluid before assembly.
  2. Using a length of suitable tube, install the clutch housing roller bearing.
    Fig 2: Installing Clutch Housing Roller Bearing
    G04517335Courtesy of FORD MOTOR CO.
  3. Install the third gear needle bearing, third gear, gear wheel and the synchronizer ring.
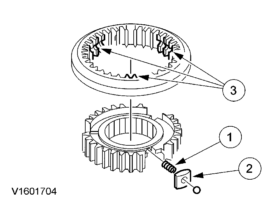
  4. Assemble the third and fourth gear synchronizer.
    1. Install the compression springs.
    2. Install the synchronizer bar and detent balls by pressing against the spring pressure.
    3. Install the selector ring the right way round and slide it on.
      Fig 3: Installing Selector Ring
      G04517336Courtesy of FORD MOTOR CO.
  5. NOTE: Install the synchronizer hub with the large collar facing outward and the annular groove facing the small collar.
    NOTE: Install a new snap ring.
  6. Install the third/fourth gear synchronizer assembly.
    1. Install the synchronizer assembly.
    2. Install a new snap ring.
      Fig 4: Installing Third/Fourth Gear Synchronizer Assembly (1 Of 2)
      G04517337Courtesy of FORD MOTOR CO.
      Fig 5: Installing Third/Fourth Gear Synchronizer Assembly (2 Of 2)
      G04517338Courtesy of FORD MOTOR CO.
  7. Install the fourth gear.
    1. Install the synchronizer ring.
    2. Install the fourth gear needle bearing.
    3. Install the fourth gear.
      Fig 6: Installing Fourth Gear
      G04517339Courtesy of FORD MOTOR CO.
  8. Using a suitable press, install fifth gear. Install a new snap ring.
    Fig 7: Installing Fifth Gear
    G04517340Courtesy of FORD MOTOR CO.
  9. Using a length of suitable tube, install the transaxle housing roller bearing.
    Fig 8: Installing Transaxle Housing Roller Bearing
    G04517341Courtesy of FORD MOTOR CO.