LEMON Manuals: Even more car manuals for everyone: 1960-2025
Home >> Ford >> 2005 >> Focus ZX5 S, Automatic >> Repair and Diagnosis (Single Page) >> Accessories & Equipment >> Communication Devices >> MULTIFUNCTION Electronic Modules >> Diagnosis And Testing >> Generic Electronic Module (GEM) >> Pinpoint Tests >> Pinpoint Test A: No Communication With The Generic Electronic Module (Gem)
April 5, 2026: LEMON Manuals is launched! Read the announcement.

Pinpoint Test A: No Communication With The Generic Electronic Module (Gem)

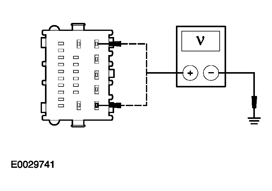
  1. A1 CHECK THE GEM POWER CIRCUITS FOR VOLTAGE 
    • Key in OFF position.
    • Disconnect: GEM C201c.
    • Key in ON position.
    • Measure the voltage between the GEM C201c pin 5, circuit 29-DK20 (OG/GN), harness side and ground; and between the GEM C201c pin 1, circuit 29-AA17 (OG/WH), harness side and ground.
      Fig 1: Checking GEM Power Circuits For Voltage
      G03952571Courtesy of FORD MOTOR CO.
    • Are the voltages greater than 10 volts? 
      • Yes  : GO to  A2.
      • No  : REPAIR the circuit in question. CLEAR the DTCs. REPEAT the self-test. CARRY OUT the data link diagnostics test.
  2. A2 CHECK THE GEM GROUND CIRCUIT 31-DK20 (BK) FOR AN OPEN 
    • Key in OFF position.
    • Disconnect: GEM C201a.
    • Measure the resistance between the GEM C201a pin 5, circuit 31-DK20 (BK), harness side and ground.
      Fig 2: Measuring Resistance Between GEM C201a Pin 5, Circuit 31-DK20 (BK), Harness Side And Ground
      G03952572Courtesy of FORD MOTOR CO.
    • Is the resistance less than 5 ohms? 
      • Yes  : GO to  A3.
      • No  : REPAIR the circuit. CLEAR the DTCs. REPEAT the self-test. CARRY OUT the data link diagnostics test.
  3. A3 CHECK THE GEM GROUND CIRCUIT 91-DK20 (BK/RD) FOR AN OPEN 
    • Disconnect: GEM C201d.
    • Measure the resistance between the GEM C201d pin 1, circuit 91-DK20 (BK/RD), harness side and ground.
      Fig 3: Measuring Resistance Between GEM C201d Pin 1, Circuit 91-DK20 (BK/RD), Harness Side And Ground
      G03952573Courtesy of FORD MOTOR CO.
    • Is the resistance less than 5 ohms? 
      • Yes  : REFER to MODULE COMMUNICATIONS NETWORK to continue communication diagnosis.
      • No  : REPAIR the circuit. CLEAR the DTCs. REPEAT the self-test. CARRY OUT the data link diagnostics test.