LEMON Manuals: Even more car manuals for everyone: 1960-2025
Home >> Ford >> 2005 >> Focus ZX5 SE, Automatic >> Repair and Diagnosis >> Transmission >> Automatic Trans >> Automatic Transmission >> Assembly >> Transaxle >> Assembly
April 5, 2026: LEMON Manuals is launched! Read the announcement.

Automatic Transmission: Assembly: Transaxle: Assembly

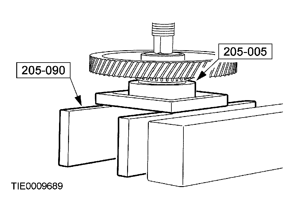
  1. Using the special tool, install the final drive input gear bearing.
    1. Install the final drive input gear bearing.
    2. Install the special tool.
    Fig 1: Installing Final Drive Input Gear Bearing Using Special Tool
    G03951580Courtesy of FORD MOTOR CO.
  2. Using an arbor press and the special tools, seat the final drive input gear bearing.
    Fig 2: Using Arbor Press And Special Tools To Seat Final Drive Input Gear Bearing
    G03951581Courtesy of FORD MOTOR CO.
  3. Install a new collapsible spacer.
    Fig 3: Installing Collapsible Spacer
    G03951434Courtesy of FORD MOTOR CO.
  4. Using the special tool, position the final drive input gear.
    Fig 4: Positioning Final Drive Input Gear Using Special Tool
    G03951583Courtesy of FORD MOTOR CO.
  5. CAUTION: Hold the final drive input gear while installing the final drive input gear bearing to prevent it from falling out of the transaxle case.
  6. Rotate the transaxle 180 degrees.
  7. Using the special tools, install the final drive input gear bearing.
    Fig 5: Installing Final Drive Input Gear Bearing Using Special Tool
    G03951584Courtesy of FORD MOTOR CO.
  8. Rotate the transaxle 180 degrees.
  9. Using the special tool, lock the final drive input gear.
    Fig 6: Locking Final Drive Input Gear Using Special Tool
    G03951430Courtesy of FORD MOTOR CO.
  10. Rotate the transaxle 180 degrees.
  11. NOTE: A high tightening torque specification between 400-450 Nm (295-332 lb-ft) is necessary to crush the collapsible spacer for correct bearing preload.
    NOTE: If the preload is too high, a new collapsible spacer must be installed.
    Fig 7: Tightening Nut Using Special Tool
    G03951586Courtesy of FORD MOTOR CO.
  12. Using the special tools, tighten the nut to achieve the preload specification.
  13. Rotate the transaxle 180 degrees.
  14. NOTE: Make sure that the final drive rotates.
    Fig 8: Unlocking Special Tool
    G03951587Courtesy of FORD MOTOR CO.
  15. Unlock the special tool.
  16. Rotate the transaxle 180 degrees.
  17. CAUTION: Make sure the bearing preload is within specification.
    NOTE: Rotate the gear 10 times to make sure that the bearings are correctly seated.
    Fig 9: Measuring Rotating Torque Using Special Tool
    G03951588Courtesy of FORD MOTOR CO.
  18. Using the special tools, measure the rotating torque.
  19. After achieving the correct torque, remove the special tools and stake the nut to prevent movement.
    Fig 10: Removing Special Tools And Staking Nut To Prevent Movement
    G03951589Courtesy of FORD MOTOR CO.
  20. Rotate the transaxle 180 degrees.
  21. Position the transfer shaft gears in the transaxle case.
    Fig 11: Positioning Transfer Shaft Gears In Transaxle Case
    G03951590Courtesy of FORD MOTOR CO.
  22. Install the parking pawl return spring.
    Fig 12: Installing Parking Pawl Return Spring
    G03951428Courtesy of FORD MOTOR CO.
  23. Connect the spring.
    1. Install the parking pawl abutment.
    2. Install the lever.
    3. Install the pin.
    4. Connect the spring.
    Fig 13: Connecting Spring
    G03951592Courtesy of FORD MOTOR CO.
  24. Install the parking pawl assembly cover and bolts.
    Fig 14: Installing Parking Pawl Assembly Cover And Bolts
    G03951593Courtesy of FORD MOTOR CO.
  25. Install the differential case assembly.
    Fig 15: Installing Differential Case Assembly
    G03951425Courtesy of FORD MOTOR CO.
  26. Position the bearing cups.
    Fig 16: Positioning Bearing Cups
    G03951595Courtesy of FORD MOTOR CO.
  27. Install the special tools.
    Fig 17: Installing Special Tools To Bearing Cups
    G03951596Courtesy of FORD MOTOR CO.
  28. CAUTION: Do not use the bolts from special service kit 308-164 they will not work. Use only the bolts from the special service kit 308-161.
    NOTE: The converter housing cover must be installed evenly or an incorrect reading will result.
    Fig 18: Assembling Transaxle For End Play Measurement Using Special Tools
    G03951597Courtesy of FORD MOTOR CO.
  29. Using the special tools, assemble the transaxle for end play measurement.
    1. Position the converter housing.
    2. Install the special tool bolts and seat the case cover flat.
  30. Remove the converter housing.
    1. Remove bolts.
    2. Remove the converter housing.
    Fig 19: Removing Converter Housing
    G03951598Courtesy of FORD MOTOR CO.
  31. Remove the special tools.
    Fig 20: Removing Special Tools
    G03951596Courtesy of FORD MOTOR CO.
  32. Remove the bearing cups.
    Fig 21: Removing Bearing Cups
    G03951595Courtesy of FORD MOTOR CO.
  33. NOTE: If the plunger is above the contact surface, the reading will be incorrect.
    Fig 22: Identifying Special Tool (1 Of 2)
    G03951601Courtesy of FORD MOTOR CO.
  34. To determine the correct transfer shaft shim, measure the depth of the plunger on the special tool and select the correct transfer shaft shim. For additional information, refer to SPECIFICATIONS .
  35. NOTE: If the plunger is above the contact surface, the reading will be incorrect.
    Fig 23: Identifying Special Tool (2 Of 2)
    G03951601Courtesy of FORD MOTOR CO.
  36. To determine the correct differential shaft shim, measure the depth of the plunger on the special tool and select the correct differential shaft shim. For additional information, refer to SPECIFICATIONS .
  37. Using the special tool, install the correct transfer shaft shim and bearing cup in to the converter housing.
    Fig 24: Installing Transfer Shaft Shim And Bearing Cup In To Converter Housing Using Special Tool
    G03951603Courtesy of FORD MOTOR CO.
  38. Using the special tool, install the correct differential shaft shim and differential case bearing cup into the converter housing.
    Fig 25: Installing Differential Case Bearing Cup Into Converter Housing Using Special Tool
    G03951604Courtesy of FORD MOTOR CO.
  39. Apply a one millimeter thick bead of Loctite 5699.
    Fig 26: Applying One Millimeter Thick Bead Of Loctite
    G03951605Courtesy of FORD MOTOR CO.
  40. Position the converter housing on the transaxle case and install the bolts.
    Fig 27: Positioning Converter Housing On Transaxle Case And Installing Bolts
    G03951606Courtesy of FORD MOTOR CO.
  41. Install the intermediate/overdrive band servo piston return spring.
    Fig 28: Installing Intermediate/Overdrive Band Servo Piston Return Spring
    G03951423Courtesy of FORD MOTOR CO.
  42. Install the intermediate/overdrive servo piston.
    Fig 29: Installing Intermediate/Overdrive Servo Piston
    G03951422Courtesy of FORD MOTOR CO.
  43. Install the O-ring seal.
    Fig 30: Installing O-Ring Seal
    G03951421Courtesy of FORD MOTOR CO.
  44. NOTE: The three bolts must be loosely installed, then tightened in sequence to compress the intermediate/overdrive spring evenly.
    Fig 31: Installing Intermediate/Overdrive Band Servo Piston Cover
    G03951610Courtesy of FORD MOTOR CO.
  45. Install the intermediate/overdrive band servo piston cover.
  46. Install the shifter assembly and bolt.
    Fig 32: Installing Shifter Assembly And Bolt
    G03951611Courtesy of FORD MOTOR CO.
  47. NOTE: Lubricate the O-ring prior to assembly.
    Fig 33: Installing New O-Rings On Manual Lever Shaft
    G03951418Courtesy of FORD MOTOR CO.
  48. Install the new O-rings on the manual lever shaft.
  49. Install the manual lever shaft.
    Fig 34: Installing Manual Lever Shaft
    G03951417Courtesy of FORD MOTOR CO.
  50. NOTE: The roll pin does not need to sit flush with the shifter assembly.
    Fig 35: Installing New Manual Lever Shaft Roll Pin
    G03951614Courtesy of FORD MOTOR CO.
  51. Install a new manual lever shaft roll pin.
  52. Loosely install the transmission range (TR) sensor.
    Fig 36: Installing Transmission Range (TR) Sensor
    G03951615Courtesy of FORD MOTOR CO.
  53. Check accumulator bores and pistons for steps and install the accumulator pistons in their respective bores.
    Fig 37: Checking Accumulator Pistons For Steps
    G03951616Courtesy of FORD MOTOR CO.
  54. NOTE: The neutral drive accumulator springs are thinner than the 1-2 accumulator springs.
    Fig 38: Installing Thinner And Longer Neutral Drive Accumulator Springs
    G03951617Courtesy of FORD MOTOR CO.
  55. Install the thinner and longer neutral drive accumulator springs.
  56. Install the neutral drive accumulator piston.
    Fig 39: Installing Neutral Drive Accumulator Piston
    G03951618Courtesy of FORD MOTOR CO.
  57. Install the 1-2 accumulator springs.
    Fig 40: Installing 1-2 Accumulator Springs
    G03951619Courtesy of FORD MOTOR CO.
  58. Install the 1-2 accumulator piston.
    Fig 41: Installing 1-2 Accumulator Piston
    G03951620Courtesy of FORD MOTOR CO.
  59. Inspect the seals. Lubricate and install the transaxle internal harness electrical connector.
    Fig 42: Installing Transaxle Internal Harness Electrical Connector
    G03951621Courtesy of FORD MOTOR CO.
  60. NOTE: Make sure that the manual valve is in the manual control valve shift lever.
    NOTE: Do not fully tighten the bolts at this stage.
    Fig 43: Installing Main Control Valve Body
    G03951288Courtesy of FORD MOTOR CO.
  61. Install the main control valve body.
  62. Tighten the main control valve body retaining bolts.
    • Tighten the bolts in the sequence shown.
    Fig 44: Identifying Main Control Valve Body Retaining Bolts Tightening Sequence
    G03951623Courtesy of FORD MOTOR CO.
  63. NOTE: It is necessary to connect the connectors in the same positions as noted in disassembly. Connector color letters are cast in the solenoid body.
    Fig 45: Installing Main Control Wiring Harness, Connecting Electrical Connectors And Installing Ground Wire Bolt
    G03951624Courtesy of FORD MOTOR CO.
  64. Install the main control wiring harness, connect the electrical connectors and install the ground wire bolt.
    1. Solenoid SSC; Color N (Neutral/White).
    2. Solenoid SSE; Color G (Green).
    3. Solenoid SSD; Color L (Blue).
    4. Solenoid EPC; Color B (Black).
    5. Solenoid SSA; Color N (Neutral).
    6. Solenoid SSB; Color B (Black).
  65. Install the fluid filter.
    Fig 46: Installing Fluid Filter
    G03951283Courtesy of FORD MOTOR CO.
  66. Connect the transmission fluid temperature (TFT) sensor.
    Fig 47: Connecting Transmission Fluid Temperature (TFT) Sensor
    G03951282Courtesy of FORD MOTOR CO.
  67. Apply a bead 1.5 mm diameter of Motorcraft TA-29 to the transaxle fluid pan.
    Fig 48: Applying Bead 1.5 mm Diameter Of Motorcraft TA-29 To Transaxle Fluid Pan
    G03951280Courtesy of FORD MOTOR CO.
  68. Install the transaxle fluid pan.
    Fig 49: Installing Transaxle Fluid Pan Bolts
    G03951628Courtesy of FORD MOTOR CO.
  69. Rotate the transaxle 180 degrees.
  70. Install the low/reverse clutch piston.
    Fig 50: Installing Low/Reverse Clutch Piston
    G03951408Courtesy of FORD MOTOR CO.
  71. Install the low/reverse clutch return spring.
    Fig 51: Installing Low/Reverse Clutch Return Spring
    G03951407Courtesy of FORD MOTOR CO.
  72. Install the bevel ring with the outer edge of the beveled ring up towards the top of the case.
    Fig 52: Installing Bevel Ring With Outer Edge Of Beveled Ring Up Towards Top Of Case
    G03951631Courtesy of FORD MOTOR CO.
  73. Inspect the position of the bevel ring.
    1. Make sure the low/reverse clutch piston is seated.
    2. Make sure the bevel ring is installed with the inside edge facing down.
    Fig 53: Inspecting Position Of Bevel Ring
    G03951632Courtesy of FORD MOTOR CO.
  74. Install the low one-way clutch inner race.
    Fig 54: Installing Low One-Way Clutch Inner Race
    G03951406Courtesy of FORD MOTOR CO.
  75. NOTE: The opening of the retaining ring must be at the ten o'clock position.
    Fig 55: Installing Low One-Way Clutch Retaining Ring
    G03951634Courtesy of FORD MOTOR CO.
  76. Install the low one-way clutch retaining ring.
  77. Install the low/reverse plates and pressure plate.
    Fig 56: Installing Low/Reverse Plates And Pressure Plate
    G03951635Courtesy of FORD MOTOR CO.
  78. Install the low reverse clutch plate selective retaining ring.
    • Check the clutch clearance.
    Fig 57: Installing Low Reverse Clutch Plate Selective Retaining Ring
    G03951403Courtesy of FORD MOTOR CO.
  79. NOTE: Make sure that the snap ring is installed before installing the planet assembly.
    Fig 58: Installing Planet Assembly
    G03951637Courtesy of FORD MOTOR CO.
  80. Install the planet assembly.
  81. CAUTION: The edge of the planet assembly must fit flush with the transaxle case.
    Fig 59: Inspecting Planet Assembly Installation
    G03951638Courtesy of FORD MOTOR CO.
  82. Inspect the planet assembly installation.
  83. CAUTION: The planet assembly must only rotate counterclockwise.
    Fig 60: Identifying One Way Clutch Is Correctly Installed
    G03951639Courtesy of FORD MOTOR CO.
  84. Check to make sure that the one way clutch is correctly installed.
    • Rotate the planet assembly clockwise and counterclockwise.
  85. Install the intermediate/overdrive drum assembly.
    Fig 61: Installing Intermediate/Overdrive Drum Assembly
    G03951640Courtesy of FORD MOTOR CO.
  86. Install the intermediate/overdrive band.
    Fig 62: Installing Intermediate/Overdrive Band
    G03951641Courtesy of FORD MOTOR CO.
  87. Install the direct clutch cylinder thrust bearing with the rollers facing up.
    Fig 63: Installing Direct Clutch Cylinder Thrust Bearing
    G03951642Courtesy of FORD MOTOR CO.
  88. Install new end cover-to-case seals.
    Fig 64: Installing New End Cover-To-Case Seals
    G03951643Courtesy of FORD MOTOR CO.
  89. Install new end cover seals.
    Fig 65: Installing New End Cover Seals
    G03951644Courtesy of FORD MOTOR CO.
  90. Install the direct clutch hub bearing shim and an additional shim to increase the total shim thickness to specification shown or greater.
    Fig 66: Installing Direct Clutch Hub Bearing Shim And An Additional Shim
    G03951645Courtesy of FORD MOTOR CO.
  91. Measure the gap between the transaxle end cover and the transaxle assembly.
    1. Position the transaxle end cover on the transaxle assembly.
    2. Measure the gap between the transaxle end cover and the transaxle assembly.
    Fig 67: Measuring Gap Between Transaxle End Cover And Transaxle Assembly
    G03951646Courtesy of FORD MOTOR CO.
  92. Remove the transaxle end cover.
    Fig 68: Removing Transaxle End Cover
    G03951647Courtesy of FORD MOTOR CO.
  93. NOTE: The clearance for the direct clutch bearing shim is 0.05-0.50 mm (0.002-0.020 in).
    NOTE: The correct shim thickness is between minimum and maximum.
    Fig 69: Installing Correct Direct Clutch Hub Bearing Shim
    G03951395Courtesy of FORD MOTOR CO.
  94. Choose and install the correct direct clutch hub bearing shim:
    • Line 1: total amount of shim thickness used during transaxle end cover mock up.
    • Line 2: measure the gap between transaxle end cover and transaxle case.
    • Line 3: subtract Line 2 from Line 1 to obtain the actual clearance.
    • Line 4: subtract 0.05 mm (0.002 in) from Line 3 for maximum shim thickness.
    • Subtract 0.50 mm (0.020 in) from line 3 for the minimum thickness shim.
  95. CAUTION: Applying too much sealer in the area of the fluid return holes may cause the fluid return holes to become blocked and cause a transmission failure.
    Fig 70: Applying Bead Of Sealer To Transaxle End Cover
    G03951649Courtesy of FORD MOTOR CO.
  96. Apply a 1 mm (0.04 in) bead of sealer to the transaxle end cover.
  97. Install the transaxle end cover.
    Fig 71: Installing Transaxle End Cover
    G03951650Courtesy of FORD MOTOR CO.
  98. Using the special tool, collapse the intermediate/overdrive band to specification, then back out three and a half turns.
    Fig 72: Collapsing Intermediate/Overdrive Band To Specification Using Special Tool
    G03951651Courtesy of FORD MOTOR CO.
  99. Holding the special tool, lightly seat the nut against the transaxle case, then remove the special tool without changing the relationship of the nut on the bolt.
    Fig 73: Seating Nut Against Transaxle Case
    G03951652Courtesy of FORD MOTOR CO.
  100. Using the special tool, select an intermediate/overdrive band bolt that measures from the end of the bolt to the face of the nut as shown.
    Fig 74: Measuring From End Of Bolt To Face Of Nut
    G03951653Courtesy of FORD MOTOR CO.
  101. NOTE: Apply thread sealer to the bolt.
    Fig 75: Installing Intermediate/Overdrive Band Anchor Bolt
    G03951654Courtesy of FORD MOTOR CO.
  102. Install the intermediate/overdrive band anchor bolt.
  103. Rotate the transaxle 180 degrees.
  104. Install the forward clutch hub.
    Fig 76: Installing Forward Clutch Hub
    G03951655Courtesy of FORD MOTOR CO.
  105. Install the forward clutch assembly.
    Fig 77: Installing Forward Clutch Assembly
    G03951656Courtesy of FORD MOTOR CO.
  106. Install the forward clutch thrust washer.
    Fig 78: Installing Forward Clutch Thrust Washer
    G03951391Courtesy of FORD MOTOR CO.
  107. Lubricate and install new fluid pump seals.
    Fig 79: Installing Fluid Pump Seals
    G03951390Courtesy of FORD MOTOR CO.
  108. Install the fluid pump (do not force the pump down at this time).
    Fig 80: Installing Fluid Pump
    G03951659Courtesy of FORD MOTOR CO.
  109. Install the fluid pump bolts.
    • Use the bolts to seat the fluid pump.
    • Tighten bolts in an alternating sequence.
    Fig 81: Tightening Fluid Pump Bolts In An Alternating Sequence
    G03951660Courtesy of FORD MOTOR CO.
  110. Install the output shaft speed (OSS) sensor.
    Fig 82: Tightening Output Shaft Speed (OSS) Sensor Bolts
    G03951661Courtesy of FORD MOTOR CO.
  111. NOTE: Apply thread sealer to the bolt.
    Fig 83: Installing Turbine Shaft Speed (TSS) Sensor
    G03951662Courtesy of FORD MOTOR CO.
  112. Install the turbine shaft speed (TSS) sensor.
  113. Using the special tool, align the TR sensor and tighten the bolts.
    Fig 84: Aligning TR Sensor And Tightening Bolts Using Special Tool
    G03951663Courtesy of FORD MOTOR CO.
  114. CAUTION: Do not use air tools on this bolt. Hold the manual control lever while tightening the manual control lever bolt.
    Fig 85: Installing Manual Control Lever Bolt
    G03951664Courtesy of FORD MOTOR CO.
  115. Install the manual control lever.
  116. Install the torque converter.
    Fig 86: Installing Torque Converter Using Special Tool
    G03951665Courtesy of FORD MOTOR CO.
  117. Using the special tool, secure the torque converter.
    Fig 87: Installing Torque Converter Using Special Tool
    G03951666Courtesy of FORD MOTOR CO.