LEMON Manuals: Even more car manuals for everyone: 1960-2025
Home >> Ford >> 2005 >> Mustang V8-4.6L VIN H >> Repair and Diagnosis >> Specifications >> Mechanical Specifications >> Engine >> Cylinder Block Assembly >> Connecting Rod, Engine
April 5, 2026: LEMON Manuals is launched! Read the announcement.

Connecting Rod, Engine

Connecting rod to pin clearance 0.009-0.023 mm (0.0004 inch)
Connecting rod pin bore diameter 22.012-22.024 mm (0.8666-0.8671 inch)
Connecting rod length (center to center) 150.7 mm (5.933 inch)
Connecting rod maximum + allowed bend 0.038 mm (0.0015 inch)
Connecting rod maximum + allowed twist 0.05 mm (0.0020 inch)
Connecting rod bearing bore diameter (with assembled liners) 53.049-53.027 mm (2.0885-2.0877 inch)
Connecting rod bearing to crankshaft clearance 0.024-0.066 mm (0.0009-0.0026 inch)
Connecting rod side clearance 0.5-0.15 mm (0.02-0.006 inch)





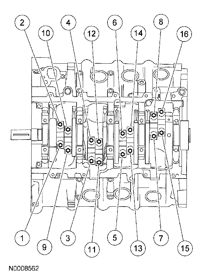
Connecting rod bolts

Tighten the bolts in 2 stages, in the sequence shown.
^ Stage 1: Tighten to 43 Nm (32 ft. lbs.)
^ Stage 2: Tighten an additional 105 degree.