LEMON Manuals: Even more car manuals for everyone: 1960-2025
Home >> Ford >> 2005 >> Mustang V8-4.6L VIN H >> Repair and Diagnosis >> Specifications >> Mechanical Specifications >> Engine >> Cylinder Head Assembly >> System Specifications
April 5, 2026: LEMON Manuals is launched! Read the announcement.

System Specifications





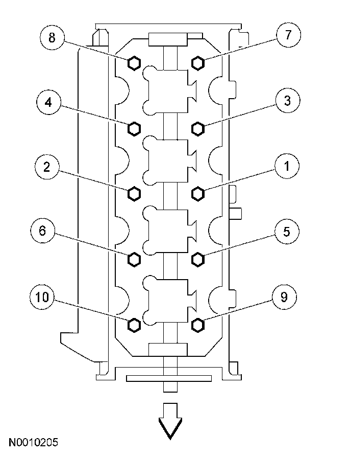
Cylinder head bolts

NOTE: RH shown, LH similar.

CAUTION: The cylinder head bolts must be discarded and new bolts installed. They are tighten to yield designed and cannot be reused.

Install the cylinder head bolts loosely.
Tighten the bolts in 3 stages, in the sequence shown.
^ Stage 1: Tighten to 40 Nm (30 ft. lbs.).
^ Stage 2: Tighten an additional 90 degrees.
^ Stage 3: Tighten an additional 90 degrees.





Intake manifold bolts
Tighten in the sequence shown to 10 Nm (89 inch lbs.)





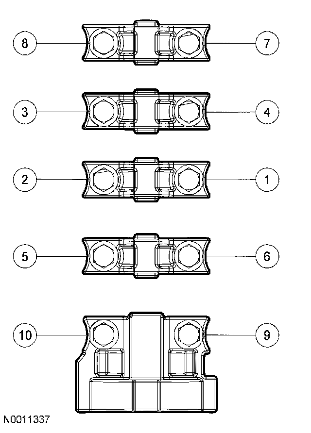
RH Camshaft bolts
Tighten the bolts in the sequence shown.
^ Tighten to 10 Nm (89 inch lbs.)





LH Camshaft bolts
Tighten the bolts in the sequence shown.
^ Tighten to 10 Nm (89 inch lbs.)

Tighten the camshaft phaser bolt in 2 stages:
^ Stage 1: Tighten to 40 Nm (30 ft. lbs.)
^ Stage 2: Tighten an additional 90 decrees





LH Exhaust manifold nuts
Tighten the nuts in the sequence shown to 25 Nm (18 ft. lbs.)





RH Exhaust manifold nuts
Tighten the nuts in the sequence shown to 25 Nm (18 ft. lbs.)